СИСТЕМА ВПУСКА


  1. CONSTRUCTION


    1. A variable nozzle vane type turbocharger consists primarily of a turbine, nozzle vane, unison ring, nozzle ring, and turbocharger variable nozzle motor (DC motor and nozzle vane position sensor).

    2. This turbocharger has realized improvements in low-speed torque, fuel consumption, and emission reduction. Both toque improvement at low speed and low fuel consumption are achieved by adopting a small size turbocharger because it enables high boost pressure at low speed. Response for boost pressure change is improved by changing control from an actuator to a DC motor.

      A00XRGFC01
      *1 DC Motor *2 Nozzle Vane Position Sensor
      *3 Nozzle Vane *4 Turbine Wheel
      *5 Impeller Wheel - -
    3. The exhaust gas from the exhaust manifold goes through the nozzle vane inside the turbocharger housing, and flows to the exhaust pipe through the turbine. The speed of the turbine (supercharging pressure) differs depending on the flow velocity of the exhaust gas going through the turbine and the flow velocity of the exhaust gas is controlled by nozzle vane the opening.

      A00XRI1C01
      *1 Turbine *2 Impeller
      *3 Nozzle Vane - -
      *a Exhaust Gas *b Intake Air
      *c to Exhaust Pipe - -
  2. OPERATION


    1. At Low Load Range or Low Speed Range


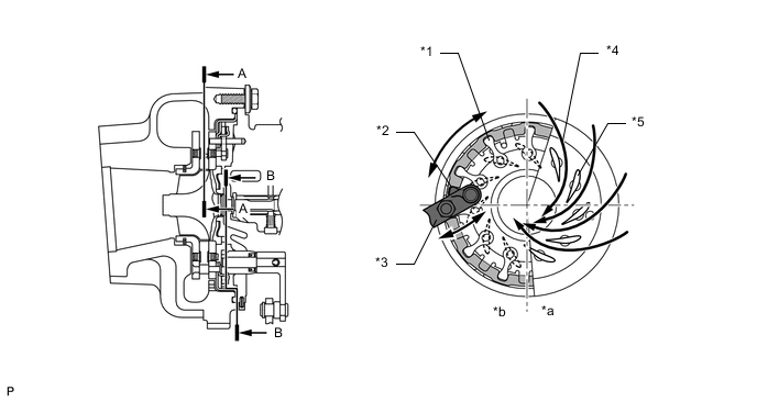
      1. When the engine is running in a low speed range, the turbocharger variable nozzle motor presses down the linkage by a signal from the ECM.

      2. This results in increasing the velocity of the exhaust gas flowing to the turbine, as well as the speed of the turbine. As a result, torque is improved when the engine is running at low speeds.

        A00XRDEC01
        *1 Nozzle Link Plate *2 Drive Plate
        *3 Drive Lever *4 Exhaust Gas Flow
        *5 Nozzle Vane - -
        *a A - A Cross Section *b B - B Cross Section
    2. At High Load Range or High Speed Range


      1. When the engine is running in a medium-to-high speed range, the nozzle vanes are opened and the discharging pressure is maintained at a certain level.

        A00XRMYC01
        *1 Nozzle Link Plate *2 Drive Plate
        *3 Drive Lever *4 Exhaust Gas Flow
        *5 Nozzle Vane - -
        *a A - A Cross Section *b B - B Cross Section