СИСТЕМА СНИЖЕНИЯ ТОКСИЧНОСТИ ОТРАБОТАВШИХ ГАЗОВ


  1. НАЗНАЧЕНИЕ ОСНОВНЫХ УСТРОЙСТВ


    1. В следующей таблице перечислены основные узлы и детали системы снижения токсичности отработавших газов двигателя 1NR-FE.

      Устройство Функция
      TWC Трехкомпонентные каталитические нейтрализаторы (TWC) снижают токсичность отработавших газов путем окисления CO и CH, а также снижения содержания NOx, в отработавших газах.
      Кислородный датчик Определяет концентрацию кислорода в отработавших газах, измеряя ЭДС на своих зажимах.
      Датчик состава топливовоздушной смеси Определяет концентрацию оставшегося кислорода в отработавших газах. Его выходной сигнал пропорционален соотношению воздух-топливо двигателя.
      Датчик разрежения E.F.I. в сборе Содержит полупроводниковые элементы для определения давления во впускном коллекторе.
      ECM
      • Регулирует объем потребляемого топлива в основном по сигналу датчика состава топливовоздушной смеси с небольшими поправками по сигналу кислородного датчика. Эта система оптимизирует соотношение воздух-топливо.

      • Регулирует объем РОГ в соответствии с сигналами различных датчиков.

      Клапан РОГ в сборе Открывается и закрывается в соответствии с сигналами от ECM и регулирует расход отработавших газов в перепускном канале РОГ.
      Сапун в сборе Открывает и закрывает клапан за счет разрежения, создаваемого во впускном коллекторе, и регулирует расход картерных газов.
      Электровакуумный клапан продувки Открывает и закрывает клапан в соответствии с сигналом от ECM и регулирует расход топливных испарений.
      Угольный адсорбер Содержит активированный уголь, поглощающий пары топлива, которые возникают в топливном баке.
  2. УПРАВЛЕНИЕ В СИСТЕМЕ


    1. Управление рециркуляцией отработавших газов


      1. В данной системе небольшое количество инертного газа подается во впускной канал, что уменьшает максимальную температуру в камере сгорания двигателя.

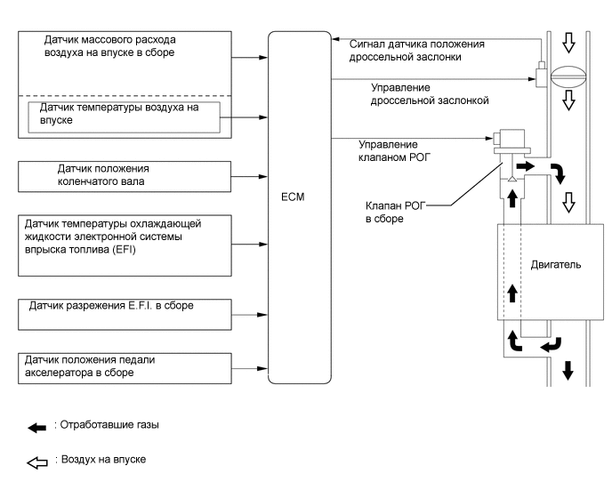
      2. Определяя режим работы двигателя и фактическую степень открывания клапана РОГ, ECM управляет клапаном РОГ и электродвигателем привода дроссельной заслонки, и, таким образом, регулирует количество отработавших газов.

      3. Клапан РОГ регулирует расход отработавших газов через каталитический нейтрализатор в выпускном коллекторе и возвращает газы во впускной коллектор.

        A00XRK1E01
    2. Система вентиляции картерных газов


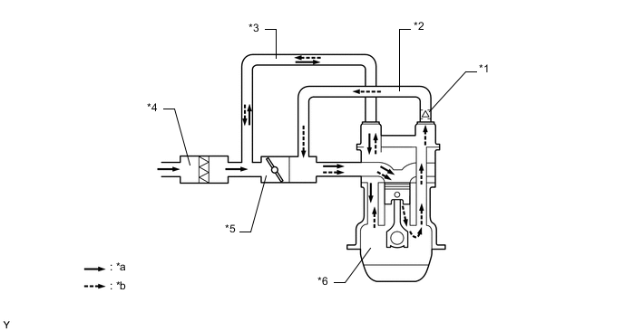
      1. За счет подачи картерных газов с большим содержанием CH на впуск воздуха и последующего их сжигания система уменьшает токсичность отработавших газов. Объем возвращаемых картерных газов регулируется в соответствии с режимом двигателя, что уменьшает количество уносимого моторного масла и частоту вращения коленчатого вала на холостом ходу.

      2. Через канал сапуна картерные газы возвращаются в зону после дроссельной заслонки в соответствии с разрежением во впускном коллекторе.

      3. При малой нагрузке канал между крышкой головки блока цилиндров и зоной перед дроссельной заслонкой повышает чистоту воздуха в картере за счет введения свежего воздуха, а при высокой нагрузке этот канал обеспечивает циркуляцию картерных газов вместе с сапуном в сборе вследствие разрежения во впускном коллекторе.

      4. Маслоотделитель расположен в крышке головки блока цилиндров. позволяет сделать двигатель более компактным.

        A00XRIOC01
        *1 Сапун в сборе *2 Шланг вентиляции
        *3 Шланг вентиляции № 2 *4 Корпус воздушного фильтра в сборе
        *5 Корпус дроссельной заслонки с электродвигателем в сборе *6 Картер
        *a Наружный воздух *b Картерные газы