ТОПЛИВНАЯ СИСТЕМА


  1. OUTLINE


    1. In the common-rail system, highly pressurized fuel supplied by the supply pump assembly is stored in the common-rail assembly, and the ECM sends signals to the injectors in order to control the injection timing and injection volume.

    2. A common-rail system is used in the fuel injection system.

    3. A CP4 type supply pump assembly, which is compact and lightweight, is used.

    4. An injector compensation value is printed on the injector to achieve high-precision control.

    5. Quick connectors are used to connect the fuel pipe with the fuel tube for excellent serviceability.

    6. The multiplex layered plastic fuel tank assembly is used for weight reduction. This fuel tank consists of 6 layers of 4 types of materials.

    7. A fuel filter assembly with a fuel heater is used.

    8. A fuel pump which feeds fuel from the fuel tank assembly to the supply pump assembly is used. The fuel pump is installed in the fuel tank assembly.

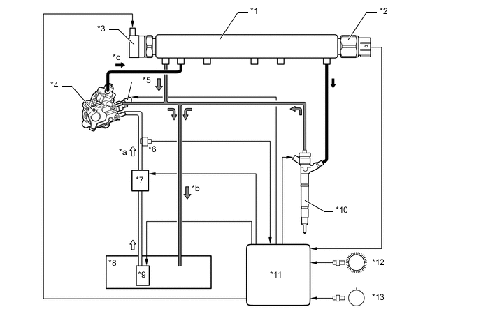
      A01KVRDC01
      *1 Common-rail Assembly *2 Fuel Pressure Sensor
      *3 Pressure Discharge Valve *4 Supply Pump Assembly
      *5 Fuel Quantity Control Valve *6 Fuel Temperature Sensor
      *7

      Fuel Filter Assembly


      • Fuel Heater

      *8 Fuel Tank Assembly
      *9

      Fuel Suction Tube with Pump and Gauge Assembly


      • Fuel Pump

      *10 Injector Assembly
      *11 ECM *12 Crankshaft Position Sensor (NE Signal)
      *13 Camshaft Position Sensor (G Signal) - -
      *a Fuel (Low Pressure) *b Fuel (Return)
      *c Fuel (High Pressure) - -