БЛОК ДВИГАТЕЛЯ


  1. КОНСТРУКЦИЯ


    1. Применен компактный облегченный алюминиевый блок цилиндров с расстоянием 7 мм (0,276 дюйма) между отверстиями цилиндров.

    2. В канале для картерных газов внутри блока цилиндров имеется маслоотделитель. Он отделяет моторное масло от картерных газов, замедляя ухудшение характеристик и снижая расход моторного масла.

    3. Чтобы улучшить сцепление гильз с алюминиевым блоком цилиндров, применяются шероховатые гильзы, наружные поверхности которых имеют неровную структуру. Улучшенное сцепление обеспечивает повышение теплопередачи, в результате чего снижается общая температура, и ослабляется тепловая деформация отверстий цилиндров. Расточка такого блока цилиндров невозможна.

      A0121FYC01
      *1 Маслоотделитель *2 Блок цилиндров
      *3 Шероховатая гильза (шероховатая наружная поверхность литой гильзы) *4 Вентиляционный кожух № 1 (крышка маслоотделителя)
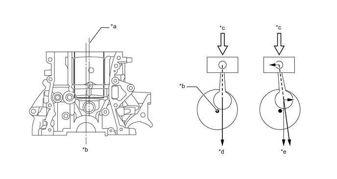
    4. Вследствие использования смещенного коленчатого вала центры отверстий цилиндров смещены на 8 мм (0,315 дюйма) в направлении впуска по отношению к оси коленчатого вала. За счет этого уменьшается боковое усилие, действующее на стенки цилиндров при максимальном давлении сгорания, что способствует экономии топлива.

      A0121HJC03
      *a Осевая линия отверстия *b Осевая линия коленчатого вала
      *c Максимальное давление *d Смещенный коленчатый вал
      *e Несмещенный коленчатый вал - -