БЛОК ДВИГАТЕЛЯ


  1. КОНСТРУКЦИЯ


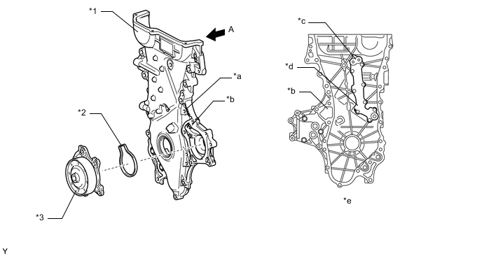
    1. Применяется литая алюминиевая крышка цепного или ременного привода газораспределительного механизма.

    2. Крышка цепного или ременного привода газораспределительного механизма имеет интегрированную конструкцию и содержит элементы системы охлаждения (насос системы охлаждения двигателя и канал охлаждающей жидкости). Благодаря такой объединенной конструкции сокращается количество деталей и уменьшается вес.

    3. Для упрощения конструкции системы смазки в крышке цепного или ременного привода газораспределительного механизма предусмотрен канал для масла.

    4. В крышку цепного или ременного привода газораспределительного механизма вмонтирована масляная форсунка.

    5. Кроме того, крышка цепного или ременного привода газораспределительного механизма снабжена индикатором натяжения приводного ремня.

      A00XRMJC01
      *1 Крышка цепного или ременного привода газораспределительного механизма в сборе *2 Прокладка насоса системы охлаждения
      *3 Насос системы охлаждения двигателя в сборе - -
      *a Индикатор натяжения приводного ремня *b Канал охлаждающей жидкости
      *c Канал для масла *d Масляная форсунка цепного привода газораспределительного механизма
      *e Вид A - -