БЛОК ДВИГАТЕЛЯ


  1. КОНСТРУКЦИЯ


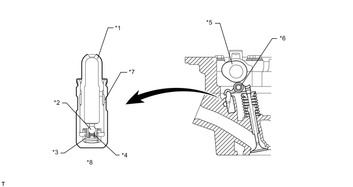
    1. В центре вращения каждого рычага привода клапана № 1 располагается гидравлический механизм регулировки зазора в приводе клапана. Механизм регулировки зазора в приводе клапана состоит, прежде всего, из плунжера, пружины плунжера, запорного шарика и пружины запорного шарика.

    2. Механизм регулировки зазора в приводе клапана приводится в действие моторным маслом, пружиной плунжера и пружиной запорного шарика. Давление масла и сила пружины, действующая на плунжер, прижимают рычаг привода клапана № 1 к кулачку, регулируя зазор в механизме привода клапанов. Это позволяет ослабить шум двигателя, создаваемый во время открывания и закрывания клапана.

      A00XR9PC02
      *1 Плунжер *2 Запорный шарик
      *3 Пружина плунжера *4 Пружина запорного шарика
      *5 Кулачок *6 Рычаг привода клапана № 1
      *7 Канал для масла *8 Механизм регулировки зазора в приводе клапана в сборе

      Tech Tips

      В связи с применением механизмов регулировки зазора в сборе регулировать зазор в приводах клапанов не требуется.