БЛОК ДВИГАТЕЛЯ


  1. КОНСТРУКЦИЯ


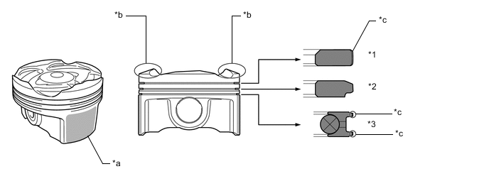
    1. Поршни изготавливаются из алюминиевого сплава, придающего им легкость и компактность.

    2. Головка блока цилиндров имеет коническую завихряющую форму, обеспечивающую эффективное сгорание топлива.

    3. Используются наполовину плавающие поршневые пальцы.

    4. Для снижения трения и уменьшения расхода топлива применяются поршневые кольца низкого напряжения.

    5. Для снижения трения и массы конструкции применяются узкие поршневые кольца.

    6. Компрессионное кольцо № 1 со скосом на внутренней поверхности обеспечивает снижение количества картерных газов.

    7. Поверхности маслосъемного кольца и компрессионного кольца № 1 имеют покрытие, нанесенное осаждением из паров, что улучшает их износостойкость.

    8. Для снижения потерь от трения юбка поршня имеет пластмассовое покрытие.

      A00XRA1C02
      *1 Компрессионное кольцо № 1 *2 Компрессионное кольцо № 2
      *3 Маслосъемное кольцо - -
      *a Полимерное покрытие *b Коническая завихряющая форма
      *c Покрытие, нанесенное осаждением из паров - -