БЛОК ДВИГАТЕЛЯ


  1. КОНСТРУКЦИЯ


    1. Применен компактный облегченный алюминиевый блок цилиндров с расстоянием 7 мм (0,276 дюйма) между отверстиями цилиндров.

    2. Чтобы улучшить сцепление гильз с алюминиевым блоком цилиндров, применяются шероховатые гильзы, наружные поверхности которых имеют неровную структуру. Улучшенное сцепление обеспечивает повышение теплопередачи, в результате чего снижается общая температура, и ослабляется тепловая деформация отверстий цилиндров. Расточка такого блока цилиндров невозможна.

      A00XRUJC01
      *1 Шероховатая гильза - -
      *a 7 мм (0.276 дюйма) *b Шероховатая наружная поверхность литой гильзы
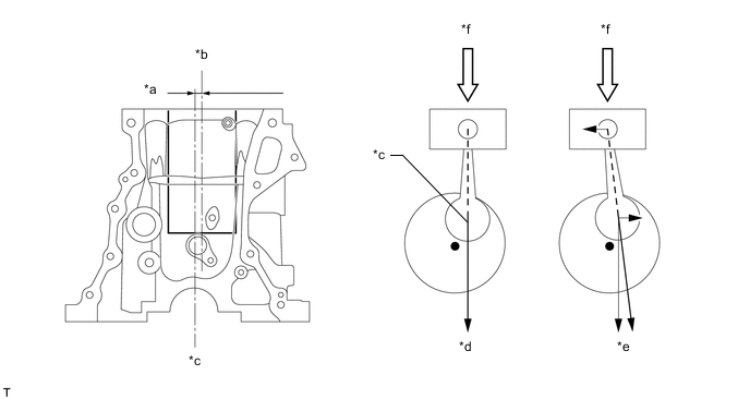
    3. Вследствие использования смещенного коленчатого вала центры отверстий цилиндров смещены на 8 мм (0,315 дюйма) в направлении выпуска по отношению к оси коленчатого вала. За счет этого уменьшается боковое усилие, действующее на стенки цилиндров при максимальном давлении сгорания. Как следствие, снижается расход топлива.

      A00XRRMC01
      *a 8 мм (0,315 дюйма) *b Осевая линия отверстия
      *c Осевая линия коленчатого вала *d Смещенный коленчатый вал
      *e Несмещенный коленчатый вал *f Максимальное давление
    4. В блоке цилиндров установлена распорная деталь водяной рубашки блока цилиндров.

    5. Распорная деталь водяной рубашки блока цилиндров блокирует поток охлаждающей жидкости в центре водяных рубашек, направляя жидкость выше и ниже отверстий цилиндров, и обеспечивает равномерное распределение температуры. Это позволяет снизить вязкость моторного масла, которое выполняет функцию смазки между стенками отверстий и поршнями, и, тем самым, уменьшить трение.

      A00XRACC02
      *1 Распорная деталь водяной рубашки блока цилиндров *2 Блок цилиндров
      A00XRCH Передняя сторона двигателя - -