БЛОК ДВИГАТЕЛЯ


  1. КОНСТРУКЦИЯ


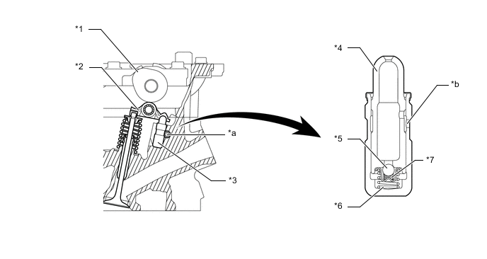
    1. Механизм регулировки зазора в приводе клапана в сборе располагается в центре вращения рычага привода клапана № 1 и состоит, главным образом, из плунжера, пружины плунжера, запорного шарика и пружины запорного шарика.

    2. Для приведения в действие механизма регулировки зазора используются давление масла, подаваемого головкой блока цилиндров, и встроенная пружина. Давление масла и сила пружины, действующая на плунжер, прижимают роликовый рычаг привода клапана № 1 в сборе к кулачку, регулируя зазор в приводе, создаваемый во время открывания и закрывания клапана. Как следствие, ослабляется шум двигателя.

      A001MT2C01
      *1 Кулачок *2 Рычаг привода клапана № 1
      *3 Механизм регулировки зазора в приводе клапана в сборе *4 Плунжер
      *5 Запорный шарик *6 Пружина плунжера
      *7 Пружина запорного шарика - -
      *a Канал для масла *b Смазочное отверстие