AIR CONDITIONING SYSTEM


  1. CONSTRUCTION


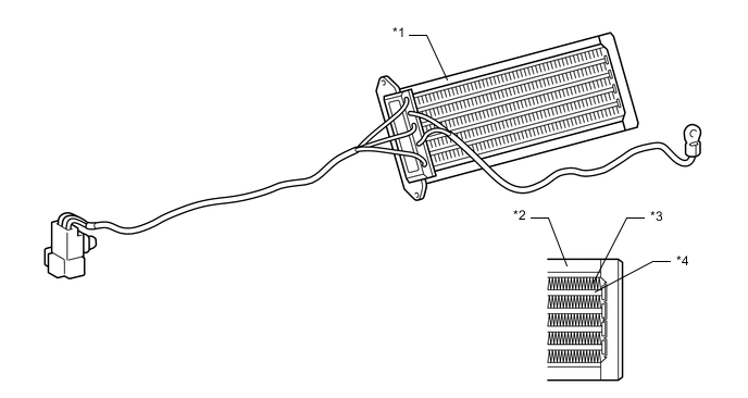
    1. The PTC heater (quick heater assembly) is located above the heater radiator unit sub-assembly in the air conditioning unit.

    2. The PTC heater (quick heater assembly) consists of Positive Temperature Coefficient (PTC) elements, aluminum fins and brass plates. When current is applied to the PTC heater (quick heater assembly), it generates heat to warm the air that passes through the unit.

      A00XRO5C03
      *1 PTC Heater (Quick Heater Assembly) *2 Brass Plate
      *3 Aluminum Fin *4 PTC Element