AIR CONDITIONING SYSTEM


  1. CONSTRUCTION


    1. Models with 1ND-TV engine and Sedan Models with 1ZR-FAE engine, 2ZR-FE engine or 1NR-FE engine


      1. A sub-cool condenser is used. This is a multi-flow condenser consisting of 3 portions: a condensing portion, a super-cooling portion and a gas-liquid separator (modulator) all integrated together. This cooler condenser (condenser with receiver assembly) uses a sub-cool cycle for its cooling cycle system to improve heat-exchanging efficiency.

      2. In the sub-cool cycle, after the refrigerant passes through the condensing portion of the cooler condenser (condenser with receiver assembly), both the liquid refrigerant and the gaseous refrigerant that could not be liquefied are cooled again in the super-cooling portion. Thus, the refrigerant is sent to the No. 1 cooler evaporator sub-assembly in an almost completely liquefied state.

        A01KVDAC01
        *1 Modulator *2 Desiccant
        *3 Filter *4 Super-cooling Portion
        *5 Condensing Portion - -
        A01KV4F Gaseous Refrigerant A01KVT7 Liquid Refrigerant
    2. Hatchback and Wagon Models with 1NR-FE engine, 1ZR-FAE engine, 8NR-FTS engine or 1WW engine


      1. A Global Inner-fin Condenser (GIC) is provided. This condenser has tubes with high-density inner fins, and outer fins which allows the adoption of thinner cores, contributing to the efficiency of cooling performance.

        A01KVOIC03
        *1 Inner Fin Tube *2 Outer Fin
        *3 Fin Louver - -
        *a A-A Cross Section *b The illustrations shown are examples only.
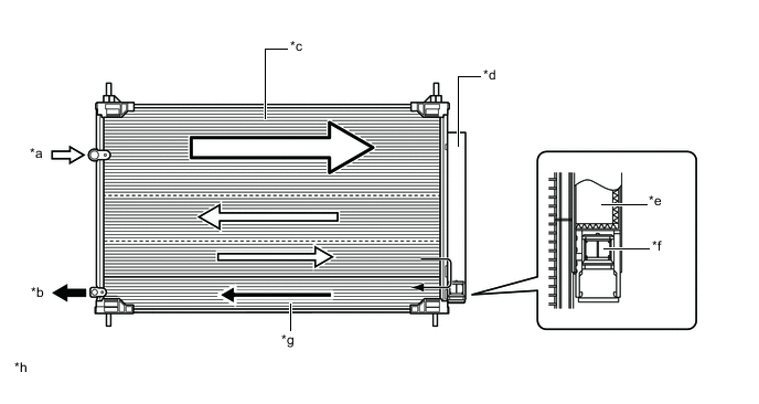
      2. The cooler condenser assembly consists of 2 cooling portions: a condensing portion and a super-cooling portion. These portions are integrated with a gas-liquid separator (modulator). This cooler condenser assembly uses a sub-cool cycle that offers excellent heat-exchange performance.

      3. In the sub-cool cycle, after the refrigerant passes through the condensing portion of the condenser, both the liquid refrigerant and the gaseous refrigerant that could not be liquefied are cooled again in the super-cooling portion. Thus, the refrigerant is sent to the evaporator in an almost completely liquefied state.

        A01KV8TC03
        *a Gaseous Refrigerant *b Liquid Refrigerant
        *c Condensing Portion *d Modulator
        *e Cooler Dryer *f Filter
        *g Super-cooling Portion *h The illustrations shown are examples only.