EMISSION CONTROL SYSTEM


  1. FUNCTION OF MAIN COMPONENTS


    1. The main components of the 1ZR-FAE emission control system are as follows.

      Component Function
      TWC The TWCs reduce emissions by oxidation of CO and HC in exhaust gas and reduction of NOx.
      Oxygen Sensor Detects the oxygen concentration in the exhaust emission by measuring the electromotive force which is generated in the sensor itself.
      Air fuel Ratio Sensor Is used to determine the concentration of oxygen remaining in the exhaust gas. Has a characteristic where its output is proportional to the engine air fuel ratio.
      E. F. I. Vacuum Sensor Assembly Detects the intake manifold pressure. For details, see the 1ZR-FAE Engine Control.
      ECM Controls the volume of fuel consumed based primarily on the signal from the air fuel ratio sensor, with minor corrections based on the signal from the oxygen sensor. This control optimizes the air fuel ratio.
      Ventilation Valve Sub-assembly Opens and closes the valve using vacuum generated in the intake manifold and controls the flow rate of the blowby gas.
      Purge VSV Open and closes the valve based on signals from ECM and controls the flow rate of the evaporative emission.
      Charcoal Canister Contains activated charcoal to absorb the fuel vapor created in the fuel tank assembly.
  2. SYSTEM CONTROL


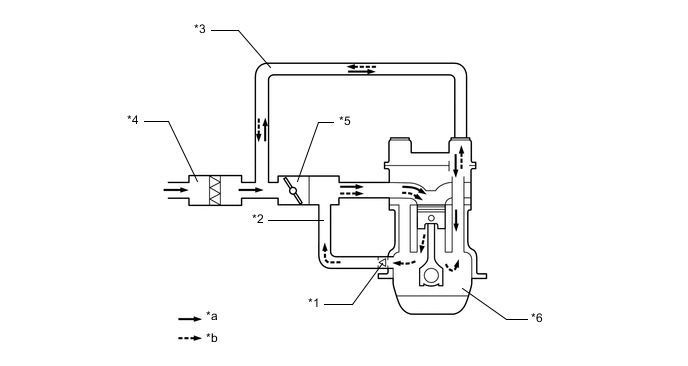
    1. Blowby Gas Ventilation System


      1. By introducing blowby gas that has a large amount of HC into the air intake and burning it again, the system attempts to enhance the emission performance. Returning blowby gas volume is regulated to the appropriate amount corresponding to the engine operating conditions, reducing the engine oil volume consumed and engine idle speed.

      2. The ventilation valve sub-assembly passage returns blowby gas into the area after the throttle valve in accordance with the intake manifold vacuum.

      3. When load is low, the passage from the cylinder head cover sub-assembly to the area before the throttle valve increases the air purification performance inside the crankcase by introducing fresh air, and when load is high, the passage circulates the blowby gas together with the ventilation valve sub-assembly side passage due to the intake manifold vacuum.

      4. An oil separator is located in the cylinder block sub-assembly. This contributes to the compactness of the entire engine.

        A00XRDDC01
        *1 Ventilation Valve Sub-assembly *2 Ventilation Hose
        *3 No. 2 Ventilation Hose *4 Air Cleaner Case Sub-assembly
        *5 Throttle Body Assembly *6 Crankcase
        *a Fresh Air *b Blowby Gas