EMISSION CONTROL SYSTEM


  1. FUNCTION OF MAIN COMPONENTS


    1. The main components of the 1NR-FE emission control system are as follows.

      Component Function
      TWC The TWCs reduce emissions by oxidation of CO and HC in exhaust gas and reduction of NOx.
      Oxygen Sensor Detects the oxygen concentration in the exhaust emission by measuring the electromotive force which is generated in the sensor itself.
      Air fuel Ratio Sensor Is used to determine the concentration of oxygen remaining in the exhaust gas. Has a characteristic where its output is proportional to the engine air fuel ratio.
      E. F. I. Vacuum Sensor Assembly Uses built-in semiconductors to detect the intake manifold pressure.
      ECM
      • Controls the volume of fuel consumed based primarily on the signal from the air fuel ratio sensor, with minor corrections based on the signal from the oxygen sensor. This control optimizes the air fuel ratio.

      • Regulates the EGR volume in accordance with the various sensor signals.

      EGR Valve Assembly Opens and closes based on signals from the ECM and controls the flow rate of the exhaust gas in the EGR bypass.
      Ventilation Valve Sub-assembly Opens and closes the valve using vacuum generated in the intake manifold and controls the flow rate of the blowby gas.
      Purge VSV Open and closes the valve based on signal from ECM and controls the flow rate of the evaporative emission.
      Charcoal Canister Contains activated charcoal to absorb the fuel vapor created in the fuel tank assembly.
  2. SYSTEM CONTROL


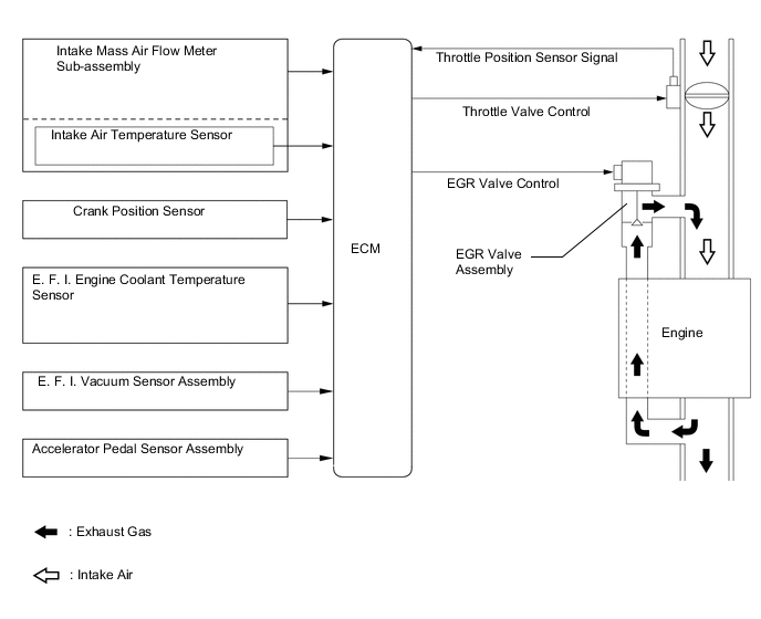
    1. EGR Control


      1. In this system, a small amount of inert gas is allowed to flow into the intake passage, reducing the peak temperature in the engine combustion chamber.

      2. By sensing the engine driving conditions and actual amount of the EGR valve opening, the ECM operates the EGR valve and throttle control motor, and regulates the amount of exhaust gas.

      3. The EGR valve regulates the flow volume of some exhaust gas passing through the exhaust manifold converter sub-assembly and returns the gas to the intake manifold.

        A00XRK1E01
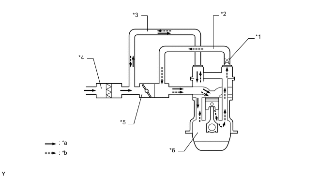
    2. Blowby Gas Ventilation System


      1. By introducing blowby gas that has a large amount of HC into the air intake and burning it again, the system attempts to enhance the emission performance. Returning blowby gas volume is regulated to the appropriate amount corresponding to the engine operating conditions, reducing the engine oil volume consumed and engine idle speed.

      2. The ventilation valve sub-assembly passage returns blowby gas into the area after the throttle valve in accordance with the intake manifold vacuum.

      3. When load is low, the passage from the cylinder head cover sub-assembly to the area before the throttle valve increases the air purification performance inside the crankcase by introducing fresh air, and when load is high, the passage circulates the blowby gas together with the ventilation valve sub-assembly side passage due to the intake manifold vacuum.

      4. An oil separator is located in the cylinder head cover sub-assembly. This contributes to the compactness of the entire engine.

        A00XRIOC01
        *1 Ventilation Valve Sub-assembly *2 Ventilation Hose
        *3 No. 2 Ventilation Hose *4 Air Cleaner Case Sub-assembly
        *5 Throttle Body with Motor Assembly *6 Crankcase
        *a Fresh Air *b Blowby Gas