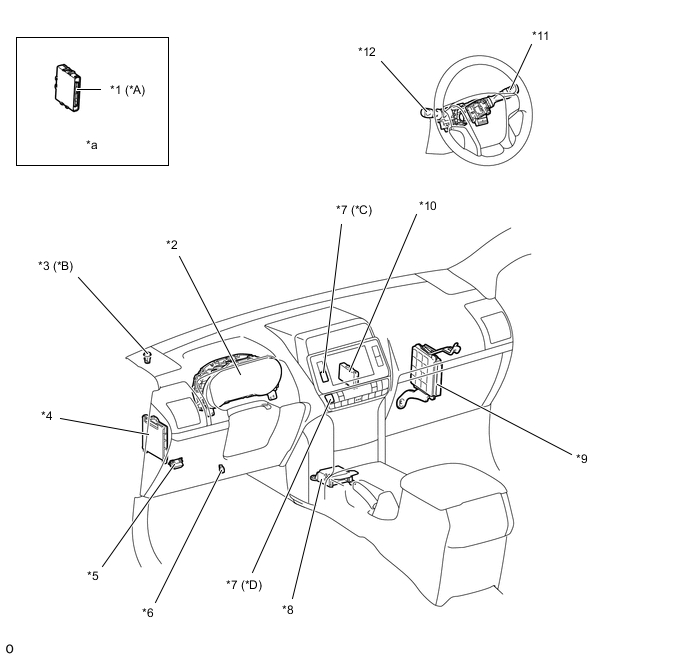
| *A | Для моделей с системой посадки и запуска | *B | Для моделей с системой автоматического управления освещением |
| *C | Для моделей с двигателем 5L-E | *D | Кроме моделей с двигателем 5L-E |
| *1 | ЭБУ сертификации (ЭБУ электронного ключа зажигания в сборе) | *2 | Щиток приборов в сборе |
| *3 | Датчик управления освещением | *4 | Главный ЭБУ кузова (бортовой ЭБУ сети мультиплексной связи) |
| *5 | DLC3 | *6 | Выключатель стоп-сигналов в сборе |
| *7 | Выключатель аварийной сигнализации | *8 | Центральный блок управления системы SRS |
| *9 | ECM | *10 | ЭБУ центрального сетевого шлюза (ЭБУ сетевого шлюза) |
| *11 | Переключатель стеклоочистителя ветрового стекла в сборе | *12 | Переключатель ближнего/дальнего света фар в сборе |
| *a | указания по установке детали см. в бюллетене технического обслуживания. | - | - |
| *A | Для моделей со светодиодными фарами | *B | Для моделей с автоматической системой управления уровнем фар |
| *1 | Правый электродвигатель системы управления уровнем фар | *2 | ЭБУ правой фары № 1 в сборе |
| *3 | Правый передний датчик частоты вращения | *4 | Левый электродвигатель системы управления уровнем фар |
| *5 | ЭБУ левой фары № 1 в сборе | *6 | Левый передний датчик частоты вращения |
| *7 | Гидравлический усилитель тормозной системы в сборе
|
*8 | Левый задний датчик высоты подвески в сборе |
| *9 | Левый задний датчик частоты вращения | *10 | Правый задний датчик частоты вращения |
| *11 | Правый задний датчик высоты подвески в сборе | *12 | Передняя камера распознавания объектов |
| *13 | Подогреватель камеры (кожух передней камеры распознавания объектов с подогревателем в сборе)* | - | - |
| *A | Для 3-дверных моделей | - | - |
| *1 | Замок левой передней двери с электродвигателем в сборе | *2 | Выключатель освещения проема левой передней двери в сборе |
| *3 | Выключатель освещения проема двери багажного отделения в сборе | *4 | Замок двери багажного отделения в сборе |
| *5 | Выключатель освещения проема правой передней двери в сборе | *6 | Замок правой передней двери с электродвигателем в сборе |
| *A | Для 5-дверных моделей | - | - |
| *1 | Замок левой передней двери с электродвигателем в сборе | *2 | Выключатель освещения проема левой передней двери в сборе |
| *3 | Замок левой задней двери с электродвигателем в сборе | *4 | Выключатель освещения проема левой задней двери в сборе |
| *5 | Выключатель освещения проема двери багажного отделения в сборе | *6 | Замок двери багажного отделения в сборе |
| *7 | Выключатель освещения проема правой задней двери в сборе | *8 | Замок правой задней двери с электродвигателем в сборе |
| *9 | Замок правой передней двери с электродвигателем в сборе | *10 | Выключатель освещения проема правой передней двери в сборе |