СИСТЕМА ОСВЕЩЕНИЯ

A01UKLLE04
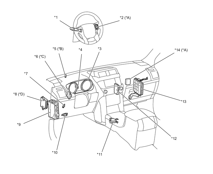
Обозначения на рисунке
*A Для моделей с щитком приборов с оригинальной системой подсветки "Optitron" *B Для моделей с системой автоматического управления освещением
*C Для моделей с автоматической системой управления уровнем фар *D Для моделей с задней пневматической подвеской
*1 Переключатель ближнего/дальнего света фар в сборе *2 Переключатель мультиинформационного дисплея (переключатель на рулевом колесе в сборе)
*3 Щиток приборов в сборе *4 ЭБУ стоп-сигналов в сборе
*5 Датчик управления освещением *6 ЭБУ устройства поворота фар в сборе
*7 Выключатель стоп-сигналов в сборе *8 ЭБУ управления подвеской
*9 Главный ЭБУ кузова (распределительный блок со стороны водителя) *10 DLC3
*11 Датчик рысканья *12 ЭБУ распределения питания
*13 ECM *14 ЭБУ переключателя помощи при движении
A01UKI3E03
Обозначения на рисунке
*A Для моделей со светодиодными фарами *B Для моделей с автоматической системой управления уровнем фар
*1 Левый электродвигатель системы управления уровнем фар *2 Правый электродвигатель системы управления уровнем фар
*3 Формирующий модуль светодиодов (ЭБУ управления освещением) *4 Правый передний датчик частоты вращения
*5 Левый передний датчик частоты вращения *6 ЭБУ системы противоскольжения
*7 Правый задний датчик высоты подвески в сборе *8 Левый задний датчик частоты вращения
*9 Правый задний датчик частоты вращения - -