СИСТЕМА СТЕКЛООЧИСТИТЕЛЕЙ И СТЕКЛООМЫВАТЕЛЕЙ


  1. УСЛОВИЯ РАБОТЫ


    1. Система очистителей фар


      1. Система очистителей фар работает следующим образом.

        Ближний свет фар Выключатель очистителя фар Выключатель стеклоомывателя (переключатель стеклоочистителя ветрового стекла в сборе)
        Вкл

        Вкл

        (в первый раз)

        Вкл

        (во второй раз и далее)

        Включен Действует Действует Не действует
        Turn Off Действует Не действует Не действует
  2. УПРАВЛЕНИЕ В СИСТЕМЕ


    1. Система стеклоочистителей и стеклоомывателей выполняет следующие функции:

      Функция Описание
      Стеклоочистители Функция регулировки интервала включения стеклоочистителей в зависимости от скорости автомобиля Когда выключатель стеклоочистителя ветрового стекла находится в положении AUTO или INT, система автоматически регулирует интервал включения стеклоочистителей в соответствии со скоростью автомобиля.
      Переключение режима работы в зависимости от скорости автомобиля Когда автомобиль остановлен, и выключатель стеклоочистителя ветрового стекла находится в положении LO, автоматически выбирается прерывистый режим работы.
      Регулировка интервала включения стеклоочистителей в прерывистом режиме работы на остановленном автомобиле Когда автомобиль остановлен, и выключатель стеклоочистителя ветрового стекла переводится в положение LO из любого другого положения, автоматически выбирается прерывистый режим работы.
      Регистрация и контроль интенсивности дождя*1 Когда выключатель стеклоочистителя ветрового стекла находится в положении AUTO, периодичность включения и скорость работы стеклоочистителей регулируется в соответствии с интенсивностью дождя, скоростью автомобиля и сигналами задних фонарей.
      Функция согласования работы стеклоочистителей и омывателя для предотвращения каплеобразования Чтобы предотвратить появление на стекле капель жидкости после выключения омывателя, система однократно приводит в действие стеклоочистители по окончании их совместной работы с омывателем.
      Стеклоомыватель Очистители фар*2 Распыляют жидкость стеклоомывателя на рассеиватели фар с целью их очистки.
      Датчик уровня жидкости в стеклоомывателе Когда объем омывающей жидкости падает ниже определенного уровня, щиток приборов предупреждает об этом водителя, отображая предупреждающее сообщение на мультиинформационном дисплее.

      • *1: для моделей с функцией регистрации и контроля интенсивности дождя

      • *2: для моделей с очистителями фар

    2. Функция регулировки интервала включения стеклоочистителей в зависимости от скорости автомобиля


      1. Когда выключатель стеклоочистителя ветрового стекла находится в положении INT (для моделей без функции регистрации и контроля интенсивности дождя) или AUTO (для моделей с функцией регистрации и контроля интенсивности дождя), интервал включения стеклоочистителей регулируется в 3 поддиапазонах в соответствии с положением автоматического регулятора и скоростью автомобиля.

      2. В пределах каждого поддиапазона интервал включения регулируется бесступенчато.

        B001BY3E10
    3. Функция переключения режима работы в зависимости от скорости автомобиля


      1. Когда выключатель стеклоочистителя ветрового стекла находится в положении LO, и автомобиль останавливается, стеклоочиститель автоматически переключается в прерывистый режим работы.

      2. Цепь реле переднего стеклоочистителя определяет, что автомобиль движется, если выполняется любое из следующих условий:


        • Скорость автомобиля превышает 0 км/час (0 миль в час).

        • Выключатель стоп-сигналов и выключатель стояночного тормоза выключены, а рычаг переключения передач находится в положении, отличном от P и N.

      3. В противном случае цепь реле переднего стеклоочистителя считает, что автомобиль неподвижен. Она управляет стеклоочистителями в соответствии со следующей временной диаграммой.

      4. Когда переключатель стеклоочистителя ветрового стекла находится в положении LO, и автомобиль останавливается, стеклоочиститель дважды приводится в действие в режиме LO. Через некоторое время он переключается в прерывистый режим работы с интервалами примерно 2,5 с. Если во время работы стеклоочистителя в прерывистом режиме автомобиль начинает движение, стеклоочиститель автоматически возвращается в режим LO.

    4. Функция регулировки интервала включения стеклоочистителей в прерывистом режиме работы на остановленном автомобиле


      1. Когда выключатель стеклоочистителя ветрового стекла устанавливается в положение LO в остановленном автомобиле, стеклоочиститель 3 раза приводится в движение в режиме LO. Затем он автоматически переключается в прерывистый режим работы с интервалом примерно 2,5 с.

      2. Если автоматический регулятор находится в положении FAST, на остановленном автомобиле стеклоочистители работают в режиме LO.

        B001BPGE09
    5. Функция регистрации и контроля интенсивности дождя


      1. Когда переключатель стеклоочистителя ветрового стекла находится в положении AUTO, функция регистрации и контроля интенсивности дождя регулирует периодичность включения стеклоочистителей в зависимости от интенсивности дождя, попадающего на ветровое стекло.

      2. Цепь реле переднего стеклоочистителя регулирует интенсивность в соответствии с сигналом от датчика дождя.

    6. Функция согласования работы стеклоочистителей и омывателя для предотвращения каплеобразования


      1. Если выключатель стеклоочистителя ветрового стекла установлен в положение OFF (ВЫКЛ) или AUTO, и выключатель стеклоомывателя включается на время приблизительно 0,2 с или более, одновременно с распылением омывающей жидкости стеклоочистители начнут работу в режиме LO.

      2. После выключения стеклоомывателя стеклоочиститель трижды сработает в режиме LO.

      3. Как показано на следующей диаграмме, после этого стеклоочистители сработают еще один раз. Эта операция выполняется через определенный интервал времени, зависящий от скорости автомобиля, так что капли омывающей жидкости будут удалены со стекла.

        B001B9VE19
        Таблица интервалов включения
        Скорость автомобиля (км/час [мили в час]) Интервал включения
        Приблизительно 0-59 (0-37) Приблизительно 3 с
        Приблизительно 60 - 79 (37 - 49) Приблизительно 5 с
        Приблизительно 80 - 119 (50 - 74) Приблизительно 7 с
        Приблизительно 120 - 159 (75 - 99) Приблизительно 5 с
        Приблизительно 160 - 169 (99 - 105) Приблизительно 3 с
        Приблизительно 170 или более (106 или более) Не действует
    7. Датчик уровня жидкости в стеклоомывателе


      1. Когда объем жидкости стеклоомывателя падает ниже определенного уровня, щиток приборов в сборе предупреждает об этом водителя, отображая сообщение "Low Washer Fluid" (низкий уровень жидкости в стеклоомывателе) на мультиинформационном дисплее.

  3. КОНСТРУКЦИЯ


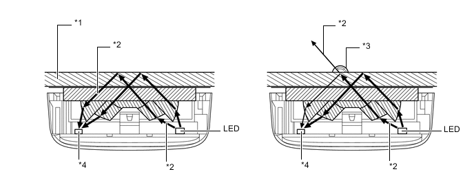
    1. Датчик дождя


      1. Датчик дождя состоит из светодиода, излучающего инфракрасные лучи, фотодиода, способного принимать эти лучи, линзы и ленты датчика дождя.

        B001BBTE10
        *1 Лента датчика дождя
        *2 Линза
        *3 Фотодиод

        Tech Tips

        Если во время замены ветрового стекла произошло отслоение ленты датчика дождя, необходимо закрепить новую ленту. Невыполнение этого требования приведет к нарушению работы системы.

      2. Если в зоне обнаружения нет капель дождя, все инфракрасные лучи, излучаемые светодиодом, отражаются от ветрового стекла и принимаются фотодиодом.

      3. Если в зоне обнаружения имеются капли дождя, часть инфракрасных лучей проникает через ветровое стекло вследствие изменения разности коэффициентов преломления между стеклом и внешней средой (из-за различия воды и воздуха). Таким образом, наличие капель дождя изменяет способность ветрового стекла отражать все лучи. Изменение внутреннего отражения из-за наличия воды уменьшает количество инфракрасных лучей, принимаемых фотодиодом. Степень этого уменьшения позволяет определить интенсивность дождя. На основе полученных данных система выбирает режим работы: INT (прерывистый), LO (низкая скорость) или HI (высокая скорость) с целью оптимизации временных характеристик работы стеклоочистителей.

        B001BD7E10
        *1 Ветровое стекло
        *2 Инфракрасные лучи
        *3 Дождевая капля
        *4 Фотодиод
    2. Форсунка стеклоомывателя


      1. Для повышения привлекательности автомобиля распылительные форсунки стеклоомывателя помещены под капот двигателя. Благодаря веерообразной струе эти форсунки способны распылять жидкость стеклоомывателя по большой площади ветрового стекла. Количество жидкости, подаваемое стеклоомывателем, уменьшено, чтобы не ухудшать обзор водителю во время работы стеклоомывателя.

        B001BGWE10
        *1 Капот двигателя
        *2 Объем жидкости
        *3 Центральная ость основного потока
        *4 Форсунка стеклоомывателя

        Tech Tips

        Конструкция форсунок стеклоомывателя не предусматривает их регулирование. Никогда не пытайтесь отрегулировать положения форсунок, иначе они могут быть повреждены. Если требуется регулировка, замените форсунки, выбрав форсунки с другими углами распыления. Более подробную информацию см. в Руководстве по ремонту.

  4. Функция работы в аварийном режиме


    1. Когда переключатель стеклоочистителя ветрового стекла обнаруживает какую-либо неисправность, принимаются следующие меры по переходу в аварийный режим.

      Неисправный участок Условие
      Неисправность электродвигателя стеклоочистителя Функция регистрации и контроля интенсивности дождя прекращает работу.
      Сбой сигнала передачи данных Датчик дождя

      Функция регистрации и контроля интенсивности дождя прекращает работу.

      Если не поступает сигнал от датчика дождя, функция регистрации и контроля интенсивности дождя не работает, и поддерживается режим, действовавший до возникновения неисправности.

      Щиток приборов в сборе
      • Функция регулировки интервала включения стеклоочистителей в зависимости от скорости автомобиля прекращает работу.

      • Функция переключения режима работы в зависимости от скорости автомобиля прекращает работу.

      • Функция управления стеклоочистителями в прерывистом режиме на остановленном автомобиле прекращает работу.

      • Возможно регулирование интервала работы стеклоочистителей.