СИСТЕМА СТЕКЛООЧИСТИТЕЛЕЙ И СТЕКЛООМЫВАТЕЛЕЙ

Figure 1. для моделей без функции регистрации и контроля интенсивности дождя

B001BHAE01

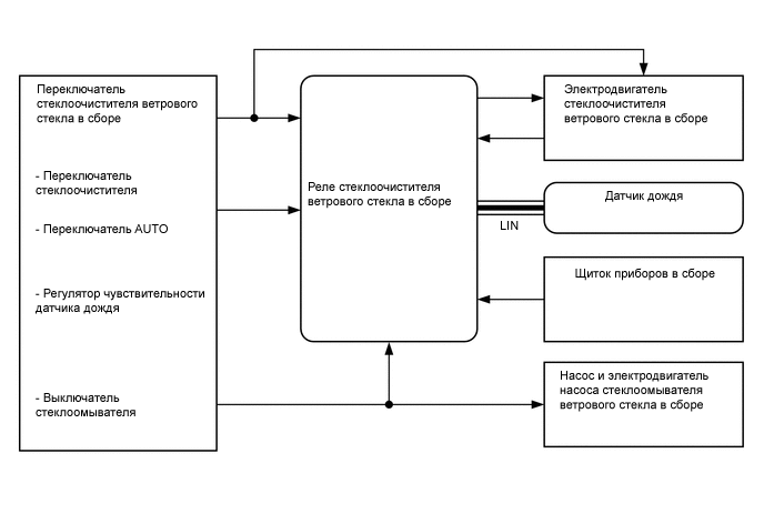
Figure 2. Для моделей с функцией регистрации и контроля интенсивности дождя

B001BN4E01

Figure 3. Система заднего стеклоочистителя

B001BM1E01

Figure 4. Для моделей с очистителями фар

B001BVHE01

Figure 5. Для моделей с функцией предупреждения о недостаточном уровне жидкости стеклоомывателя

B001BOME04

Figure 6. Для моделей с подогревателем форсунки стеклоомывателя

B001BNHE01