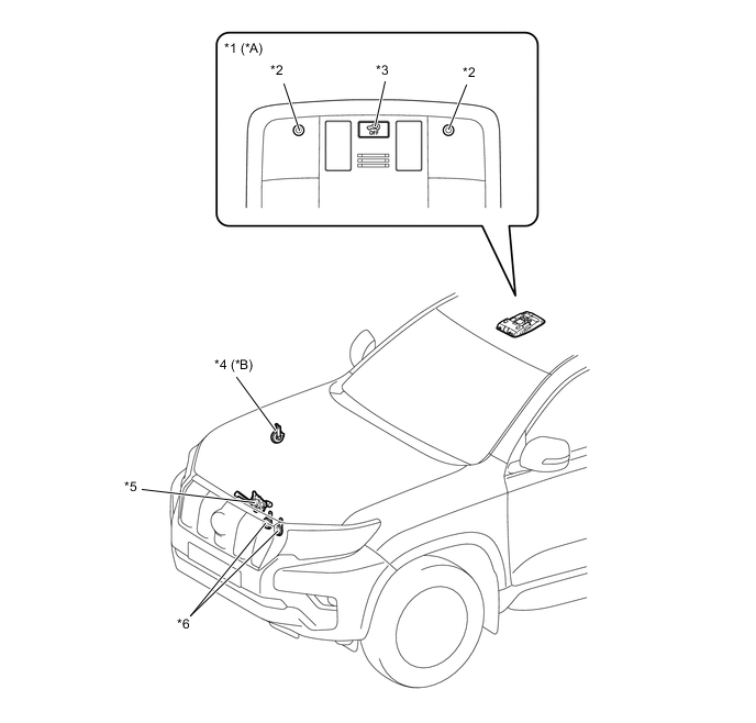
ПРОТИВОУГОННАЯ СИСТЕМА

B001BYIC01
*A Для моделей с датчиком проникновения *B Для моделей с аварийной сиреной
*1 Лампа индивидуального освещения в сборе *2

Датчик проникновения


  • Датчик наклона

*3 Выключатель датчика противоугонной системы *4 Аварийная сирена в сборе
*5 Выключатель освещения проема капота двигателя *6 Звуковой сигнал в сборе

Figure 1. Для 3-дверных моделей

B001BIPC01
*A Для моделей с механизмом открывания заднего стекла *B Для моделей с печатным датчиком разбивания стекла
*1

Замок левой передней двери с электродвигателем в сборе


  • Электродвигатель замка двери

  • Датчик положения блокировки

*2 Выключатель освещения проема левой передней двери в сборе
*3 Приемник системы дистанционной блокировки дверей *4 Выключатель освещения проема двери багажного отделения в сборе
*5

Замок двери багажного отделения в сборе


  • Электродвигатель замка двери

  • Датчик положения замка

*6

Замок заднего окна в сборе


  • Электродвигатель механизма открывания заднего стекла

  • Выключатель освещения проема заднего стекла

*7 Печатный датчик разбивания стекла двери багажного отделения *8

Выключатель освещения проема правой передней двери в сборе


  • Электродвигатель замка двери

  • Датчик положения замка

*9 Замок правой передней двери с электродвигателем в сборе - -

Figure 2. Для 5-дверных моделей

B001BQ2C01
*A Для моделей с печатным датчиком разбивания стекла *B Для моделей с механизмом открывания заднего стекла
*1

Замок левой передней двери с электродвигателем в сборе


  • Электродвигатель замка двери

  • Датчик положения блокировки

*2 Выключатель освещения проема левой передней двери в сборе
*3

Замок левой задней двери с электродвигателем в сборе


  • Электродвигатель замка двери

  • Датчик положения замка

*4 Выключатель освещения проема левой задней двери в сборе
*5 Левый печатный датчик разбивания стекла *6 Приемник системы дистанционной блокировки дверей
*7 Выключатель освещения проема двери багажного отделения в сборе *8

Замок двери багажного отделения в сборе


  • Электродвигатель замка двери

  • Датчик положения замка

*9

Замок заднего окна в сборе


  • Электродвигатель механизма открывания заднего стекла

  • Выключатель освещения проема заднего стекла

*10 Выключатель освещения проема правой задней двери в сборе
*11

Замок правой задней двери с электродвигателем в сборе


  • Электродвигатель замка двери

  • Датчик положения замка

*12 Печатный датчик разбивания стекла двери багажного отделения
*13 Правый печатный датчик разбивания стекла *14 Выключатель освещения проема правой передней двери в сборе
*15

Замок правой передней двери с электродвигателем в сборе


  • Электродвигатель замка двери

  • Датчик положения замка

- -
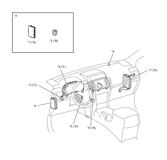
B001BXXC01
*A Для моделей с системой посадки и запуска *B Для моделей с сиреной с автономным источником питания
*C Для моделей с двигателем 5L-E *D Для моделей без системы посадки и запуска
*E Для моделей с автоматической трансмиссией *F Кроме моделей с двигателем 5L-E
*1 ЭБУ сертификации (ЭБУ электронного ключа зажигания в сборе) *2 Сирена с автономным источником питания (сирена противоугонной системы в сборе)
*3 Выключатель проблескового режима указателя поворота в сборе *4 Главный ЭБУ кузова (распределительный блок со стороны водителя)
*5 Выключатель разблокировки ключа *6 Выключатель зажигания (нажимной пусковой переключатель)
*7 ECM *8 Контрольная лампа безопасности
*9 Щиток приборов в сборе - -
*a указания по установке детали см. в бюллетене технического обслуживания. - -