СИСТЕМА ПОСАДКИ И ЗАПУСКА

A01UKS1E03
Обозначения на рисунке (устройства, реализующие функцию посадки в 3-дверных моделях)
*A Для моделей с механизмом открывания заднего стекла *B для моделей с кронштейном запасного колеса на двери багажного отделения
*C для моделей без кронштейна запасного колеса на двери багажного отделения - -
*1 Щиток приборов в сборе *2 Главный ЭБУ кузова (распределительный блок со стороны водителя)
*3 Зуммер системы дистанционной блокировки дверей *4

Наружная ручка левой передней двери в сборе


  • Сенсорный датчик

  • Датчик блокировки

  • Антенна электронного ключа

*5 Замок левой передней двери с электродвигателем в сборе *6 Выключатель освещения проема левой передней двери в сборе
*7 Внутренняя антенна электронного ключа № 2 в сборе *8 Выключатель освещения проема двери багажного отделения в сборе
*9 Замок двери багажного отделения в сборе *10 Антенна электронного ключа снаружи багажного отделения
*11 Внутренняя антенна электронного ключа № 3 в сборе *12 Замок заднего окна в сборе
*13 Выключатель механизма открывания заднего стекла *14 Выключатель освещения проема правой передней двери в сборе
*15 Замок правой передней двери с электродвигателем в сборе *16

Наружная ручка правой передней двери в сборе


  • Сенсорный датчик

  • Датчик блокировки

  • Антенна электронного ключа

*17 Приемник системы дистанционной блокировки дверей *18 Внутренняя антенна электронного ключа № 1 в сборе
*19 ЭБУ сертификации *20 Блок идентификационного кода (ЭБУ кода иммобилайзера)
*21 Выключатель блокировки *22 Переключатель разблокировки
*a указания по установке детали см. в бюллетене технического обслуживания. - -
A01UL4BE04
Обозначения на рисунке (устройства, реализующие функцию посадки в 5-дверных моделях)
*A Для моделей с механизмом открывания заднего стекла *B для моделей с кронштейном запасного колеса на двери багажного отделения
*C для моделей без кронштейна запасного колеса на двери багажного отделения - -
*1 Щиток приборов в сборе *2 Главный ЭБУ кузова (распределительный блок со стороны водителя)
*3 Зуммер системы дистанционной блокировки дверей *4

Наружная ручка левой передней двери в сборе


  • Сенсорный датчик

  • Датчик блокировки

  • Антенна электронного ключа

*5 Замок левой передней двери с электродвигателем в сборе *6 Выключатель освещения проема левой передней двери в сборе
*7 Замок левой задней двери с электродвигателем в сборе *8 Выключатель освещения проема левой задней двери в сборе
*9 Внутренняя антенна электронного ключа № 2 в сборе *10 Выключатель механизма открывания заднего стекла
*11 Выключатель освещения проема двери багажного отделения в сборе *12 Замок двери багажного отделения в сборе
*13 Антенна электронного ключа снаружи багажного отделения *14 Внутренняя антенна электронного ключа № 3 в сборе
*15 Замок заднего окна в сборе *16 Выключатель освещения проема правой задней двери в сборе
*17 Замок правой задней двери с электродвигателем в сборе *18 Приемник системы дистанционной блокировки дверей
*19 Выключатель освещения проема правой передней двери в сборе *20 Замок правой передней двери с электродвигателем в сборе
*21

Наружная ручка правой передней двери в сборе


  • Сенсорный датчик

  • Датчик блокировки

  • Антенна электронного ключа

*22 Внутренняя антенна электронного ключа № 1 в сборе
*23 ЭБУ сертификации *24 Блок идентификационного кода (ЭБУ кода иммобилайзера)
*25 Выключатель блокировки *26 Переключатель разблокировки
*a указания по установке детали см. в бюллетене технического обслуживания. - -
A01UKYQE03
Обозначения на рисунке (устройства, реализующие функцию запуска)
*A Для моделей с механической трансмиссией *B Для моделей с автоматической трансмиссией
*1 ЭБУ сертификации *2 Блок идентификационного кода (ЭБУ кода иммобилайзера)
*3 Контрольная лампа безопасности *4 Выключатель проблескового режима указателя поворота в сборе
*5 Щиток приборов в сборе *6 Пусковой переключатель муфты сцепления в сборе
*7 Выключатель стоп-сигналов в сборе *8 ЭБУ блокировки рулевого управления
*9

Выключатель зажигания


  • Усилитель электронного ключа зажигания

*10 Датчик положения паркинга/нейтрали в сборе
*11 Внутренняя антенна электронного ключа № 1 в сборе *12 ЭБУ блокировки селектора в сборе
*13 ЭБУ распределения питания - -
*a указания по установке детали см. в бюллетене технического обслуживания. - -
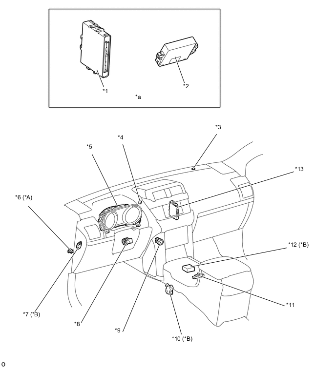
A01UKFOE02
Обозначения на рисунке (устройства, реализующие функцию запуска)
*A Для 3-дверных моделей *B Для 5-дверных моделей
*1 ECM *2 Внутренняя антенна электронного ключа № 2 в сборе
*3 Внутренняя антенна электронного ключа № 3 в сборе *4 Приемник системы дистанционной блокировки дверей