СИСТЕМА ПОСАДКИ И ЗАПУСКА

B001C07C01
*A Для моделей с автоматической трансмиссией - -
*1 Передатчик электронного ключа в сборе *2 Датчик положения паркинга/нейтрали в сборе
*3 Зуммер системы дистанционной блокировки дверей - -

Figure 1. Для 3-дверных моделей

B001C0AC01
*A для моделей с кронштейном запасного колеса на двери багажного отделения *B для моделей без кронштейна запасного колеса на двери багажного отделения
*C Для моделей с механизмом открывания заднего стекла - -
*1

Наружная ручка левой передней двери в сборе


  • Дверная антенна электронного ключа

*2 Датчик блокировки
*3 Сенсорный датчик *4

Замок левой передней двери с электродвигателем в сборе


  • Электродвигатель замка двери

  • Датчик положения замка

*5 Выключатель освещения проема левой передней двери в сборе *6 Внутренняя антенна электронного ключа № 2 в сборе
*7 Приемник системы дистанционной блокировки дверей *8 Выключатель освещения проема двери багажного отделения в сборе
*9

Замок двери багажного отделения в сборе


  • Электродвигатель замка двери

  • Датчик положения замка

*10 Антенна электронного ключа снаружи багажного отделения
*11 Выключатель блокировки *12 Переключатель разблокировки
*13 Внутренняя антенна электронного ключа № 3 в сборе *14 Выключатель механизма открывания заднего стекла
*15

Замок заднего окна в сборе


  • Электродвигатель механизма открывания заднего стекла

  • Выключатель освещения проема заднего стекла

*16 Выключатель освещения проема правой передней двери в сборе
*17

Замок правой передней двери с электродвигателем в сборе


  • Электродвигатель замка двери

  • Датчик положения замка

*18

Наружная ручка правой передней двери в сборе


  • Сенсорный датчик

  • Датчик блокировки

  • Дверная антенна электронного ключа

Figure 2. Для 5-дверных моделей

B001BV6C01
*A для моделей с кронштейном запасного колеса на двери багажного отделения *B для моделей без кронштейна запасного колеса на двери багажного отделения
*C Для моделей с механизмом открывания заднего стекла - -
*1

Наружная ручка левой передней двери в сборе


  • Дверная антенна электронного ключа

*2 Датчик блокировки
*3 Сенсорный датчик *4

Замок левой передней двери с электродвигателем в сборе


  • Электродвигатель замка двери

  • Датчик положения замка

*5 Выключатель освещения проема левой передней двери в сборе *6

Замок левой задней двери с электродвигателем в сборе


  • Электродвигатель замка двери

  • Датчик положения блокировки

*7 Выключатель освещения проема левой задней двери в сборе *8 Внутренняя антенна электронного ключа № 2 в сборе
*9 Приемник системы дистанционной блокировки дверей *10 Выключатель освещения проема двери багажного отделения в сборе
*11

Замок двери багажного отделения в сборе


  • Электродвигатель замка двери

  • Датчик положения замка

*12 Антенна электронного ключа снаружи багажного отделения
*13 Выключатель блокировки *14 Переключатель разблокировки
*15 Внутренняя антенна электронного ключа № 3 в сборе *16 Выключатель механизма открывания заднего стекла
*17

Замок заднего окна в сборе


  • Электродвигатель механизма открывания заднего стекла

  • Выключатель освещения проема заднего стекла

*18 Выключатель освещения проема правой задней двери в сборе
*19

Замок правой задней двери с электродвигателем в сборе


  • Датчик положения замка

  • Электродвигатель замка двери

*20 Выключатель освещения проема правой передней двери в сборе
*21

Замок правой передней двери с электродвигателем в сборе


  • Электродвигатель замка двери

  • Датчик положения замка

*22

Наружная ручка правой передней двери в сборе


  • Сенсорный датчик

  • Датчик блокировки

  • Дверная антенна электронного ключа

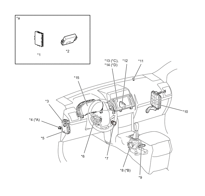
B001BS2C01
*A Для моделей с механической трансмиссией *B Для моделей с автоматической трансмиссией
*C Для моделей с аудиосистемой с дисплеем *D Для моделей с системой навигации
*1 ЭБУ сертификации (ЭБУ электронного ключа зажигания в сборе) *2 Блок идентификационного кода (ЭБУ кода иммобилайзера)
*3 Выключатель стоп-сигналов в сборе *4 Пусковой переключатель муфты сцепления в сборе
*5 Главный ЭБУ кузова (распределительный блок со стороны водителя) *6 ЭБУ блокировки рулевого управления
*7

Выключатель зажигания (нажимной пусковой переключатель)


  • Усилитель электронного ключа зажигания

*8 ЭБУ блокировки селектора в сборе
*9 Внутренняя антенна электронного ключа № 1 в сборе *10 ECM
*11 Контрольная лампа безопасности *12 ЭБУ центрального сетевого шлюза (ЭБУ сетевого шлюза)
*13 Радиоприемник с дисплеем *14 Приемник системы навигации в сборе
*15 Щиток приборов в сборе - -
*a указания по установке детали см. в бюллетене технического обслуживания. - -