ТОРМОЗНАЯ СИСТЕМА (для гидравлического усилителя тормозной системы)


  1. НАЗНАЧЕНИЕ ОСНОВНЫХ УСТРОЙСТВ

    Устройство Функция
    Гидравлический усилитель тормозной системы в сборе Электромагнитный клапан главного цилиндра Главный цилиндр тормозной системы
    • Формирует гидравлическое давление, которое подается в рабочие тормозные цилиндры в нормальном режиме торможения.

    • Регулирует давление в гидроаккумуляторе в соответствии с усилием на педали тормоза и передает это давление в камеру усилителя, обеспечивая усиление мощности при управлении тормозами.

    Двухпозиционный электромагнитный клапан Переключает путь прохождения тормозной жидкости при работе системы управления тормозами.
    Электромагнитный клапан управления Регулирует гидравлическое давление, подаваемое в рабочие тормозные цилиндры при управлении тормозами.
    Датчик давления в гидроаккумуляторе Контролирует гидравлическое давление в гидроаккумуляторе усилителя тормозной системы в сборе и передает данные в систему управления насосом усилителя тормозной системы.
    Датчик давления в главном цилиндре Определяет давление в главном цилиндре и передает соответствующий сигнал в ЭБУ системы противоскольжения.
    Датчик давления управления (для моделей с предаварийной системой безопасности) Функция управления тормозами предаварийной системы безопасности подает гидравлическое давление из гидроаккумулятора усилителя тормозной системы во все рабочие тормозные цилиндры, автоматически создавая тормозное усилие. Датчик управляющего давления определяет управляющее гидравлическое давление, действующее в это время.
    ЭБУ системы противоскольжения
    • Оценивает условия движения автомобиля по сигналам всех датчиков и управляет функциями тормозной системы.

    • Управляет насосом усилителя тормозной системы, регулируя давление в гидроаккумуляторе по сигналу датчика давления в гидроаккумуляторе.

    Усилитель тормозной системы с насосом гидроаккумулятора в сборе Насос усилителя тормозной системы в сборе Откачивает тормозную жидкость из бачка главного цилиндра тормозной системы и подает высокое гидравлическое давление в гидроаккумулятор усилителя тормозной системы.
    Гидроаккумулятор усилителя тормозной системы в сборе Сохраняет гидравлическое давление, созданное насосом усилителя тормозной системы.
    Перепускной клапан Обеспечивает возврат тормозной жидкости в расширительный бачок главного цилиндра тормозной системы для устранения избыточного давления, если насос усилителя тормозной системы не прекращает работу вследствие неисправности датчика давления в гидроаккумуляторе.
    Бачок главного цилиндра тормозной системы в сборе Бачок Обеспечивает хранение тормозной жидкости.
    Датчик уровня тормозной жидкости Регистрирует низкий уровень тормозной жидкости.
  2. КОНСТРУКЦИЯ


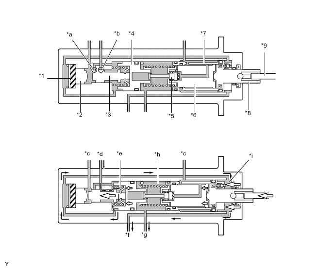
    1. Гидравлический усилитель тормозной системы в сборе


      1. Гидравлический усилитель тормозной системы включает электромагнитный клапан главного цилиндра, усилитель тормозной системы с насосом гидроаккумулятора в сборе и расширительный бачок главного цилиндра тормозной системы в сборе.

        A01UKLAE06
        Обозначения на рисунке
        *1

        Бачок главного цилиндра тормозной системы

        - Расширительный бачок

        - Датчик уровня тормозной жидкости

        *2

        Усилитель тормозной системы с насосом гидроаккумулятора в сборе

        - Насос усилителя тормозной системы в сборе

        - Гидроаккумулятор усилителя тормозной системы в сборе

        - Перепускной клапан

        *3

        Электромагнитный клапан главного цилиндра

        - Главный цилиндр тормозной системы

        - Двухпозиционный электромагнитный клапан

        - Управляющий электромагнитный клапан

        - Датчик давления в гидроаккумуляторе

        - Датчик давления в главном цилиндре

        - Датчик давления управления (для моделей с предаварийной системой безопасности)

        - ЭБУ системы противоскольжения

        - -
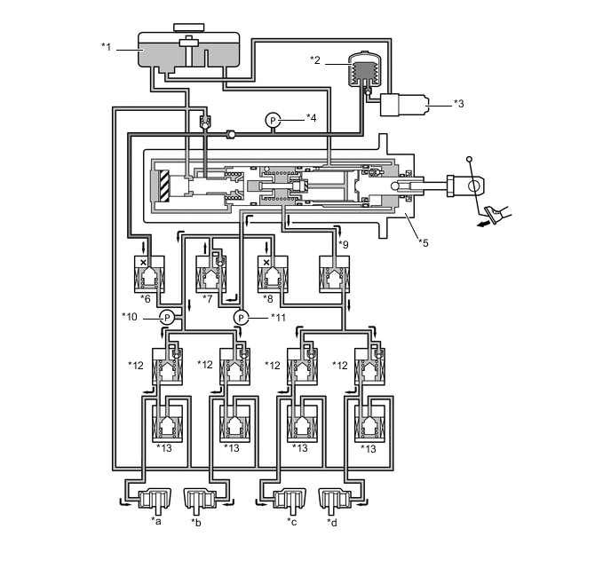
        A01UKPGE04
        Обозначения на рисунке (гидравлический контур)
        *1 Бачок *2 Насос усилителя тормозной системы в сборе
        *3 Гидроаккумулятор усилителя тормозной системы в сборе *4 Датчик давления в гидроаккумуляторе
        *5 Главный цилиндр тормозной системы *6 Датчик давления в главном цилиндре
        *7 Датчик давления управления (для моделей с предаварийной системой безопасности) *8 Двухпозиционный электромагнитный клапан STR
        *9 Двухпозиционный электромагнитный клапан SREC *10 Двухпозиционный электромагнитный клапан SREA
        *11 Двухпозиционный электромагнитный клапан SMCF *12 Управляющий электромагнитный клапан SH
        *13 Управляющий электромагнитный клапан SR - -
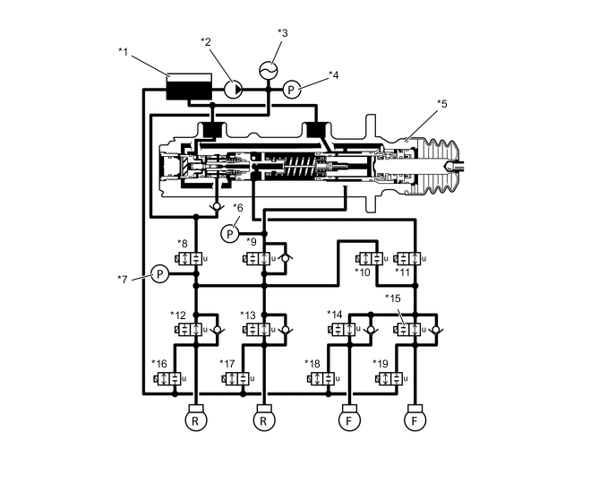
    2. Главный цилиндр тормозной системы


      1. Поршень главного цилиндра имеет двойную конструкцию, которая включает поршни с 2 разными диаметрами. Поршень с большим диаметром применяется при обычном торможении, обеспечивая жесткое ощущение педали тормоза с малым ходом. В случае неисправности в усилителе тормозной системы с насосом гидроаккумулятора в сборе усилие нажатия тормоза активирует поршень с малым диаметром, обеспечивая тормозное усилие переднего тормоза.

        A01UL6AE06
        Обозначения на рисунке
        *1 Поршень главного цилиндра (большого диаметра) *2 Поршень главного цилиндра (малого диаметра)
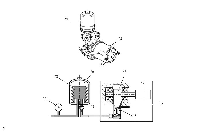
    3. Усилитель тормозной системы с насосом гидроаккумулятора в сборе


      1. В качестве насоса усилителя тормозной системы используется плунжерный насос. Этот насос приводится в действие электродвигателем и создает высокое гидравлическое давление, которое затем обеспечивает гидравлическое давление для гидроаккумулятора усилителя тормозной системы в сборе.

      2. Гидроаккумулятор усилителя тормозной системы заполнен азотом под высоким давлением и герметизирован. Для улучшения газонепроницаемости гидроаккумулятора в нем используется металлическая гофрированная труба.

        A01UKNLE03
        Обозначения на рисунке
        *1 Гидроаккумулятор усилителя тормозной системы в сборе *2 Насос усилителя тормозной системы в сборе
        *3 Гофрированная труба *4 Датчик давления в гидроаккумуляторе
        *5 Обратный клапан *6 Кулачок
        *7 Электродвигатель насоса *8 Плунжер насоса
        *a Азот - -
  3. ПРИНЦИП РАБОТЫ


    1. Гидравлический усилитель тормозной системы в сборе


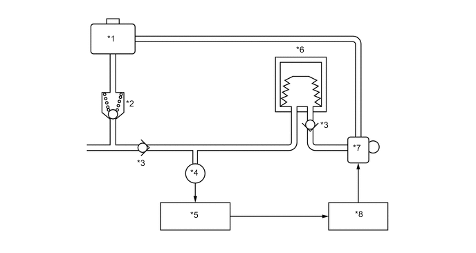
      1. В обычном режиме торможения все электромагнитные клапаны остаются выключенными.

        A01UKFBE05
        Обозначения на рисунке
        *1 Бачок *2 Гидроаккумулятор усилителя тормозной системы в сборе
        *3 Насос усилителя тормозной системы в сборе *4 Датчик давления в гидроаккумуляторе
        *5 Главный цилиндр тормозной системы *6 Двухпозиционный электромагнитный клапан STR
        *7 Двухпозиционный электромагнитный клапан SREC *8 Двухпозиционный электромагнитный клапан SREA
        *9 Двухпозиционный электромагнитный клапан SMCF *10 Датчик давления управления (для моделей с предаварийной системой безопасности)
        *11 Датчик давления в главном цилиндре *12 Управляющий электромагнитный клапан SH
        *13 Управляющий электромагнитный клапан SR - -
        *a Левый задний *b Правый задний
        *c Левый передний *d Правый передний
    2. Главный цилиндр тормозной системы


      1. Усилие нажатия педали тормоза передается следующим образом: рабочий шток → силовой поршень → поршень главного цилиндра (малого диаметра).

      2. Установленная нагрузка возвратной пружины главного цилиндра превышает установленную нагрузку возвратной пружины поршня регулятора. Таким образом, поршень регулятора и золотниковый клапан активируются до сжатия жидкости в главном цилиндре.

      3. При активации золотникового клапана одновременно закрывается канал A (между расширительным бачком и камерой усилителя), и открывается канал B (между гидроаккумулятором усилителя тормозной системы и камерой усилителя). Тормозная жидкость из гидроаккумулятора усилителя тормозной системы под давлением подается в камеру усилителя, усиливая нажатие педали тормоза и увеличивая давление в рабочих тормозных цилиндрах задних колес. В то же время закрывается центральный клапан главного цилиндра, и увеличивается давление в рабочих тормозных цилиндрах передних колес.

      4. На начальном этапе работы тормозной системы давление усилителя, действующее на резиновый реактивный диск, мало. Поэтому возвратное усилие, направленное вправо, не прикладывается к золотниковому клапану через реактивный шток.

        A01UL7IE05
        Обозначения на рисунке
        *1 Реактивный диск *2 Реактивный шток
        *3 Золотниковый клапан *4 Поршень регулятора
        *5 Центральный клапан *6 Поршень главного цилиндра (малого диаметра)
        *7 Поршень главного цилиндра (большого диаметра) *8 Силовой поршень
        *9 Рабочий шток - -
        *a Патрубок A *b Патрубок B
        *c К бачку *d От гидроаккумулятора усилителя тормозной системы в сборе
        *e Камера регулятора *f К рабочему тормозному цилиндру заднего колеса
        *g К рабочему тормозному цилиндру переднего колеса *h Камера главного цилиндра
        *i Камера усилителя - -
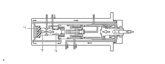
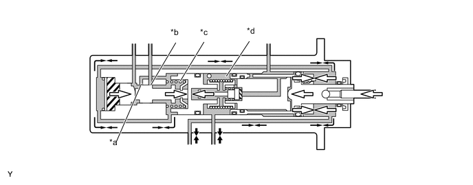
      5. Когда педаль тормоза удерживается нажатой, увеличивается давление, действующее на резиновый реактивный диск. В результате резиновый реактивный диск деформируется, давление передается через реактивный шток, и на педали тормоза создается сила реакции. В результате реализуется регулируемый сервомеханизм, в котором передаточное отношение оптимизируется в соответствии с давлением в камере усилителя.

        A01UKGUE05
        Обозначения на рисунке
        *1 Реактивный диск *2 Реактивный шток
        *3 Золотниковый клапан - -
      6. Когда педаль тормоза удерживается нажатой, давления в камере главного цилиндра и в камере регулятора выравниваются, и закрываются каналы A (между расширительным бачком и камерой усилителя) и B (между гидроаккумулятором усилителя тормозной системы и камерой усилителя).

        A01UKVDE06
        Обозначения на рисунке
        *a Патрубок A *b Патрубок B
        *c Камера регулятора *d Камера главного цилиндра
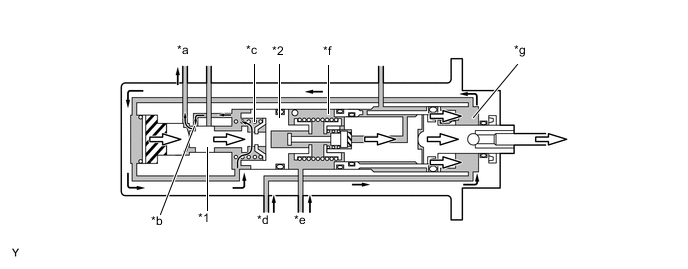
      7. Когда педаль тормоза отпускается, и усилие на ней уменьшается, давление в камере главного цилиндра снижается, и на поршне регулятора создается усилие возврата, направленное вправо. В этом случае золотниковый клапан открывает канал A (между расширительным бачком и камерой усилителя), и давление в камере регулятора и в камере усилителя уменьшается. За счет повторения этого процесса обеспечивается уменьшение давления в соответствии с усилием нажатия педали тормоза.

        A01UKVWE05
        Обозначения на рисунке
        *1 Золотниковый клапан *2 Поршень регулятора
        *a К бачку *b Патрубок B
        *c Камера регулятора *d От рабочего тормозного цилиндра заднего колеса
        *e От рабочего тормозного цилиндра переднего колеса *f Камера главного цилиндра
        *g Камера усилителя - -
      8. Если на давление гидроаккумулятора оказывает влияние какая-либо неисправность, гидравлическое давление не будет подаваться в камеру усилителя. По этой причине усиление силы, действующей через педаль тормоза, не сможет быть обеспечено, и давление в задних тормозах не будет увеличиваться. Поскольку в это время в поршне главного цилиндра с большим диаметром нет сжатой тормозной жидкости, поршень не перемещается из первоначального положения. Для включения переднего тормоза главный цилиндр малого диаметра приводится в действие усилием нажатия педали тормоза, центральный клапан закрывается, и давление в камере главного цилиндра увеличивается, создавая тормозное усилие.

        A01UKZEE05
        Обозначения на рисунке
        *1 Центральный клапан *2 Поршень главного цилиндра (малого диаметра)
        *3 Поршень главного цилиндра (большого диаметра) - -
        *a От гидроаккумулятора усилителя тормозной системы в сборе *b К рабочему тормозному цилиндру заднего колеса
        *c К рабочему тормозному цилиндру переднего колеса *d Камера главного цилиндра
      9. При неисправности в системе переднего тормоза поршень главного цилиндра перемещается давлением камеры усилителя, однако гидравлическое давление не увеличивается. Система заднего тормоза работает в нормальном режиме.

        A01UL2CE05
        Обозначения на рисунке
        *1 Золотниковый клапан *2 Поршень регулятора
        *3 Поршень главного цилиндра (малого диаметра) *4 Поршень главного цилиндра (большого диаметра)
        *a От гидроаккумулятора усилителя тормозной системы в сборе *b К рабочему тормозному цилиндру заднего колеса
        *c К рабочему тормозному цилиндру переднего колеса *d Камера усилителя
    3. Усилитель тормозной системы с насосом гидроаккумулятора в сборе


      1. Насос усилителя тормозной системы работает на основе сигнала датчика давления в гидроаккумуляторе, как показано на следующей временной диаграмме.


        • Когда давление в гидроаккумуляторе падает до уровня "давления включения насоса", ЭБУ системы противоскольжения приводит в действие насос усилителя тормозной системы.

        • Когда давление в гидроаккумуляторе увеличивается до "давления выключения насоса", ЭБУ системы противоскольжения останавливает насос усилителя тормозной системы.

      2. Когда давление в гидроаккумуляторе падает ниже уровня "предельного давления", ЭБУ системы противоскольжения включает все контрольные лампы и индикаторы, а также инициирует подачу непрерывного сигнала зуммером системы противоскольжения.

        A01UKYNE06
        Обозначения на рисунке
        *1 Бачок *2 Перепускной клапан
        *3 Обратный клапан *4 Датчик давления в гидроаккумуляторе
        *5 ЭБУ системы противоскольжения *6 Гидроаккумулятор усилителя тормозной системы в сборе
        *7 Насос усилителя тормозной системы в сборе *8 Реле электродвигателя
        A01UKGGE07