СИСТЕМА ПРЕДУПРЕЖДЕНИЯ О НЕНАДЛЕЖАЩЕМ ДАВЛЕНИИ В ШИНАХ

B001BNPE01
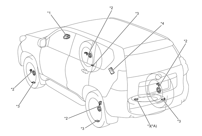
Обозначения на рисунке
*A для моделей с полноразмерным запасным колесом - -
*1 ЭБУ системы противоскольжения *2 Датчик частоты вращения
*3 Вентиль и передатчик системы предупреждения о ненадлежащем давлении в шинах *4 ЭБУ и приемник системы предупреждения о ненадлежащем давлении в шинах
B001BPJE01
Обозначения на рисунке
*1

Щиток приборов в сборе


  • Контрольная лампа предупреждения о ненадлежащем давлении в шинах

*2 Главный ЭБУ кузова (распределительный блок со стороны водителя)
*3 DLC3 *4 Переключатель сброса системы предупреждения о ненадлежащем давлении в шинах