СИСТЕМА МЕХАНИЧЕСКОЙ ТРАНСМИССИИ


  1. CONSTRUCTION


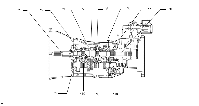
    1. Gear Train


      1. The transmission synchromesh mechanism is an all-speed constant mesh type.

        A01UKP2E03
        Text in Illustration
        *1 Input Shaft *2 4th Gear
        *3 3rd Gear *4 2nd Gear
        *5 Reverse Gear *6 1st Gear
        *7 5th Gear *8 Output Shaft
        *9 Counter Shaft *10 Single-cone Type Synchromesh Mechanism
        Synchromesh Mechanism
        Gear 1st, 2nd, 3rd, 4th and 5th Reverse
        Synchromesh Mechanism Type Single-cone -