| *1 | Датчик температуры воздуха на впуске | *2 | Топливная форсунка в сборе |
| *3 | Датчик температуры охлаждающей жидкости двигателя | *4 | Датчик положения коленчатого вала |
| *5 | Электронный блок привода форсунок | - | - |
| *1 | Датчик частоты вращения трансмиссии (NT) | *2 | Электромагнитный клапан переключения передач (SL1) |
| *3 | Электромагнитный клапан управления линейным давлением в сборе (SLT) | *4 | Датчик № 2 температуры ATF |
| *5 | Датчик № 1 температуры ATF | *6 | Электромагнитный клапан переключения передач (SL2) |
| *7 | Электромагнитный клапан управления блокировкой в сборе (SLU) | *8 | Электромагнитный клапан переключения передач S4 (SR) |
| *9 | Электромагнитный клапан № 3 коробки передач в сборе (S2) | *10 | Электромагнитный клапан переключения передач DSL (S1) |
| *11 | Датчик оборотов трансмиссии (SP2) | *12 | Датчик положения паркинга/нейтрали в сборе |
| *A | Для моделей с функцией выбора типа местности | *B | Для моделей без функции выбора типа местности |
| *C | для моделей с динамической радарной системой круиз-контроля | - | - |
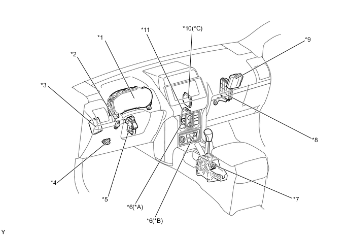
| *1 | Щиток приборов в сборе | *2 | Выключатель стоп-сигналов в сборе |
| *3 | TCM | *4 | DLC3 |
| *5 | Датчик положения педали акселератора | *6 | Выключатель режима запуска на 2-й передаче (переключатель выбора режима в сборе) |
| *7 | Датчик положения селектора передач | *8 | ECM |
| *9 | ЭБУ полного привода | *10 | ЭБУ помощи при движении в сборе |
| *11 | Блок управления системой кондиционирования | - | - |