| *1 | Датчик температуры воздуха на впуске | *2 | Топливная форсунка в сборе |
| *3 | Датчик температуры охлаждающей жидкости двигателя | *4 | Датчик положения коленчатого вала |
| *5 | Электронный блок привода форсунок | - | - |
| *1 | Датчик частоты вращения трансмиссии (NT) | *2 | Электромагнитный клапан переключения передач (SL1) |
| *3 | Электромагнитный клапан управления линейным давлением в сборе (SLT) | *4 | Датчик № 2 температуры ATF |
| *5 | Датчик № 1 температуры ATF | *6 | Электромагнитный клапан переключения передач (SL2) |
| *7 | Электромагнитный клапан управления блокировкой в сборе (SLU) | *8 | Электромагнитный клапан переключения передач S4 (SR) |
| *9 | Электромагнитный клапан № 3 коробки передач в сборе (S2) | *10 | Электромагнитный клапан переключения передач DSL (S1) |
| *11 | Датчик оборотов трансмиссии (SP2) | *12 | Датчик положения паркинга/нейтрали в сборе |
| *A | Для моделей с щитком приборов с оригинальной системой подсветки "Optitron" | *B | для моделей с щитком приборов аналогового типа |
| *C | Для моделей с системой посадки и запуска | *D | для моделей с динамической радарной системой круиз-контроля |
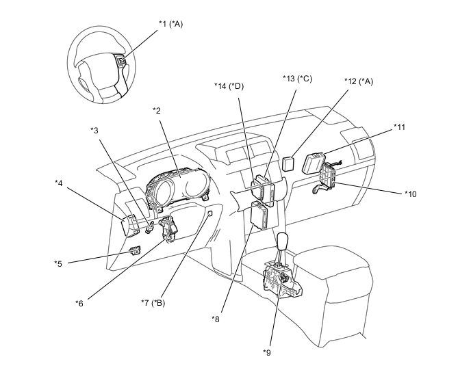
| *1 | Переключатель мультиинформационного дисплея (переключатель на рулевом колесе в сборе) | *2 | Щиток приборов в сборе |
| *3 | Выключатель стоп-сигналов в сборе | *4 | TCM |
| *5 | DLC3 | *6 | Датчик положения педали акселератора |
| *7 | Выключатель режима запуска на 2-й передаче (переключатель выбора режима в сборе) | *8 | Блок управления системой кондиционирования |
| *9 | Датчик положения селектора передач | *10 | ECM |
| *11 | ЭБУ полного привода | *12 | ЭБУ переключателя помощи при движении |
| *13 | ЭБУ распределения питания | *14 | ЭБУ помощи при движении в сборе |