СИСТЕМА АВТОМАТИЧЕСКОЙ ТРАНСМИССИИ


  1. НАЗНАЧЕНИЕ ОСНОВНЫХ УСТРОЙСТВ

    Устройство Функция
    Муфта гидротрансформатора в сборе
    • Передает мощность двигателя в трансмиссию.

    • Увеличивает крутящий момент двигателя.

    Масляный насос Создает давление масла, необходимое для работы трансмиссии.

    Муфта № 1 (C1)

    Соединяет первичный и промежуточный валы.

    Муфта № 2 (C2)

    Соединяет первичный вал и водило центральной планетарной передачи.

    Муфта № 3 (C3)

    Соединяет первичный вал и переднюю солнечную шестерню.

    Тормоз № 1 (B1)

    Препятствует вращению водила передней планетарной передачи по часовой стрелке или против часовой стрелки.

    Тормоз № 2 (B2)

    Препятствует вращению коронных шестерен передней и центральной планетарных передач по часовой стрелке или против часовой стрелки.

    Тормоз № 3 (B3)

    Препятствует вращению наружного кольца F2по часовой стрелке или против часовой стрелки.

    Тормоз № 4 (B4)

    Препятствует вращению водила центральной планетарной передачи и коронной шестерни задней планетарной передачи по часовой стрелке или против часовой стрелки.

    Муфта свободного хода № 1 (F1)

    Препятствует вращению водила передней планетарной передачи против часовой стрелки.

    Муфта свободного хода № 2 (F2)

    Препятствует вращению солнечной шестерни передней планетарной передачи против часовой стрелки во время действия B3.

    Муфта свободного хода № 3 (F3)

    Препятствует вращению водила центральной планетарной передачи и коронной шестерни задней планетарной передачи против часовой стрелки.
    Шестерни планетарной передачи Эти шестерни изменяют маршрут передачи движущей силы в соответствии с режимом всех муфт и тормозов, чтобы увеличить или уменьшить входную и выходную частоту вращения.
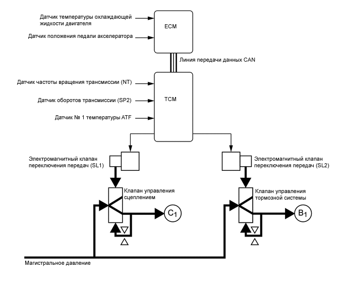
    Электромагнитный клапан переключения передач DSL (S1) Управляет клапаном переключения передач 2-3.
    Электромагнитный клапан трансмиссии № 3 в сборе (S2) Управляет клапанами переключения передач 1-2 и 3-4.
    Электромагнитный клапан переключения передач S4 (SR) Управляет регулирующим клапаном управления сцеплением.
    Электромагнитный клапан переключения передач (SL1)
    • Регулирует давление сцепления.

    • Регулирует обратное давление гидроаккумулятора.

    Электромагнитный клапан переключения передач (SL2) Регулирует давление в тормозной системе.
    Электромагнитный клапан управления линейным давлением в сборе (SLT)
    • Регулирует линейное давление.

    • Регулирует обратное давление гидроаккумулятора.

    Электромагнитный клапан управления блокировкой в сборе (SLU)
    • Регулирует давление муфты блокировки.

    • Регулирует обратное давление гидроаккумулятора.

    Датчики температуры ATF Определяет температуру ATF.
    Датчик частоты вращения трансмиссии (NT) Определяет частоту вращения первичного вала трансмиссии.
    Датчик оборотов трансмиссии (SP2) Определяет частоту вращения выходного вала трансмиссии.
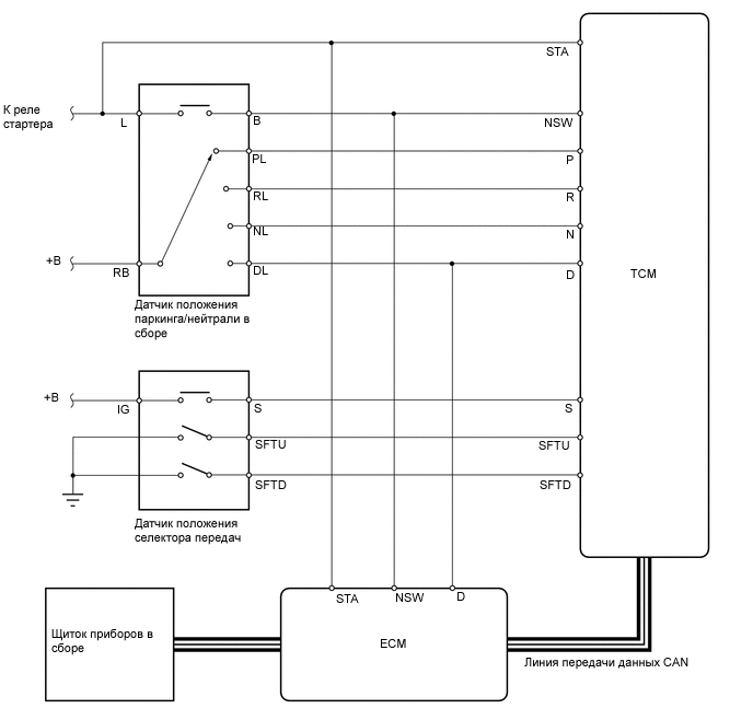
    Датчик положения паркинга/нейтрали в сборе Определяет положение рычага переключения передач (P, R, N, D).
    Датчик положения селектора передач
    • Регистрирует перевод рычага переключения передач в положении S.

    • Регистрирует выполнение водителем операций повышения и понижения передачи, когда рычаг переключения передач находится в положении S.

    Выключатель режима запуска на 2-й передаче (переключатель выбора режима в сборе) Передает сигнал режима запуска на 2-й передаче в ТСМ.
    ECM
    • Регулирует мощность двигателя в соответствии с сигналом из TCM.

    • Когда ECM обнаруживает неисправность, он производит диагностику и сохраняет в памяти данные о неисправном узле.

    TCM
    • Управляет всеми электромагнитными клапанами переключения передач в соответствии с сигналами от различных датчиков и переключателей.

    • Когда TCM обнаруживает неисправность, он производит диагностику и сохраняет в памяти данные о неисправном узле.

    ЭБУ полного привода Передает сигнал режима привода в ТСМ.
    Блок управления системой кондиционирования в сборе Передает сигнал управления задержкой переключения на более высокую передачу в ECM.
    ЭБУ помощи при движении в сборе*1 Передает сигнал запроса управления переключением передач в ECM.
    Щиток приборов в сборе Индикатор механизма переключения передач
    • Отображает положение рычага переключения передач.

    • Обеспечивает индикацию движения в режиме D или S для водителя.

    • Отображает диапазон передач (S1-S5).

    MIL Загорается или начинает мигать, когда требуется уведомить водителя о том, что ECM или TCM обнаружил неисправность.
    Контрольная лампа режима запуска № 2 Загорается, когда водитель выбирает режим запуска на 2-й передаче.
    Контрольная лампа температуры ATF*2 Загорается для предупреждения водителя, когда температура ATF становится высокой.
    Мультиинформационный дисплей*3
    • Отображает сообщение для предупреждения водителя, когда температура ATF становится высокой.

    • Отображает диагностический код неисправности (DTC).

    Главная контрольная лампа аварийного состояния*3 Загорается для предупреждения водителя, когда на мультиинформационном дисплее появляется сообщение.
    Зуммер
    • Подает звуковой сигнал, когда блокируется понижение передачи в режиме S.

    • Подает звуковой сигнал для предупреждения водителя, когда на мультиинформационном дисплее появляется сообщение.*2

    *1: для моделей с динамической радарной системой круиз-контроля

    *2: для моделей со щитком приборов аналогового типа

    *3: для моделей с оригинальной системой подсветки щитка приборов "Optitron"

  2. УПРАВЛЕНИЕ В СИСТЕМЕ

    Электронное управление автоматической трансмиссией
    Управление Функция
    Управление порядком переключения передач ТCM подает ток в электромагнитные клапаны S1, S2 и/или SR на основании сигналов от различных датчиков для переключения передач.
    Управление линейным давлением Система приводит в действие электромагнитный клапан переключения передач SLT, управляющий линейным давлением, согласно данным ТCM и режиму работы трансмиссии.
    Оптимальное управление давлением сцепления Электромагнитные клапаны переключения передач SL1 и SLT точно регулируют давление сцепления в соответствии с мощностью двигателя и режимом работы трансмиссии.
    Регулирование давления между муфтами

    Система регулирует давление, которое подается непосредственно на тормоз B1и муфту C1, путем управления электромагнитными клапанами переключения передач SL1 и SL2 в соответствии с сигналами ТCM.

    Регулирование крутящего момента двигателя Сокращает объем впрыска топлива, чтобы обеспечить плавность переключения при повышении или понижении передачи.
    Управление, препятствующее продольному наклону кузова при переключении из положения N в положение D Когда рычаг переключения передач переводится из положения N в положение D, перед 1-й передачей временно включается 2-я передача, чтобы уменьшить продольный наклон кузова.
    Регулировка моментов включения/выключения блокировки Исходя из сигналов от различных датчиков, ТCM подает ток в электромагнитный клапан переключения передач SLU и включает или выключает муфту блокировки.
    Гибкое управление муфтой блокировки Путем управления электромагнитным клапаном переключения передач SLU муфта блокировки устанавливается в промежуточное состояние между включенным и выключенным состояниями, в результате чего расширяется рабочий диапазон муфты блокировки, и снижается расход топлива.
    Управление понижением передач при движении по инерции Чтобы предотвратить снижение частоты вращения коленчатого вала двигателя и тем самым сохранить отсечку топлива, TCM выполняет переключения на более низкие передачи, прежде чем закончится отсечка топлива.
    Интеллектуальное управление переключением передач (управление AI-shift) На основании сигналов от различных датчиков TCM оценивает дорожные условия и намерение водителя. В результате автоматически определяется подходящая схема переключения передач, что улучшает управляемость.
    Автоматическое управление в режиме "multimode" Когда рычаг переключения передач находится в положении S, ТCM управляет работой автоматической трансмиссии в соответствии с выбранным диапазоном.

    1. Управление линейным давлением


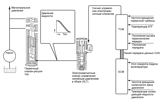
      1. Чтобы получить заданную характеристику линейного давления, соответствующую сигналам всех датчиков, ТCM приводит в действие электромагнитный клапан переключения передач SLT для регулирования давления дроссельной заслонки.

      2. Это дает возможность первичному клапану-регулятору точно управлять линейным давлением в соответствии с мощностью двигателя, тем самым сглаживая характеристики переключения.

        B001BBKE04
    2. Оптимальное управление давлением сцепления


      1. ТCM контролирует сигналы различных датчиков (например, датчика оборотов трансмиссии (NT)), что позволяет электромагнитным клапанам переключения передач SL1 и SLT точно регулировать давление сцепления в соответствии с мощностью двигателя и условиями движения. В результате обеспечиваются сглаженные характеристики переключения.

        B001BVME12
    3. Регулирование давления между муфтами


      1. Эта функция управления используется для переключения с 4-й передачи на 5-ю и с 5-й передачи на 4-ю.

      2. ТCM приводит в действие электромагнитные клапаны переключения передач SL1 и SL2 в соответствии с различными сигналами. Выходы этих электромагнитных клапанов напрямую подключены к клапанам управления B1и C1для регулирования линейного давления, действующего на тормоз B1и муфту C1.

      3. Благодаря этому удалось обеспечить высокую чувствительность и превосходные характеристики переключения передач.

        B001B8JE03
    4. Регулировка моментов включения/выключения блокировки


      1. Когда рычаг переключения передач находится в положении D или в диапазоне S5 или S4, ТCM регулирует моменты включения/выключения блокировки, обеспечивая снижение расхода топлива на высшей передаче.

        Регулировка моментов включения/выключения блокировки
        Передача Диапазон передач или положение рычага переключения передач
        D, S5 S4
        1-я X X
        2-я X X
        3-я X X
        4-я X
        5-я -

        Tech Tips

        ○: функция доступна

        X: не действует

        -: функция недоступна

    5. Гибкое управление муфтой блокировки


      1. В диапазоне низких и средних частот вращения данная функция управляет электромагнитным клапаном переключения передач SLU, заставляя муфту блокировки работать в промежуточном режиме между включенным и выключенным состояниями, что повышает КПД передачи энергии в этом диапазоне. В результате достигается расширение рабочего диапазона муфты блокировки, и повышается экономия топлива. Гибкое управление муфтой блокировки действует на 3-й, 4-й и 5-й передачах, когда рычаг переключения передач находится в положении D, либо выбран диапазон S5, а также на 3-й и 4-й передачах, когда выбран диапазон S4.

      2. Гибкое управление муфтой блокировки действует даже при замедлении автомобиля (когда педаль акселератора опущена). Как следствие, расширяется зона отсечки топлива двигателя, и снижается расход топлива.

        B001BZRE04
        B001BH8E34
        Гибкое управление муфтой блокировки
        Передача Диапазон передач или положение рычага переключения передач
        D, S5 S4
        1-я X X
        2-я X X
        3-я ○* ○*
        4-я ○*
        5-я -

        Tech Tips

        ○: функция доступна

        X: не действует

        -: функция недоступна

        *: гибкое управление муфтой блокировки также действует во время замедления.

    6. Управление понижением передач при движении по инерции


      1. Управление понижением передач используется при замедлении, позволяя снизить расход топлива путем максимального продления отсечки подачи топлива.

      2. Благодаря одновременному управлению муфтой блокировки Flex и переключению на более низкую передачу во время замедления было устранено понижение частоты вращения коленчатого вала двигателя, при этом была максимально продлена отсечка топлива без понижения частоты вращения коленчатого вала двигателя до уровня ниже выхода из режима отсечки топлива.

      3. Благодаря близким передаточным отношениям за счет увеличения рабочих шестерен и расширения рабочих областей был значительно увеличен показатель топливной экономичности, а также управляемость была улучшена за счет оптимизации усилия замедления при срабатывании средств управления.

        B001BE3E06
    7. Интеллектуальное управление переключением передач (управление AI-shift)


      1. Управление AI-shift оптимизирует управление трансмиссией исходя из входных сигналов и автоматически изменяет схему переключения передач. В результате обеспечивается высококлассная работа трансмиссии.

      2. Управление AI-shift включает в себя вспомогательное управление в зависимости от дорожных условий и вспомогательное управление в зависимости от намерения водителя.

      3. Управление AI-shift действует в соответствии с данными о состоянии тормозов и положении педали акселератора, и только тогда, когда рычаг переключения передач находится в положение D. Когда рычаг переключения передач перемещается в какое-либо положение помимо D, управление AI-shift отключается.

        B001BSHE06
      4. Реализуя вспомогательное управление в зависимости от дорожных условий, ECM или TCM определяет угол поворота дроссельной заслонки, угол поворота педали акселератора и скорость автомобиля, чтобы оценить характер движения автомобиля (вверх или вниз по склону). Чтобы оптимизировать тяговое усилие при подъеме по склону, система запрещает переключение трансмиссии на более высокую 4-ю или 5-ю передачу. Для оптимального торможения двигателем при спуске по склону система автоматически выполняет переключение на более низкую 4-ю или 3-ю передачу.

        B001BWUE04
      5. В рамках вспомогательного управления в зависимости от намерений водителя система оценивает намерение водителя исходя из положения педали акселератора и состояния автомобиля, и выбирает схему переключения передач, хорошо подходящую конкретному водителю.

    8. Автоматическое управление в режиме "multimode"


      1. Режим автоматического управления трансмиссией "multimode" позволяет водителю переключать диапазоны передач (режим "multimode" не предназначен для ручного выбора отдельных передач). После перевода рычага переключения передач в положение S водитель получает возможность выбрать желаемый диапазон передач, смещая рычаг переключения в положение "+" (вперед) или "-" (назад). Таким образом, водитель может переключать передачи по ощущению, как в механической трансмиссии.

        B001BK0E04
      2. Когда водитель выбирает положение S с помощью рычага переключения передач, устанавливается диапазон S4 (во время управления AI-shift отображается диапазон передач, в котором текущая передача является максимально возможной). После этого при каждом перемещении водителем рычага переключения передач в положение "+" (вперед) или положение "-" (назад) происходит поочередная смена диапазона передач.

      3. При таком управлении TCM оптимальным образом управляет переключением передач в выбранном водителем допустимом диапазоне. Когда автомобиль останавливается, выполняется переключение на 1-ю передачу (как в обычной автоматической трансмиссии).

      4. При удержании рычага переключения передач в положении "+" (после сдвига вперед из положения S) независимо от текущего диапазона (S1-S4) устанавливается диапазон передач S5.

        B001B6WE01
        Обозначения на рисунке
        *a Схема переключения передач *b Переходы между диапазонами переключения передач
        *c Перемещение рычага переключения передач в положение "+" (вперед) или "-" (назад). *d Удержание рычага переключения передач в положении "+" (сдвиг вперед).
        B001C08 Диапазон передач по умолчанию - -
        Таблица допустимых передач
        Диапазон передач Состояние индикатора диапазона селектора передач Допустимые передачи
        S5 5 5-я ←→ 4-я ←→ 3-я ←→ 2-я ←→ 1-я
        S4 4 4-я ←→ 3-я ←→ 2-я ←→ 1-я
        S3 3 3-я ←→ 2-я ←→ 1-я
        S2 2 2-я ←→ 1-я
        S1 1 1-я
      5. Когда рычаг переключения передач находится в положении S, на щитке приборов отображается индикатор режима S. Индикатор диапазона селектора передач обеспечивает индикацию выбранного водителем диапазона.

      6. При движении автомобиля с заданной или более высокой скоростью любая попытка переключиться на более низкий диапазон передач с помощью рычага переключения передач будет игнорироваться, чтобы обеспечить защиту автоматической трансмиссии. В то же время TCM дважды включает зуммер на щитке приборов для предупреждения водителя.

  3. ФУНКЦИИ


    1. Система блокировки селектора


      1. Система блокировки селектора не позволяет устанавливать рычаг переключения передач в какое-либо положение помимо P, если замок зажигания не находится в состоянии ON (ВКЛ), и не нажата педаль тормоза. Это предотвращает непреднамеренное трогание автомобиля с места.

      2. Система блокировки селектора работает под управлением ЭБУ блокировки селектора и обеспечивает блокировку селектора и блокировку ключа*.

        *: для моделей без системы посадки и запуска

      3. Функция блокировки ключа не дает извлечь ключ из замка зажигания после выключения зажигания, если рычаг переключения передач не установлен в положение P. Поэтому при парковке водитель вынужден выбирать положение P.

      4. Предусмотрена кнопка разблокировки селектора, которая позволяет вручную отключить механизм блокировки селектора.


        • Для моделей с системой посадки и запуска

          B001BW6E05

        • для моделей без системы посадки и запуска

          B001B7NE04
      5. ЭБУ блокировки селектора определяет положение рычага переключения передач с помощью датчика положения P и принимает сигналы, поступающие от выключателя стоп-сигналов и выключателя зажигания. После получения этих сигналов ЭБУ блокировки селектора включает соленоид блокировки селектора и соленоид блокировки ключа, чтобы снять блокировку селектора и ключа.

        B001BTTE01
    2. Система выбора схемы переключения передач


      1. Система выбора схемы переключения передач дает водителю возможность использовать выключатель режима запуска на 2-й передаче (переключатель выбора режима в сборе) для выбора режима запуска на 2-й передаче, который позволяет автомобилю тронуться с места на 2-й передаче, тем самым облегчая начало движения на заснеженной, песчаной или грязной поверхности.

      2. Когда рычаг переключения передач находится в положении D, либо выбран диапазон S5, S4, S3 или S2, выбор режима запуска на 2-й передаче дает автомобилю возможность тронуться с места на 2-й передаче. Если рычаг переключения передач находится в положении D, либо выбран диапазон S5, S4 или S3, после трогания трансмиссия будет автоматически переключаться на более высокие 3-ю, 4-ю и повышающую передачи обычным способом. Если выбран диапазон S2, трансмиссия продолжит работать на 2-й передаче.

  4. КОНСТРУКЦИЯ


    1. Порядок заправки трансмиссии трансмиссионной жидкостью


      1. Рассмотренный порядок заправки ATF обеспечивает точную установку уровня ATF при ремонте или замене трансмиссии. Применяемые в обычной автоматической трансмиссии патрубок маслоналивной горловины и маслоизмерительный щуп более не используются, что устраняет необходимость проверять уровень жидкости в ходе планового технического обслуживания. Подробную информацию о порядке заправки ATF см. в руководстве по ремонту для данной модели.

      2. В процессе заправки используются пробка наливного отверстия, пробка переливного отверстия, датчик температуры ATF № 2 и индикатор положения D рычага переключения передач.

      3. Порядок заправки ATF в моделях с охладителем ATF воздушного охлаждения отличается от порядка заправки в моделях без охладителя ATF воздушного охлаждения.

        B001BRXE03
        Обозначения на рисунке
        *1 Пробка наливного отверстия *2 Пробка переливного отверстия
        *a Требуемый уровень - -
    2. Муфта гидротрансформатора в сборе


      1. В трансмиссии используется компактная облегченная высокопроизводительная муфта гидротрансформатора в сборе. Муфта гидротрансформатора обеспечивает реализацию гибкого управления муфтой блокировки, что способствует снижению расхода топлива.

        B001BOJE01
        Обозначения на рисунке
        *1 Муфта блокировки *2 Рабочее колесо насоса
        *3 Ротор турбины *4 Статор
        *5 Муфта свободного хода - -
    3. Масляный насос


      1. Масляный насос приводится в действие муфтой гидротрансформатора в сборе. Он смазывает планетарные редукторы и создает рабочее давление жидкости для гидропривода. Двигатель посредством рабочего колеса насоса непрерывно вращает ведущую шестерню переднего масляного насоса. Насос обладает достаточной производительностью для того, чтобы создавать необходимое давление жидкости во всех диапазонах частот вращения, а также в режиме заднего хода.

        B001BZ2E04
        Обозначения на рисунке
        *1 Корпус переднего масляного насоса в сборе *2 Кольцевое уплотнение
        *3 Ведомая шестерня переднего масляного насоса *4 Ведущая шестерня переднего масляного насоса
        *5 Вал статора в сборе *6 Крышка масляного насоса
    4. Планетарный редуктор


      1. Зубчатая передача включает в себя 3 многодисковых муфты, 4 многодисковых тормоза, 3 муфты свободного хода и 3 планетарных передачи, каждая из которых состоит из солнечной шестерни, сателлита и коронной шестерни.

        B001BI4E01
        Обозначения на рисунке (для моделей с двигателем 1GR-FE):
        *1 Первичный вал *2

        Муфта № 2 (C2)

        *3

        Муфта № 1 (C1)

        *4

        Муфта № 3 (C3)

        *5

        Муфта свободного хода № 2 (F1)

        *6

        Муфта свободного хода № 1 (F1)

        *7

        Тормоз № 3 (B3)

        *8 Передняя планетарная передача в сборе
        *9

        Тормоз № 1 (B1)

        *10 Центральная планетарная передача в сборе
        *11

        Тормоз № 2 (B2)

        *12

        Муфта свободного хода № 3 (F3)

        *13

        Тормоз № 4 (B4)

        *14 Задняя планетарная передача в сборе
        *15 Промежуточный вал *16 Выходной вал
        B001BT6E03
        Обозначения на рисунке
        *1 Первичный вал *2 Промежуточный вал
        *3 Передняя планетарная передача в сборе *4 Центральная планетарная передача в сборе
        *5 Задняя планетарная передача в сборе *6 Выходной вал
    5. Механизм подавления центробежной составляющей давления жидкости


      1. В муфтах C1, C2и C3, приводимых в действие при переключении со 2-й передачи на 3-ю, с 3-й на 4-ю и с 4-й на 5-ю, применяется механизм подавления центробежной составляющей давления жидкости.

      2. На переключение муфт влияет не только корпус клапанов, который регулирует давление жидкости, но и центробежная составляющая давления жидкости, присутствующей в поршневой напорной камере муфты. В механизме подавления центробежной составляющей давления жидкости используется камера B, которая уменьшает действие центробежной составляющей давления жидкости на камеру A. В результате обеспечиваются плавное переключение и исключительное быстродействие.

        B001B81E03
        Обозначения на рисунке (для моделей с двигателем 1GR-FE):
        *1

        Камера B (для C3)

        *2

        Камера A (для C2)

        *3

        Поршень (для C3)

        *4

        Поршень (для C2)

        *5

        Муфта № 2 (C2)

        *6

        Муфта № 3 (C3)

        *7

        Камера A (для C3)

        *8

        Камера B (для C2)

        *9

        Камера A (для C1)

        *10

        Поршень (для C1)

        *11

        Камера B (для C1)

        *12

        Муфта № 1 (C1)

      3. Камера B заполняется жидкостью, подводимой к валу для смазки. В результате заполнения камеры B с обеих сторон поршня создаются одинаковые давления жидкости, обусловленные центробежной силой. Как следствие, нейтрализуется действие центробежной составляющей давления жидкости на поршень. Таким образом, устраняется необходимость сливать жидкость через шариковый обратный клапан, благодаря чему обеспечиваются высокое быстродействие и плавность переключения передач.

        B001BJSE12
    6. Корпус клапанов трансмиссии в сборе


      1. Корпус клапанов трансмиссии в сборе состоит из 2 верхних корпусов клапанов (№ 1 и № 2) и нижнего корпуса клапанов, и вмещает 7 электромагнитных клапанов переключения передач.

        B001BEKE05
        Обозначения на рисунке
        *1 Электромагнитный клапан управления линейным давлением в сборе (SLT) *2 Электромагнитный клапан переключения передач (SL1)
        *3 Электромагнитный клапан переключения передач DSL (S1) *4 Электромагнитный клапан трансмиссии № 3 в сборе (S2)
        *5 Верхний корпус клапанов № 2 *6 Пластина
        *7 Верхний корпус клапанов № 1 *8 Нижний корпус клапанов
        *9 Электромагнитный клапан переключения передач S4 (SR) *10 Электромагнитный клапан управления блокировкой в сборе (SLU)
        *11 Электромагнитный клапан переключения передач (SL2) - -
        B001BF5E05
        Обозначения на рисунке
        *1 Верхний корпус клапанов № 1 *2

        Гидроаккумулятор B1

        *3 Клапан блокировки муфты *4 Электромагнитный регулирующий клапан
        *5 Клапан переключения 3-4 *6 Клапан переключения 2-3
        *7 Клапан переключения 1-2 *8

        Регулирующий клапан B1

        *9 Вспомогательный клапан-регулятор *10 Релейный клапан блокировки
        *11 Клапан управления блокировкой *12

        Обратный клапан C3

        *13 Клапан управления тормозной системы - -
        B001BMWE03
        Обозначения на рисунке
        *1 Верхний корпус клапанов № 2 *2 Релейный клапан инерционного тормоза
        B001BB5E05
        Обозначения на рисунке
        *1 Нижний корпус клапанов *2 Первичный клапан-регулятор
        *3 Регулирующий клапан управления сцеплением *4 Клапан последовательности
        *5 Демпфер SLT *6 Клапан управления сцеплением
        *7 Клапан управления гидроаккумулятора - -
    7. Электромагнитные клапаны переключения передач S1, S2 и SR


      1. Электромагнитные клапаны переключения передач DSL (S1) и S4 (SR) представляют собой 3-ходовые электромагнитные клапаны.

      2. Для улучшения эксплуатационной надежности упор электромагнитного клапана снабжен фильтром.

        B001BL9E02
        Обозначения на рисунке
        *1 Электромагнитный клапан переключения передач DSL (S1) *2 Фильтр
        *a Магистральное давление *b Управляющее давление
        *c Слив - -
        B001BMOE02
        Обозначения на рисунке
        *1 Электромагнитный клапан переключения передач S4 (SR) *2 Фильтр
        *a Магистральное давление *b Управляющее давление
        *c Слив - -
      3. Электромагнитный клапан трансмиссии № 3 в сборе (S2) представляет собой 2-ходовой электромагнитный клапан.

        B001BYAE02
        Обозначения на рисунке
        *1 Электромагнитный клапан трансмиссии № 3 в сборе (S2) *2 Фильтр
        *a Магистральное давление *b Управляющее давление
        Назначение электромагнитных клапанов переключения передач S1, S2 и SR
        Электромагнитный клапан переключения передач Функция
        S1 Управляет клапаном переключения передач 2-3.
        S2 Управляет клапанами переключения передач 1-2 и 3-4 .
        SR Управляет регулирующим клапаном управления сцеплением.
    8. Электромагнитные клапаны переключения передач SL1, SL2, SLT и SLU


      1. На основании сигналов, поступающих от ТCM, электромагнитные клапаны переключения передач SL1 и SL2 по линейному закону регулируют давление сцепления, создавая гидравлическое давление, которое пропорционально силе тока, протекающего через катушку электромагнита.

        B001B6CE04
      2. На основании сигналов, поступающих от ТCM, электромагнитный клапан управления линейным давлением в сборе (SLT) по линейному закону регулирует линейное давление, создавая гидравлическое давление, которое пропорционально силе тока, протекающего через катушку электромагнита.

        B001BGDE03
      3. На основании сигналов, поступающих от ТCM, электромагнитный клапан управления блокировкой в сборе (SLU) по линейному закону регулирует давление включения муфты блокировки, создавая гидравлическое давление, которое пропорционально силе тока, протекающего через катушку электромагнита.

        B001C1CE06
        Назначение электромагнитных клапанов переключения передач SL1, SL2, SLT и SLU
        Электромагнитный клапан переключения передач Функция
        SL1
        • Регулирование давления муфты C1

        • Регулирование обратного давления гидроаккумулятора

        SL2

        Регулирование давления тормозов B1, B2и B4

        SLT
        • Управление линейным давлением

        • Регулирование обратного давления гидроаккумулятора

        SLU
        • Регулирование давления муфты блокировки

        • Регулирование обратного давления гидроаккумулятора

    9. Датчик температуры ATF


      1. Датчик температуры ATF № 1 (THO1) обеспечивает регулирование гидравлического давления. Этот датчик применяется для коррекции давления, которое используется для включения муфт и тормозов в трансмиссии. Это способствует улучшению плавности переключения передач.

      2. Датчик температуры ATF № 2 (THO2) является устройством, на основе показаний которого корректируется управление порядком переключения передач в ECT, когда температура ATF высока. Кроме того, он применяется для управления контрольной лампой температуры ATF и выдачей предупреждающего сообщения о высокой температуре ATF.

        B001BQOE03
        Обозначения на рисунке
        *1 Датчик № 1 температуры ATF *2 Датчик № 2 температуры ATF
        *a Передняя сторона - -
    10. Датчики оборотов трансмиссии


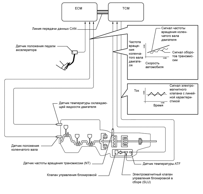
      1. В автоматической трансмиссии автомобиля используется датчик оборотов трансмиссии (которые выдают сигналы NT и SP2). С их помощью TCM может определять порядок переключения передач и, соответственно, регулировать крутящий момент двигателя и гидравлическое давление в зависимости от условий движения.

      2. Эти датчики представляют собой датчики индуктивного типа.

      3. Датчик оборотов трансмиссии, выдающий сигнал NT, определяет частоту вращения первичного вала трансмиссии. В качестве задающего ротора для этого датчика используется поршень муфты заднего хода в сборе.

      4. Датчик оборотов трансмиссии, выдающий сигнал SP2, определяет частоту вращения выходного вала. В качестве задающего ротора для этого датчика используется шестерня блокировки трансмиссии на стоянке, смонтированная на задней планетарной передаче.

        B001BMUE03
        Обозначения на рисунке
        *1 Поршень муфты заднего хода в сборе *2 Датчик оборотов трансмиссии (SP2)
        *3 Датчик частоты вращения трансмиссии (NT) *4 Задняя планетарная передача
        *5 Шестерня блокировки стояночного тормоза - -
    11. Датчик положения паркинга/нейтрали в сборе и датчик положения селектора передач


      1. TCM и ECM используют датчик положения паркинга/нейтрали в сборе и датчик положения селектора передач для определения положения рычага переключения передач.

      2. Датчик положения паркинга/нейтрали в сборе передает в TCM сигналы положений P, R, N, D и сигнал NSW, а в ECM сигнал положения D и сигнал NSW. Исходя из них ТCM передает сигналы для индикатора положения рычага переключения передач (P, R, N и D) на щитке приборов, используя шину CAN.

      3. Датчик положения селектора передач монтируется внутри напольного механизма переключения передач в сборе и обеспечивает распознавание положения режима S и передачу соответствующего сигнала в ТCM. ТCM включает индикатор режима S на щитке приборов.

      4. Датчик положения селектора передач определяет, находится ли рычаг переключения передач в положении D или S, регистрирует перемещение рычага переключения передач [в положение "+" (вперед) или "-" (назад)], если выбран режим S, и передает сигналы в ТCM. При этом ТCM включает индикатор выбранного диапазона передач на щитке приборов, используя шину CAN.

        B001BD1E04
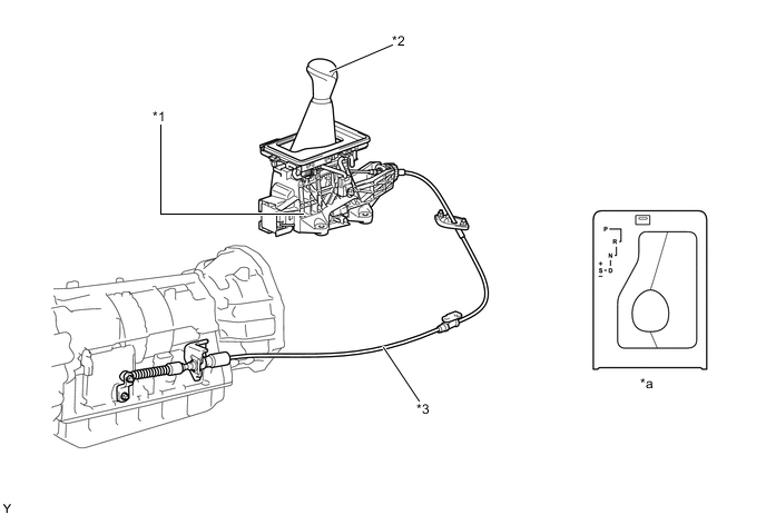
    12. Механизм управления переключением передач


      1. В трансмиссии используется рычаг переключения передач кулисного типа с тросом механизма переключения передач.

      2. Механизм управления переключением передач включает в себя напольный механизм переключения передач в сборе и трос механизма переключения передач в сборе.

        B001BI5E01
        Обозначения на рисунке
        *1 Напольный механизм переключения передач в сборе *2 Рукоятка рычага переключения передач
        *3 Трос механизма переключения передач в сборе - -
        *a Схема переключения передач - -
  5. ПРИНЦИП РАБОТЫ


    1. Передача мощности в трансмиссии

      Условия работы
      Положение рычага переключения передач или диапазон передач Положение рычага переключения передач Электромагнитный клапан переключения передач Сцепление Тормоза Муфта свободного хода
      S1 S2 SR SL1 SL2 SLU

      C1

      C2

      C3

      B1

      B2

      B3

      B4

      F1

      F2

      F3

      P Парковочная Вкл Выкл Выкл Выкл Вкл Выкл - - - - - - - - - -
      R* Заднего хода Вкл Выкл Выкл Выкл Вкл Выкл - - (○) - - - -
      N Нейтральное положение Вкл Выкл Выкл Выкл Вкл Выкл - - - - - - - - - -
      D, S5 1-я Вкл Выкл Выкл Выкл Вкл Выкл - - - - - - - -
      2-я Вкл Вкл Выкл Выкл Вкл Выкл - - - - - -
      3-я Выкл Вкл Выкл Выкл Вкл Выкл - - - - - -
      4-я* Выкл Выкл Выкл Выкл Вкл Выкл - - - - - -
      5-я* Выкл Выкл Вкл Вкл Выкл Вкл - - - - - -
      S4 1-я Вкл Выкл Выкл Выкл Вкл Выкл - - - - - - - -
      2-я Вкл Вкл Выкл Выкл Вкл Выкл - - - - - -
      3-я Выкл Вкл Выкл Выкл Вкл Выкл - - - - - -
      4-я* Выкл Выкл Выкл Выкл Вкл Вкл - - - - - -
      S3 1-я Вкл Выкл Выкл Выкл Вкл Выкл - - - - - - - -
      2-я Вкл Вкл Выкл Выкл Вкл Выкл - - - - - -
      3-я* Выкл Вкл Выкл Выкл Выкл Выкл - (○) - - - -
      S2 1-я Вкл Выкл Выкл Выкл Вкл Выкл - - - - - - - -
      2-я* Вкл Вкл Вкл Выкл Выкл Выкл - - - (○) - -
      S1 1-я* Вкл Выкл Выкл Выкл Выкл Выкл - - - - - (○) - -

      Tech Tips

      ○: действует

      ●: действует, но не участвует в передаче мощности

      (○): действует при торможении двигателем

      -: Не действует

      *: во время торможения двигателем


      1. 1-я передача (рычаг переключения передач в положении D, либо выбран диапазон S5, S4, S3 или S2)

        B001B7I
        Обозначения на рисунке
        B001C08 Действует - -
      2. 2-я передача (рычаг переключения передач в положении D, либо выбран диапазон S5, S4 или S3)

        B001BFK
        Обозначения на рисунке
        B001C08 Действует - -
      3. 3-я передача (рычаг переключения передач в положении D, либо выбран диапазон S5 или S4)

        B001BBR
        Обозначения на рисунке
        B001C08 Действует - -
      4. 4-я передача (рычаг переключения передач в положении D, либо выбран диапазон S5 или S4)

        B001BME
        Обозначения на рисунке
        B001C08 Действует B001BEA действует, но не участвует в передаче мощности
      5. 5-я передача (рычаг переключения передач в положении D, либо выбран диапазон S5)

        B001BGN
        Обозначения на рисунке
        B001C08 Действует B001BEA действует, но не участвует в передаче мощности
      6. 1-я передача (выбран диапазон S1)

        B001BN2
        Обозначения на рисунке
        B001C08 Действует - -
      7. 2-я передача (выбран диапазон S2)

        B001BSG
        Обозначения на рисунке
        B001C08 Действует - -
      8. 3-я передача (выбран диапазон S3)

        B001BBO
        Обозначения на рисунке
        B001C08 Действует B001BEA действует, но не участвует в передаче мощности
      9. Передача заднего хода (рычаг переключения передач в положении R)

        B001BP9
        Обозначения на рисунке
        B001C08 Действует B001B8G действует при торможении двигателем
  6. РАБОТА В АВАРИЙНОМ РЕЖИМЕ


    1. Аварийный режим работы сводит к минимуму ухудшение эксплуатационных качеств автомобиля при выходе из строя какого-либо датчика или электромагнитного клапана.

      Перечень действий в аварийном режиме
      Неисправная деталь Функция
      Датчик частоты вращения трансмиссии (NT)
      • При неисправности датчика оборотов трансмиссии NT управление переключением осуществляется с использованием сигнала датчика оборотов трансмиссии SP2.

      • При неисправности датчика оборотов трансмиссии NT переключение на более высокую 5-ю передачу, управление AI-shift и гибкое управление муфтой блокировки запрещаются.

      Датчик оборотов трансмиссии (SP2)
      • При неисправности датчика оборотов трансмиссии SP2 управление переключением осуществляется с использованием сигнала датчика оборотов трансмиссии NT.

      • При неисправности датчика оборотов трансмиссии SP2 переключение на более высокую 5-ю передачу, управление AI-shift и гибкое управление муфтой блокировки запрещаются.

      Датчик температуры ATF № 1 (THO1) При неисправности датчика температуры ATF № 1 переключение на более высокую 5-ю передачу и гибкое управление муфтой блокировки запрещаются.
      Электромагнитные клапаны переключения передач S1, S2 и SR
      • В случае выхода из строя какого-либо из указанных слева электромагнитных клапанов переключения передач неисправный электромагнитный клапан обесточивается.

      • Система управления переключением передач переходит в аварийный режим работы и начинает осуществлять переключение передач с помощью исправных электромагнитных клапанов, обеспечивая продолжение движения.

      Электромагнитные клапаны переключения передач SL1 и SL2 При неисправности электромагнитного клапана переключения передач SL1 или SL2 переключение на более высокую 5-ю передачу и гибкое управление муфтой блокировки запрещаются.
      Электромагнитный клапан управления линейным давлением в сборе (SLT) При неисправности электромагнитного клапана управления линейным давлением в сборе (SLT) этот электромагнитный клапан обесточивается. В результате оптимальное управление линейным давлением прекращает действовать, и толчок при включении передачи усиливается. Переключение передач осуществляется путем обычного регулирования давления сцепления.
      Электромагнитный клапан управления блокировкой в сборе (SLU) При неисправности электромагнитного клапана управления блокировкой в сборе (SLU) этот электромагнитный клапан обесточивается. В результате управление блокировкой и гибкое управления блокировкой прекращают действовать, и повышается расход топлива.
  7. ДИАГНОСТИКА


    1. Когда TCM обнаруживает неисправность, он производит диагностику и сохраняет в памяти данные о неисправном узле. Кроме того, TCM включает или заставляет мигать контрольную лампу неисправности (MIL) на щитке приборов, информируя водителя о неисправности.

    2. Также TCM сохраняет в памяти диагностические коды неисправностей (DTC).

    3. Коды DTC можно считать, подключив Global TechStream (GTS) к разъему DLC3.

    4. Более подробную информацию см. в руководстве по ремонту.