СИСТЕМА СМАЗКИ


  1. КОНСТРУКЦИЯ


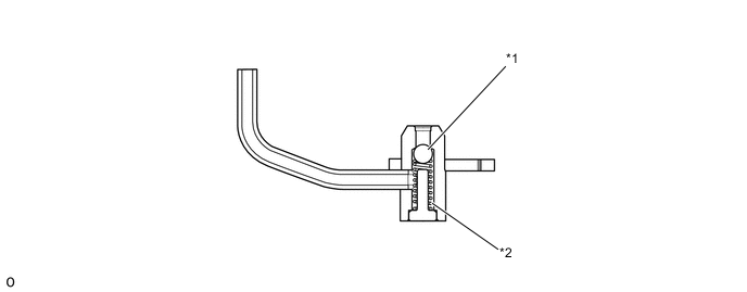
    1. Масляная форсунка


      1. В блоке цилиндров размещены масляные форсунки № 1, предназначенные для охлаждения и смазки поршней.

      2. В масляной форсунке № 1 имеется запорный шарик, предотвращающий подачу масла при недостаточном давлении. Это препятствует падению общего давления масла в двигателе.

        A01UL2XE02
        Обозначения на рисунке
        *1 Запорный шарик *2 Пружина сжатия