СИСТЕМА СМАЗКИ


  1. КОНСТРУКЦИЯ


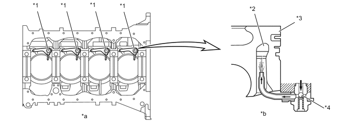
    1. Штуцер подачи масла № 1 в сборе


      1. В блоке цилиндров размещены масляные форсунки № 1, предназначенные для охлаждения и смазки поршней.

      2. В масляных форсунках № 1 имеется запорный шарик, предотвращающий подачу масла, когда его давление мало. Это препятствует падению общего давления масла в двигателе.

        A01UKJRE02
        Обозначения на рисунке
        *1 Штуцер подачи масла № 1 в сборе *2 Охлаждающий канал
        *3 Поршень *4 Запорный шарик
        *a Вид снизу *b Сечение масляной форсунки
        B001BOY Моторное масло - -