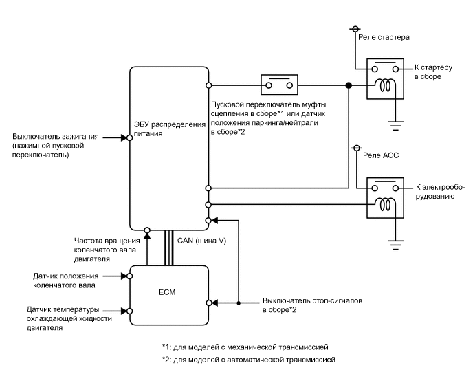
СИСТЕМА ЗАПУСКА

B001BRZE03