ТОПЛИВНАЯ СИСТЕМА


  1. УПРАВЛЕНИЕ В СИСТЕМЕ


    1. Топливная система Common Rail


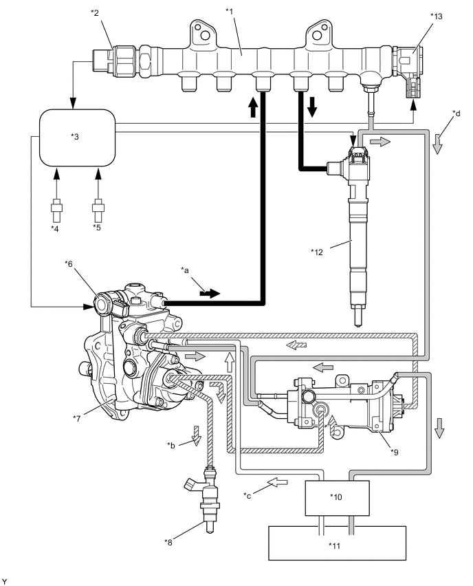
      1. В этой системе топливо, подаваемое нагнетающим насосом под высоким давлением, накапливается в топливной система Common Rail, а ECM регулирует моменты и объем впрыска топлива.

        A01UKW3E06
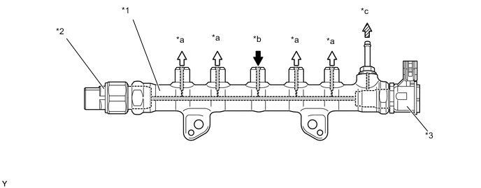
        Обозначения на рисунке
        *1 Топливная система Common Rail в сборе *2 Датчик давления топлива
        *3 ECM *4 Датчик положения коленчатого вала
        *5 Датчик положения распредвала *6 Клапан регулирования свободного хода
        *7 Топливный насос высокого давления или нагнетающий насос в сборе *8 Дополнительная форсунка подачи топлива в выпускную трубу в сборе
        *9 Топливный фильтр под давлением *10 Топливный фильтр в сборе
        *11 Топливный бак в сборе *12 Форсунка в сборе
        *13 Клапан сброса давления - -
        *a Топливо (под высоким давлением) *b Топливо (давление подачи)
        *c Топливо (всасываемое) *d Топливо (возвратное)
  2. КОНСТРУКЦИЯ


    1. Нагнетающий насос


      1. Используется топливный насос высокого давления или нагнетающий насос типа HP5S.

      2. Топливный насос высокого давления или нагнетающий насос состоит из кулачкового вала, плунжера, обратного клапана, клапана регулирования свободного хода и подкачивающего насоса.

        A01UL1NE02
        Обозначения на рисунке
        *1 Клапан регулирования свободного хода *2 Плунжер
        *3 Пружина *4 Колодка
        *5 Ролик *6 Распредвал
        *7 Двойной кулачок *8 Запорный шарик
        *a К дополнительной форсунке подачи топлива в выпускную трубу и к топливному фильтру под давлением *b Канал возврата топлива (к топливному фильтру под давлением)
        *c Канал подвода топлива (из топливного бака) *d К топливной системе Common Rail в сборе
        Технические характеристики нагнетающего насоса
        Тип HP5S
        Длина B 202,2 мм (7,96 дюйма)
        C 144,6 мм (5,69 дюйма)
        Клапан регулирования свободного хода 1
        Плунжер φ 6,5 мм x 1
        Груз 3970 г (8,75 фунта)
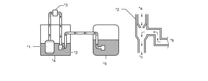
    2. Топливная система Common Rail


      1. Топливная система Common Rail предназначена для накопления топлива, которое подает под давлением насос высокого давления или нагнетающий насос.

      2. Система Common Rail имеет датчик давления топлива и клапан сброса давления.

      3. Датчик давления в топливной системе определяет давление топлива в системе Common Rail.

      4. Клапан сброса давления регулирует давление в топливной системе. Плунжер в клапане сброса давления открывается и закрывается в соответствии с сигналами включения от ЕСМ. Таким образом он регулирует давление путем сброса избыточного давления в топливной системе Common Rail. Кроме того, он обеспечивает снижение давления в аварийной ситуации.

        A01UKOBE02
        Обозначения на рисунке
        *1 Топливная система Common Rail в сборе *2 Датчик давления топлива
        *3 Клапан сброса давления - -
        *a К форсунке в сборе *b От топливного насоса высокого давления или нагнетающего насоса в сборе
        *c К топливному баку (избыточное давление) - -
    3. Форсунка


      1. К основным узлам форсунки относятся игла распылителя, распределительная пластина и электромагнитный клапан.

      2. На форсунке отпечатаны компенсационный и быстросчитываемый (QR) коды, посредством которых шифруются характеристики форсунки.

      3. Компенсационный код и код QR заключают в себе различные сведения о форсунке – такие, как код модели и поправка для объема впрыска топлива.

        A01UKN0E02
        Обозначения на рисунке
        *1 Электромагнитный клапан *2 Игла распылителя
        *3 Форсунка с низким объемом откачивания *4 Распределительная пластина
        *5 Компенсационный код форсунки *6 Код QR
    4. Топливный фильтр


      1. Используется патронный топливный фильтр.

      2. При этом используемый бумажный фильтрующий элемент обеспечивает высокоэффективную фильтрацию и способен задерживать мельчайшие частицы.

      3. Топливный фильтр в сборе снабжен датчиком состояния топливного фильтра.

        A01UKJPE03
        Обозначения на рисунке
        *1 Датчик состояния топливного фильтра (вакуумный переключатель) *2 Фильтрующий элемент топливного фильтра
        *3 Датчик присутствия воды в отстойнике топливного фильтра - -
    5. Топливный бак


      1. Используется двойной топливный бак.*


        • *: для моделей с двойным топливным баком

  3. ПРИНЦИП РАБОТЫ


    1. Нагнетающий насос


      1. При вращении кулачка ролик отжимается вверх, в свою очередь, плунжер также отжимается вверх. Когда плунжер не отжимается вверх кулачком, он отжимается вниз пружиной.

        A01UL5SE02
        Обозначения на рисунке
        *1 Клапан регулирования свободного хода *2 Плунжер
        *3 Пружина *4 Колодка
        *5 Ролик *6 Двойной кулачок
      2. ECM управляет временем закрывания клапана регулирования свободного хода при перемещении плунжера вверх для регулирования объема подачи топлива. В результате в топливной системе Common Rail поддерживается требуемое давление впрыска.

      3. При закрывании клапана регулирования свободного хода во время перемещения плунжера вверх давление топлива повышается. Когда давление топлива превышает давление в системе Common Rail, топливо подается в систему Common Rail.

      4. При задержке времени закрывания клапана регулирования свободного хода, продолжительность ходов подачи давления будет сокращаться также, как и объем сливаемого топлива.

        A01ULA7E01
        Обозначения на рисунке
        *a Возвратное топливо - -
      5. При сокращении времени закрывания клапана регулирования свободного хода, продолжительность ходов подачи давления будет увеличиваться также, как и объем сливаемого топлива.

      6. При закрывании клапана регулирования свободного хода во время перемещения плунжера вверх давление топлива повышается. Когда давление топлива превышает давление в системе Common Rail, топливо подается в систему Common Rail.

        A01UKD2
    2. Форсунка


      1. Ток проходит через катушку электромагнита и клапан оттягивается вверх.

      2. Топливо вытекает из отверстия (выпускного) в камеру управления.

      3. Давление топлива в камере управления падает.

      4. Игла распылителя перемещается вверх под действие перепада давления над ней и под ней.

      5. Топливо впрыскивается через форсунку.

      6. Подача тока через катушку электромагнита прекращается и управляющий клапан закрывается.

      7. Топливо течет в камеру управления через отверстие (впускное) и распределительная пластина перемещается вниз.

      8. Давление в камере управления повышается, в результате чего сила, действующая над иглой форсунки и под ней, изменяет направление под действием давления топлива.

      9. Игла распылителя опускается и закрывается, останавливая впрыск.

      10. Когда давление в камере управления выравнивается, распределительная пластина поднимается вверх под действием силы пружины.

        A01UL9BE02
        Обозначения на рисунке
        *1 Управляющий клапан *2 Выпускное отверстие
        *3 Распределительная пластина *4 Впускное отверстие
        *5 Камера управления - -
        *a Перед впрыском топлива *b Впрыск топлива
        *c После впрыска топлива - -
        B001BEA Топливо под высоким давлением B001B8G Топливо низкого давления
    3. Топливный фильтр


      1. Когда количество воды в отстойнике топливного фильтра достигает определенного значения, датчик присутствия воды в отстойнике переходит во включенное состояние, начинает мигать контрольная лампа на щитке приборов, и включается многофункциональный зуммер.*1

      2. Когда количество воды в отстойнике топливного фильтра достигает определенного значения, датчик присутствия воды в отстойнике переходит во включенное состояние, на мультиинформационном дисплее щитка приборов отображается соответствующее сообщение, загорается контрольная лампа на щитке приборов, и включается многофункциональный зуммер. Подробную информацию см. в разделе "ИЗМЕРИТЕЛЬНЫЕ ПРИБОРЫ И ИНДИКАТОРЫ".*2

      3. Топливный фильтр снабжается датчиком состояния топливного фильтра, который срабатывает, когда возрастает степень вакуума внутри фильтра. Этот датчик посредством жгута проводов соединяется со щитком приборов в сборе и выключается, когда степень разрежения внутри топливного фильтра достигает заданного уровня.

        A01UL6UE03
      4. Когда щиток приборов в сборе (по сигналу выключения датчика состояния топливного фильтра) обнаруживает, что степень разрежения внутри топливного фильтра возросла, он заключает, что топливный фильтр засорен. После этого он включает контрольную лампу топливной системы на щитке приборов, чтобы предупредить водителя о необходимости замены топливного фильтра.*1

      5. Когда щиток приборов в сборе (по сигналу выключения датчика состояния топливного фильтра) обнаруживает, что степень разрежения внутри топливного фильтра возросла, он заключает, что топливный фильтр засорен. После этого он отображает соответствующее сообщение на мультиинформационном дисплее щитка приборов, чтобы предупредить водителя о необходимости замены топливного фильтра. Подробную информацию см. в разделе "ИЗМЕРИТЕЛЬНЫЕ ПРИБОРЫ И ИНДИКАТОРЫ".*2

        A01UKT5E02

        • *1: для моделей с щитком приборов аналогового типа

        • *2: для моделей с оригинальной системой подсветки щитка приборов "Optitron"

    4. Топливный бак


      1. На моделях с двойным топливным баком в основном топливном баке установлены топливный насос и насос-эжектор, которые обеспечивают подачу топлива из расширительного топливного бачка в основной топливный бак. Для этого используется поток топлива через насос-эжектор. Разность давлений, создаваемая топливом при прохождении через трубку Вентури, обеспечивает откачивание топлива из расширительного топливного бачка в основной топливный бак.

        A01UKREE02
        Обозначения на рисунке
        *1 Топливный насос в сборе *2 Насос-эжектор
        *3 Фильтр топливного насоса в сборе *4 Главный топливный бак
        *5 Расширительный топливный бачок - -
        *a От топливного насоса *b От расширительного топливного бачка
        *c К главному топливному баку - -