БЛОК ДВИГАТЕЛЯ


  1. КОНСТРУКЦИЯ


    1. Крышка головки блока цилиндров


      1. Для облегчения конструкции и снижения уровня шума крышка головки блока цилиндров изготавливается из пластмассы.

      2. На внутренней стороны крышки головки блока цилиндров имеется отражающая пластина, которая сокращает расход моторного масла на картерные газы.

        A01UKGTE02
        Обозначения на рисунке
        *1 Крышка головки блока цилиндров № 2 *2 Крышка головки блока цилиндров
        *3 Отражатель поддона картера - -
        *a Сечение A - A - -
    2. Прокладка головки блока цилиндров


      1. Используется многослойная стальная прокладка головки блока цилиндров

      2. Для увеличения поверхности уплотнения предусмотрена шайба, которая располагается по краю отверстия цилиндра и обеспечивает исключительную герметичность.

        A01UKQJE03
        Обозначения на рисунке
        *1 Прокладка головки блока цилиндров *2 Шайба
        *a Сечение F - F *b Сторона отверстия цилиндра
        *c Наружная сторона - -
        B001B9L Передняя сторона - -

        Tech Tips

        Используются новые прокладки головки блока цилиндров с 5 типоразмерами, обозначаемые буквами "A", "B", "C", "D" и "E" в соответствии с выступанием поршня. Более подробную информацию см. в Руководстве по ремонту.

    3. Головка блока цилиндров


      1. Головка блока цилиндров изготавливается из алюминиевого сплава. Для улучшения рабочих характеристик двигателя и снижения токсичности отработавших газов форсунки располагаются в центре камеры сгорания.

      2. 2 впускных канала с различными формами объединены, благодаря чему оптимизируется завихрение воздуха в цилиндре, и улучшается смешивание воздуха с топливом.

      3. Водяная рубашка имеет вертикальную 2-ступенчатую конструкцию, что повышает эффективность охлаждения.

      4. Чтобы улучшить пусковую характеристику двигателя, между впускными каналами каждого цилиндра устанавливаются свечи накаливания.

      5. В головке блока цилиндров предусмотрен канал для рециркуляции отработавших газов. Охлаждение отработавших газов обеспечивает рециркуляцию большого количества отработавших газов.

      6. На моделях с системой управления РОГ предусмотрена плоская крышка отверстия РОГ, которая перекрывает канал РОГ.

      7. Для крепления головки блока цилиндров применяются удлиняющиеся при затяжке стягивающие болты.

        A01UKLOE03
        Обозначения на рисунке
        *1 Отверстие сопла форсунки *2 Канал EGR
        *3 Отверстие для свечи накаливания *4 Отверстие выпускного клапана
        *5 Отверстие впускного клапана *6 Водяная рубашка
    4. Блок цилиндров


      1. Блок цилиндров изготавливается из чугунного сплава и не имеет гильз.

        A01UL1J
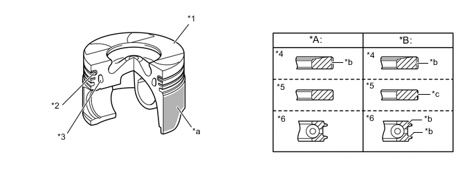
    5. Поршень


      1. Используется поршень, снабженный камерой сгорания.

      2. Поршень изготавливается из алюминиевого сплава.

      3. Предусмотрен охлаждающий канал, уменьшающий температуру поршня и повышающий надежность.

      4. Для повышения износостойкости в канавку верхнего кольца введен нирезистовый кольцевой держатель.

      5. Поверхности компрессионного кольца № 1 имеют покрытие, нанесенное осаждением из паров, что улучшает их износостойкость.

      6. На всех моделях, кроме моделей, удовлетворяющих нормам токсичности отработавших газов EURO 4, на поверхность компрессионного кольца № 2 наносится хромирующее покрытие, повышающее его износостойкость.

      7. На всех моделях, кроме моделей, удовлетворяющих нормам токсичности отработавших газов EURO 4, поверхность маслосъемного кольца имеет покрытие, нанесенное осаждением из паров (PVD).

      8. На определенный участок юбки поршня наносится полимерное покрытие, что способствует снижению потерь от трения.

        A01UL1VE02
        Обозначения на рисунке
        *A Для моделей, удовлетворяющих нормам токсичности отработавших газов EURO 4 *B Кроме моделей, удовлетворяющих нормам токсичности отработавших газов EURO 4
        *1 Поршень *2 Нирезистовый кольцевой держатель
        *3 Охлаждающий канал *4 Компрессионное кольцо № 1
        *5 Компрессионное кольцо № 2 *6 Маслосъемное кольцо
        *a Полимерное покрытие *b Покрытие, нанесенное осаждением из паров
        *c Хромирование - -
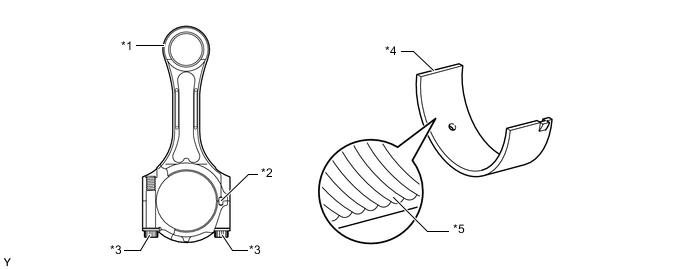
    6. Шатун и подшипник шатуна


      1. Шатуны изготавливаются из высокопрочного материала, обеспечивающего надлежащую прочность конструкции.

      2. На сопрягаемых поверхностях крышек шатунных подшипников для минимизации смещения крышек подшипников во время сборки установлены штифты.

      3. Крепление осуществляется с помощью удлиняющихся при затяжке стягивающих болтов.

      4. Подшипники шатунов изготавливаются из алюминия.

      5. Благодаря микроканавкам на поверхности вкладыша подшипника шатуна достигается оптимальный масляный зазор. Как следствие, облегчается запуск холодного двигателя, и ослабляются вибрации двигателя.

        A01UKKQE02
        Обозначения на рисунке
        *1 Шатун в сборе *2 Штифт
        *3 Удлиняющийся при затяжке стягивающий болт *4 Подшипник шатуна
        *5 Микроканавки - -
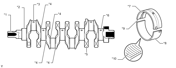
    7. Коленчатый вал и подшипник коленчатого вала


      1. Коленчатый вал имеет 5 шеек и 8 противовесов.

      2. Все галтели шатунных и коренных шеек соответствующим образом обработаны с тем, чтобы обеспечивалась необходимая прочность.

      3. Подшипник коленчатого вала изготавливается из алюминиевого сплава.

      4. Благодаря микроканавкам на поверхности вкладыша подшипника коленчатого вала достигается оптимальный масляный зазор. Как следствие, облегчается запуск холодного двигателя, и ослабляются вибрации двигателя.

      5. На внутренней окружности верхнего коренного подшипника предусмотрена смазочная канавка.

        A01UKQWE02
        Обозначения на рисунке
        *1 Коленчатый вал *2 Для шейки № 1
        *3 Смазочное отверстие *4 Обработано обкатыванием
        *5 Противовес *6 Шейка № 5
        *7 Верхний подшипник коленчатого вала *8 Нижний подшипник коленчатого вала
        *9 Смазочная канавка *10 Микроканавки
    8. Уравновешивающий вал


      1. В 4-цилиндровых двигателях с рядным расположением цилиндров основной причиной вибрации является несбалансированная сила инерции возвратно-поступательных деталей - таких, как поршни и шатуны. Вибрация двигателя уменьшается за счет применения 2 уравновешивающих валов, подавляющих несбалансированную силу инерции и снижающих тем самым шум двигателя (гул).

      2. Эти уравновешивающие валы встроены в блок цилиндров. Уравновешивающие валы приводятся в движение зубчатым колесом и вращаются вдвое быстрей коленчатого вала в противоположных направлениях друг к другу.

        A01UKE0E02
        Обозначения на рисунке
        *1 Уравновешивающий вал № 1 в сборе *2 Уравновешивающий вал № 2 в сборе
        *3 Ведущая шестерня нагнетающего насоса *4 Промежуточная шестерня
        *5 Ведущая шестерня привода газораспределения *6 Ведущая шестерня масляного насоса
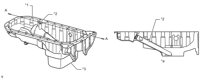
    9. Масляный поддон


      1. Масляный поддон в сборе изготавливается из алюминиевого сплава.

      2. Чтобы упростить конструкцию сетчатого масляного фильтра, в масляный поддон встроен канал для масла.

        A01UL5HE02
        Обозначения на рисунке
        *1 Поддон картера *2 Канал для масла
        *3 Поддон картера № 2 - -
        *a Сечение A - A - -
    10. Клапанный механизм


      1. Каждый цилиндр имеет 2 впускных клапана и 2 выпускных клапана. За счет увеличения суммарной площади каналов повышена эффективность системы впуска и выпуска.

      2. Клапаны закрываются и открываются непосредственно 2 распредвалами.

      3. Распредвал (впускных клапанов) приводится в движение приводным ремнем газораспределения, а распредвал № 2 (выпускных клапанов) – шестернями на распредвале (впускных клапанов).

      4. В целях уменьшения шума для привода распредвала № 2 (выпускных клапанов) используются шестерни малого диаметра с плоскими зубьями.

        A01UKODE02
        Обозначения на рисунке
        *1 Приводной ремень газораспределения *2 Ведущая шестерня распредвала
        *3 Распредвал № 2 (распредвал выпускных клапанов) *4 Распредвал (распредвал впускных клапанов)
        *5 Уравновешивающий вал - -
    11. Распредвал


      1. Рабочие выступы кулачков закалены для повышения сопротивления абразивному изнашиванию.

        A01UL9ME03
        Обозначения на рисунке
        *1 Распредвал № 2 (распредвал выпускных клапанов) *2 Ведомая шестерня распредвала
        *3 Распредвал (распредвал впускных клапанов) *4 Ведущая шестерня распредвала
        B001BEA Закаленная поверхность - -
    12. Впускные и выпускные клапаны


      1. Наряду с увеличением высоты подъема клапанов применяются беспрокладочные толкатели клапанов, которые обеспечивают большую контактную поверхность кулачка.

      2. Регулировка зазора в приводе клапана осуществляется путем подбора и установки соответствующего толкателя клапана.

        A01UL85E02
        Обозначения на рисунке
        *1 Распредвал *2 Толкатель клапана

        Tech Tips

        Когда требуется регулировка зазора в приводе клапанов, толкатели клапанов необходимо заменить. В этих целях в качестве запасных частей для ремонта поставляются толкатели клапанов различной толщины. Более подробную информацию см. в Руководстве по ремонту.

    13. Регулировочный шестеренный привод


      1. Ведущее зубчатое колесо привода газораспределения приводит в движение нагнетающий насос, вакуумный насос, масляный насос и уравновешивающие валы.

      2. С целью уменьшения шума конструкция промежуточной шестерни спереди и сзади включает разрезную шестерню.

        A01UKYEE03
        Обозначения на рисунке
        *1 Зубчатое колесо распредвала № 2 *2 Автоматический регулятор натяжения
        *3 Зубчатое колесо распредвала № 1 *4 Приводная шестерня уравновешивающего вала
        *5 Ведущая шестерня нагнетающего насоса *6 Ведущая шестерня вакуумного насоса
        *7 Промежуточная шестерня *8 Ведущая шестерня привода газораспределения
        *9 Ведущая шестерня масляного насоса - -
    14. Крышка газораспределительного механизма


      1. Датчик положения коленчатого вала и датчик положения распредвала монтируются на крышке газораспределительного механизма.

        A01UKU3E03
        Обозначения на рисунке
        *1 Крышка газораспределительного механизма *2 Датчик положения коленчатого вала
        *3 Датчик положения распредвала - -
    15. Поликлиновой ремень


      1. Узлы вспомогательного оборудования приводятся в движение приводным ленточным ремнем, который представляет собой отдельный поликлиновой ремень. В результате снижаются общая длина, масса и количество деталей двигателя.

      2. Благодаря автоматическому регулятору натяжения не требуется регулировать натяжение ремня.

        A01UKKNE02
        Обозначения на рисунке
        *A для моделей без дополнительного подогревателя *B для моделей с дополнительным подогревателем
        *1 Шкив коленчатого вала *2 Опорный ролик автоматического регулятора натяжения
        *3 Шкив генератора *4 Шкив насоса системы охлаждения
        *5 Опорный ролик *6 Шкив компрессора системы кондиционирования
        *7 Шкив дополнительного подогревателя - -
    16. Кронштейны опор


      1. Передние опоры двигателя являются электрогидравлическими.

      2. Передняя опора двигателя состоит, главным образом, из резинового наполнителя, жидкостной камеры № 1, жидкостной камеры № 2 и мембраны. Жидкость герметично закрыта в жидкостных камерах № 1 и № 2.

      3. Вакуумный насос посредством VSV создает разрежение в опоре двигателя. Под действием вакуума происходит опускание мембраны, которая открывает/закрывает каналы, соединяющие жидкостные камеры № 1 и № 2.

      4. Жидкостные камеры № 1 и № 2 используют два канала для жидкости: канал № 1, который остается подключенным всегда, независимо от того, закрыта или открыта мембрана; и канал № 2, который подключается только в случае открывания мембраны. Через эти два канала жидкость перетекает туда и обратно между жидкостными камерами № 1 и № 2, тем самым, ограничивая вибрацию.

        A01UL78E02
  2. ПРИНЦИП РАБОТЫ


    1. Уравновешивающий вал


      1. В 4-цилиндровом двигателе с рядным расположением цилиндров цилиндры № 1 и № 4 имеют строго противоположный (180°) угол поворота коленчатого вала относительно цилиндров № 2 и № 3. Поэтому внутренние силы поршней и шатунов 2-х последних цилиндров практически уравновешиваются соответствующими силами 2-х первых цилиндров. Однако так как положение, в котором поршень достигает максимальной скорости, смещено относительно середины хода к верхней мертвой точке, направленная вверх сила инерции превышает силу инерции, направленную вниз. Эта неуравновешенная сила инерции второго порядка создается дважды при каждом обороте коленчатого вала.

        A01UL1AE14
        *1 Верхняя мертвая точка
        *2 Положение макс. скорости
        *3 Нижняя мертвая точка
        A01UL7WE23
      2. Чтобы нейтрализовать неуравновешенную силу инерции второго порядка, 2 уравновешивающих вала поворачиваются дважды на каждый оборот коленчатого вала и создают силу инерции в противоположном направлении. Кроме того, в целях подавления силы инерции, создаваемой самим уравновешивающим валом, фактически он состоит из 2 валов, вращающихся в противоположных направлениях.

        A01UKKLE10