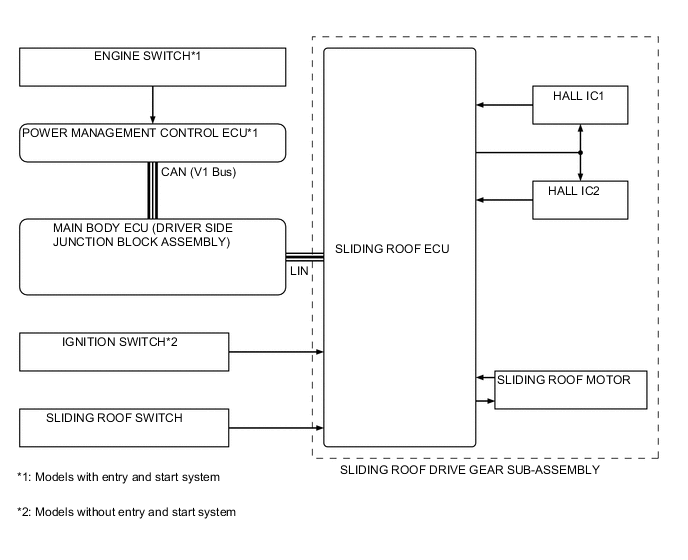
SLIDING ROOF SYSTEM

B001C1FE03