METER / GAUGE SYSTEM


  1. CONSTRUCTION


    1. Opening/Ending Ceremony


      • An opening ceremony which allows for anticipation of a pleasant drive is used. The opening ceremony operates as follows:


        1. When the ignition switch is turned to ON, the needles of the speedometer, tachometer, engine coolant temperature gauge and fuel gauge illuminate.

        2. Then, the gauges and panels of the speedometer, tachometer, engine coolant temperature gauge, fuel gauge and multi-information display illuminate.

        3. When the ignition switch is turned off, the panels and needles of the speedometer, tachometer, engine coolant temperature gauge and fuel gauge fade out.

        4. Then, the multi-information display fades out.

          B001B95C01
          *a Ignition Switch Turned to ON *b Ignition Switch Turned Off
          *c The illustrations shown are examples only. - -
    2. Multi-information Display (Models with Optitron Display Type Combination Meter Assembly)


      • The multi-information display is located at the center of the combination meter assembly.

      • The multi-information display shows the following information.

        Item Outline
        Shift Position Indicator*1 The current shift position is displayed.
        Indicator/Warning
        • When the display conditions are met, the following indicators illuminate.


          • Cruise Control Indicator (Constant Speed Control Mode)*2,*3

          • Cruise Control Indicator (Vehicle-to-vehicle Distance Control Mode)*3

          • Cruise SET Indicator*2, *3

          • Lane Departure Alert Indicator*3

          • Multi-terrain Select Indicator*4

          • CRAWL Indicator*4

        Outside Temperature
        • The outside temperature is displayed.

        • When the outside temperature drops below 3°C (37°F), a warning sign is displayed on the outside temperature display area to warn the driver to drive with caution due to possibly icy road conditions. After the warning sign flashes 10 times, the sign stays on. When the temperature reaches 5°C (41°F), the warning sign goes off.

        Drive Mode*5

        The currently selected drive mode is displayed:


        • ECO Mode

        • SPORT Mode*6

        • SPORT S Mode*7

        • SPORT S+ Mode*7

        • COMFORT Mode*7

        Multi-terrain Select*4 Displays operating mode of multi-terrain select.
        CRAWL Control*4 Displays operating mode of CRAWL control.
        Information

        The following information can be displayed on the multi-information display by switching the tabs.


        • Drive Information

        • Vehicle Information

        • Navigation Information

        • Audio Information

        • Driving Assist System Information*3

        • Warning Message

        • Settings

        Vehicle Power Source State
        • The vehicle power source state is displayed.

        • The following indicator is displayed on the multi-information display.


          • Smart Indicator

        ODO/TRIP Meter
        • The odometer, trip meter A or trip meter B is displayed.

        • The item shown can be switched by using the ODO/TRIP switch.

        Light Control Rheostat Meter panel luminance can be changed by using the rheostat switch.

        *1: Models with automatic transmission

        *2: Models with cruise control system

        *3: Models with Toyota Safety Sense

        *4: Models with multi-terrain select

        *5: Models with drive mode select

        *6: Models without AVS

        *7: Models with AVS

      • The drive information shows the following information.

        Item Outline
        Drive Information
        • The following items can be displayed.


          • After Start


            1. Average Fuel Consumption After Engine Start-up

            2. Average Vehicle Speed After Engine Start-up

            3. Elapsed Time After Engine Start-up


          • After Reset


            1. Current Fuel Consumption (Bar Display)

            2. Average Fuel Consumption Between Reset Operations

            3. Total Average Vehicle Speed Between Reset Operations

            4. Total Elapsed Time Between Reset Operations


          • After Refuel


            1. Cruising Range

            2. Average Fuel Consumption After Refueling


          • Eco Driving Indicator Zone Display*1

          • Vehicle Speed Display

          • Sway Warning*2

          • Blank

        *1: Models with automatic transmission

        *2: Models with Toyota Safety Sense

      • The vehicle information shows the following information.

        Item Outline
        Vehicle Information
        • The following items can be displayed.


          • TOYOTA Parking Assist-sensor System, Door Open Warning and Steering Angle Display

          • Tire Inflation Pressure Display*

          • Clinometer Display

          • Traction and Differential Lock and Steering Angle Display

        *: Models with tire pressure warning system


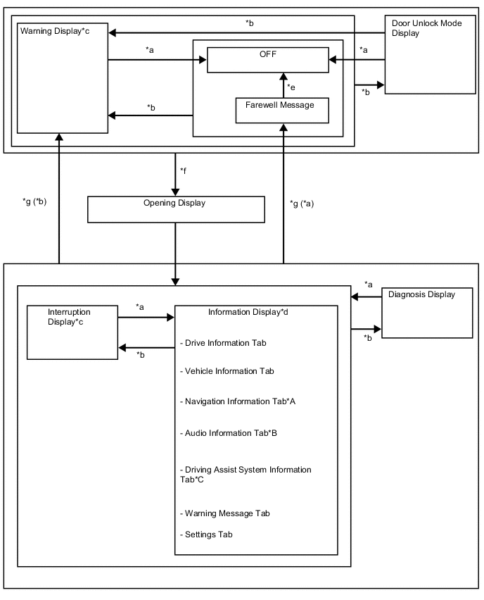
      1. Display Function Flow


        • The multi-information display flow can be switched as shown in the flowchart below:

          B001BNUE06
          *A Models with Navigation System
          *B Models with Navigation System or Display Audio System
          *C Models with Toyota Safety Sense
          *a Conditions are not met.
          *b Conditions are met.
          *c If there are multiple display requests, items will be displayed in sequence.
          *d Item or display is selected by operating the steering pad switch assembly.
          *e ODO display is displayed for a certain period of time after the ignition switch is turned off.
          *f Ignition switch off to ON.
          *g Ignition switch ON to off.
      2. Display Tab Operation


        • The information currently displayed can be switched using the RIGHT switch or LEFT switch of the steering pad switch assembly.

          B001BBGC01
          *A Models with Navigation System *B Models with Navigation System or Display Audio System
          *C Models with Toyota Safety Sense - -
          *a Drive Information Tab *b Vehicle Information Tab
          *c Navigation Information Tab *d Audio Information Tab
          *e Driving Assist System Information Tab *f Warning Message Tab
          *g Settings Tab *h The illustrations shown are examples only.
          B001B9L RIGHT Switch Operation B001BOY LEFT Switch Operation
      3. Drive Information


        • The drive information tab shows vehicle information such as drivable range and fuel consumption.

        • The drive information display can be changed by using the UP/DOWN/ENTER switch of the steering pad switch assembly.

          B001BDGC01
          *A Models with Automatic Transmission *B Models with Toyota Safety Sense
          *a After Start *b After Reset
          *c After Refuel *d Eco Driving Indicator Zone Display
          *e Vehicle Speed Display *f Sway Warning
          *g Blank *h The illustrations shown are examples only.
          B001B9L UP/DOWN/ENTER switch Operated in DOWN Direction B001BOY UP/DOWN/ENTER switch Operated in UP Direction
      4. Vehicle Information


        • The vehicle information tab shows vehicle information such as the steering angle, door open warning, TOYOTA parking assist-sensor system display, tire inflation pressure display, vehicle tilt, traction and differential lock.

        • The vehicle information display can be changed by using the UP/DOWN/ENTER switch of the steering pad switch assembly.

          B001BYOC01
          *A Models with Tire Pressure Warning System - -
          *a TOYOTA Parking Assist-sensor System, Door Open Warning and Steering Angle Display *b Tire Inflation Pressure Display
          *c Clinometer Display *d Traction and Differential Lock and Steering Angle Display
          *e The illustrations shown are examples only. - -
          B001B9L UP/DOWN/ENTER switch Operated in DOWN Direction B001BOY UP/DOWN/ENTER switch Operated in UP Direction
      5. Setting Function


        • The items displayed on the multi-information display can be customized.

        • The following items can be selected on the information setting screen.

          Lane Departure Alert System
          Item Available Setting
          Sensitivity

          Alert sensitivity of lane departure alert system can be changed:


          • High

          • Standard

          Sway Warning

          Vehicle sway warning can be set to on/off:


          • On

          • Off

          Sway Sensitivity

          Vehicle sway warning sensitivity can be selected:


          • High

          • Standard

          • Low

          Blind Spot Monitor System (Models with Blind Spot Monitor System)
          Item Available Setting
          BSM

          The blind spot monitor system can be set to on/off:


          • On

          • Off

          Pre-crash Safety System
          Item Available Setting
          PCS

          The pre-crash safety system can be set to on/off:


          • On

          • Off

          Sensitivity

          A pre-crash safety system warning timing can be selected:


          • Far (Icon is displayed)

          • Middle (Icon is displayed)

          • Near (Icon is displayed)

          Road Sign Assist System (Models with Road Sign Assist System)
          Item Available Setting
          RSA

          The road sign assist system can be set to on/off:


          • On

          • Off

          Excess Speed

          The excess speed notification of the road sign assist system can be selected:


          • No Notification

          • Only Visual

          • Only Visual

          Notification Level

          The excess speed notification level of the road sign assist system can be selected:


          • 10 km/h

          • 5 km/h

          • 2 km/h

          Others

          Other notifications of the road sign assist system can be selected:


          • No Notification

          • Only Visual

          • Only Visual

          Meter Settings
          Item Available Setting
          Language

          The language used on the multi-information display can be selected:


          • English

          • French

          • German

          • Spanish

          • Italian

          • Chinese

          • Russian

          • Turkish

          • Arabic

          Unit

          The unit displayed on the multi-information display can be selected:


          • MPG (UK)

          • MPG (US)

          • L/100 km

          • km/L

          ECO Driving Indicator

          The ECO driving indicator can be set to on/off:


          • On

          • Off

          Interruption Display

          The following displays that appear as soon as the set conditions are met can be set to on or off:


          • Intersection Guidance

          • Incoming Telephone Display

          Accent Color

          The accent color can be changed:


          • Clear Blue

          • Clear Turquoise

          • Deep Orange

          • Radiant Orange

          Spare tire/back

          The spare tire on back can be set to on/off:


          • On

          • Off

          Default Settings The set items can be initialized.

        Tech Tips

        The items displayed differ depending on the vehicle specification.

      6. Interruption Display


        • When a warning is necessary, the warning message interrupts the current display on the multi-information display.

        • A warning message is displayed via an interrupt display when a vehicle malfunction occurs to warn the driver. Also, an advice message is displayed via an interrupt display depending on the situation, such as when the driver must proceed with caution.

        • The master warning light may illuminate or blink and the buzzer in the combination meter assembly may sound depending on the item displayed on the multi-information display.

        • The intersection guidance and incoming telephone display are linked with the multi-media system and displayed via an interrupt display.

        • When the rheostat switch is operated, the adjust brightness interrupt display is displayed.


          Engine System

        1. The combination meter assembly displays the following messages based on signals received from the ECM, engine oil pressure switch assembly and engine oil level sensor.

          Message Master Warning Light Buzzer
          AdBlue EMPTY UNABLE TO RESTART ENGINE FILL UP AdBlue SEE OWNER'S MANUAL Illuminates Sounds
          EMISSIONS TOO HIGH UNABLE TO RESTART ENGINE CHECK AdBlue VISIT YOUR DEALER Illuminates Sounds
          AdBlue LEVEL LOW NO START IN ***km! FILL UP AdBlue SEE OWNER'S MANUAL Illuminates Sounds
          EMISSIONS TOO HIGH NO START IN ***km! CHECK AdBlue VISIT YOUR DEALER Illuminates Sounds
          AdBlue LEVEL LOW FILL UP AdBlue IN ****km SEE OWNER'S MANUAL Illuminates Sounds
          EMISSIONS TOO HIGH CHECK AdBlue VISIT YOUR DEALER Illuminates Sounds
          AdBlue LEVEL LOW FILL UP AdBlue IN ****km SEE OWNER'S MANUAL - -
          FILL UP AdBlue IN ****km SEE OWNER'S MANUAL - -
          RELEASE ACCELERATOR Blinks Sounds
          Check Engine Reduced Engine Power Visit Your Dealer Illuminates Sounds
          Check Engine Visit Your Dealer Illuminates Sounds
          Reduced Engine Power Visit Your Dealer Illuminates Sounds
          Engine Maintenance Required Visit Your Dealer Illuminates Sounds
          ENGINE OIL PRESSURE LOW Illuminates Sounds
          REPLACE FUEL FILTER Illuminates -
          CHECK FUEL SYSTEM Illuminates Sounds
          DRIVE-START CONTROL MALFUNCTION VISIT YOUR DEALER Illuminates Sounds
          BRAKE OVERRIDE MALFUNCTION VISIT YOUR DEALER Illuminates Sounds
          DRAIN WATER FROM FUEL FILTER Illuminates Sounds
          ENGINE OIL LOW Illuminates Sounds
          DPF FULL VISIT YOUR DEALER Illuminates -
          MANUAL REGENERATION IN PROCESS KEEP FLAMMABLES AWAY FROM VEHICLE Illuminates -
          ACCELERATOR AND BRAKE PEDALS DEPRESSED SIMULTANEOUSLY Blinks -
          OIL MAINTENANCE REQUIRED SOON - -
          OIL MAINTENANCE REQUIRED - -
          RESETTING OIL MAINTENANCE DATA - -
          RESETTING OF OIL MAINTENANCE DATA COMPLETE - -
          RESETTING OF OIL MAINTENANCE DATA INCOMPLETE - -
          T-BELT MAINTENANCE REQUIRED - -
          RESETTING T-BELT MAINTENANCE DATA - -
          RESETTING OF T-BELT MAINTENANCE DATA NOW POSSIBLE - -
          RESETTING OF T-BELT MAINTENANCE DATA COMPLETE - -
          T-BELT MAINTENANCE MILEAGE - -
          DPF FULL SEE OWNER'S MANUAL - -
          DPF REGENERATION IN PROCESS - -
          DPF MANUAL REGENERATION AVAILABLE - -
          DPF FULL MANUAL REGENERATION REQUIRED SEE OWNER'S MANUAL - -

          Transmission System

        1. The combination meter assembly displays the following messages based on signals received from the ECM.

          Message Master Warning Light Buzzer
          HIGH TRANSMISSION FLUID TEMPERATURE Illuminates Sounds
          CHECK TRANSMISSION SYSTEM Illuminates Sounds

          4WD System

        1. The combination meter assembly displays the following message based on signals received from the 4WD control ECU.

          Message Master Warning Light Buzzer
          [CLINOMETER] INDICATES APPROX. ANGLES. PLEASE ENSURE THAT YOU OPERATE THE VEHICLE SAFELY. - -

          Differential Lock System

        1. The combination meter assembly displays the following message based on signals received from the 4WD control ECU.

          Message Master Warning Light Buzzer
          DIFFERENTIAL OIL TEMP HIGH COOLING TIME REQUIRED Blinks Sounds

          Cruise Control System (Models with Cruise Control System)

        1. The combination meter assembly displays the following message based on signals received from the ECM.

          Message Master Warning Light Buzzer
          Cruise Control Malfunction Visit Your Dealer Illuminates Sounds

          Dynamic Radar Cruise Control System (Models with Toyota Safety Sense)

        1. The combination meter assembly displays the following messages based on signals received from the ECM.

          Message Master Warning Light Buzzer
          Dynamic radar cruise control proximity warning (image display) - -*
          Radar Cruise Control Unavailable Clean Sensor Illuminates Sounds
          Radar Cruise Control Unavailable Illuminates Sounds
          Cruise Control Malfunction Visit Your Dealer Illuminates Sounds
          Dynamic radar cruise control system status (image display) - -

          *: A skid control buzzer operation is activated.


          Lane Departure Alert (LDA) System (Models with Toyota Safety Sense)

        1. The combination meter assembly displays the following messages based on signals received from the forward recognition camera.

          Message Master Warning Light Buzzer
          Lane departure alert (image display) - Sounds
          Lane Departure Alert Malfunction Visit Your Dealer Illuminates Sounds
          Lane Departure Alert Unavailable Illuminates Sounds
          Lane Departure Alert Unavailable Below Approx 50km/h - -
          Lane Departure Alert Unavailable Below Approx 32MPH - -
          Lane Departure Alert Unavailable at Current Speed - -
          Lane departure alert system status (image display) - -
          WOULD YOU LIKE TO TAKE A BREAK? - Sounds
          PLEASE TAKE A BREAK - Sounds

          Road Sign Assist (RSA) System (Models with RSA System)

        1. The combination meter assembly displays the following messages based on signals received from the forward recognition camera.

          Message Master Warning Light Buzzer
          RSA SYSTEM CHECK Illuminates Sounds

          Pre-crash Safety System (Models with Toyota Safety Sense)

        1. The combination meter assembly displays the following messages based on signals received from the driving support ECU assembly.

          Message Master Warning Light Buzzer
          BRAKE! - -*
          PRE-CRASH SAFETY MALFUNCTION VISIT YOUR DEALER Illuminates Sounds
          PRE-CRASH SAFETY OFF - -
          VSC TURNED OFF PRE-CRASH BRAKE SYSTEM UNAVAILABLE - -
          PRE-CRASH SAFETY UNAVAILABLE - -
          FORWARD CAMERA SYSTEM UNAVAILABLE - -
          FORWARD CAMERA SYSTEM UNAVAILABLE CLEAN WINDSHIELD - -
          PRE-CRASH SAFETY UNAVAILABLE - -
          PRE-CRASH SAFETY UNAVAILABLE CLEAN SENSOR - -

          *: A skid control buzzer operation is activated.


          Tire Pressure Warning System

        1. The combination meter assembly displays the following message based on signals received from the tire pressure warning ECU and receiver.

          Message Master Warning Light Buzzer
          Tire pressure warning (image display) - -

          Brake System

        1. The combination meter assembly displays the following messages based on signals received from the skid control ECU.

          Message Master Warning Light Buzzer
          BRAKING POWER LOW STOP IN A SAFE PLACE SEE OWNER'S MANUAL Blinks Sounds
          RELEASE PARKING BRAKE Blinks Sounds
          ANTILOCK BRAKE SYSTEM MALFUNCTION - Sounds

          TOYOTA Parking Assist-sensor System

        1. The combination meter assembly displays the following messages based on signals received from the clearance warning ECU assembly.

          Message Master Warning Light Buzzer
          TOYOTA parking assist-sensor system detection display (image display) - -
          Check Park Sonar System Illuminates -
          CLEAN SONAR Illuminates -
          Check Park Sonar System Illuminates Sounds

          Blind Spot Monitor System (Models with Blind Spot Monitor System)

        1. The combination meter assembly displays the following messages based on signals received from the blind spot monitor sensor LH.

          Message Master Warning Light Buzzer
          BSM NOT AVAILABLE Illuminates Sounds
          CHECK BSM SYSTEM Illuminates Sounds

          Entry and Start System (Models with Entry and Start System)

        1. The combination meter assembly displays the following messages based on signals received from the main body ECU and certification ECU.

          Message Master Warning Light Buzzer
          Push and Hold Engine Switch for Emergency Stop Blinks Sounds
          Shift to N and Press Engine Switch to Restart Blinks Sounds
          Depress clutch and press engine switch to restart Blinks Sounds
          SHIFT TO P POSITION WHEN PARKED Blinks Sounds
          AUTO POWER OFF TO CONSERVE BATTERY - -
          KEY NOT DETECTED CHECK KEY POSITION Blinks Sounds
          CHECK ENTRY & START SYSTEM HAVE YOUR VEHICLE CHECKED BY A DEALER Blinks Sounds
          TURN POWER OFF Blinks Sounds
          KEY DETECTED IN VEHICLE Blinks Sounds
          -
          DEPRESS BRAKE PEDAL, TOUCH ENGINE SWITCH WITH KEY Blinks Sounds
          DEPRESS CLUTCH PEDAL, TOUCH ENGINE SWITCH WITH KEY Blinks Sounds
          DEPRESS BRAKE PEDAL AND PUSH ENGINE SWITCH TO START - Sounds
          -
          DEPRESS CLUTCH PEDAL AND PUSH ENGINE SWITCH TO START - Sounds
          -
          PUSH THE ENGINE SWITCH WHILE TURNING THE STEERING WHEEL IN EITHER DIRECTION Blinks Sounds
          KEY BATTERY LOW HAVE YOUR VEHICLE CHECKED BY A DEALER Illuminates Sounds

          SHIFT TO P POSITION WHEN PARKED

          KEY NOT DETECTED CHECK KEY POSITION

          Blinks Sounds

          KEY NOT DETECTED CHECK KEY POSITION

          TURN POWER OFF

          Blinks Sounds

          Theft Deterrent System

        1. The combination meter assembly displays the following messages based on signals received from the main body ECU.

          Message Master Warning Light Buzzer
          THEFT SENSOR TURNED OFF - -
          THEFT SENSOR TURNED ON - -

          Sliding Roof System (Models with Sliding Roof System)

        1. The combination meter assembly displays the following message based on signals received from the main body ECU.

          Message Master Warning Light Buzzer
          MOONROOF OPENED Blinks Sounds

          Door

        1. The combination meter assembly displays the following messages based on signals received from the main body ECU.

          Message Master Warning Light Buzzer
          Each door open (image display) - -
          Each door open while driving (image display) Blinks Sounds
          Glass hatch open (image display) - -
          Glass hatch open while driving (image display) Blinks Sounds

          Washer System

        1. The combination meter assembly displays the following message based on signals received from the level warning switch assembly.

          Message Master Warning Light Buzzer
          Windshield Washer Fluid Low - -

          Lighting System

        1. The combination meter assembly displays the following messages based on signals received from the main body ECU.

          Message Master Warning Light Buzzer
          HEADLIGHT SYSTEM UNINITIALIZED VISIT YOUR DEALER - -
          HEADLIGHT SYSTEM MALFUNCTION VISIT YOUR DEALER Illuminates Sounds
          TO ACTIVATE AHB, SWITCH HEADLIGHTS TO HIGH BEAM - -

          Air Suspension System (Models with Air Suspension System)

        1. The combination meter assembly displays the following message based on signals received from the suspension control ECU.

          Message Master Warning Light Buzzer
          CHECK AIR SUSPENSION SYSTEM Illuminates Sounds

          Multi-terrain Select (Models with Multi-terrain Select)

        1. The combination meter assembly displays the following messages based on signals received from the skid control ECU.

          Message Master Warning Light Buzzer
          OPERATION NOT AVAILABLE WHILE MULTI-TERRAIN SELECT IS ACTIVE - -
          MULTI-TERRAIN SELECT HAS BEEN CANCELLED - -
          SELECT L4 - -
          STOP THE VEHICLE AND SHIFT THE AUTOMATIC TRANSMISSION TO N - -
          MULTI-TERRAIN SELECT NOT AVAILABLE - -
          MUD & SAND (and image display) - -
          LOOSE ROCK (and image display) - -
          MOGUL (and image display) - -
          ROCK & DIRT (and image display) - -
          ROCK (and image display) - -

          CRAWL (Models with Multi-terrain Select)

        1. The combination meter assembly displays the following messages based on signals received from the skid control ECU.

          Message Master Warning Light Buzzer
          CRAWL HAS BEEN DEACTIVATED Illuminates -
          CRAWL NOT AVAILABLE SELECT L4 AND SHIFT TO D OR R POSITION - -
          CRAWL NOT AVAILABLE CHECK SYSTEM OPERATION CONDITIONS - -
          CRAWL status (image display) - -

          Electrical Equipment Operation Control

        1. The combination meter assembly displays the following messages based on signals received from the main body ECU.

          Message Master Warning Light Buzzer
          High electric power consumption Some functions disabled - -
          Out. temp over 5°C. Full deicer unavailable. Use defroster. - -

        Tech Tips

        The items displayed differ depending on the vehicle specification.

    3. Multi-information Display (Models with Analog Display Type Combination Meter Assembly)


      1. The multi-information display can be switched by operating the ODO/TRIP switch located on the combination meter cluster.

      2. The multi-information display indicates as follows:

        Display Outline
        Shift Position Indicator*1 The current shift position is displayed.
        Odo/Trip ODO, TRIP A and TRIP B can be selected.
        Cruise Information*2

        The following items can be displayed.


        • Cruising Range

        • Current Fuel Consumption

        • Average Fuel Consumption and Eco Driving Indicator Zone Display*1

        • Average Vehicle Speed

        Outside Temperature Displays the outside temperature.
        Customization*1 Eco Driving Indicator Light can be turned activated/deactivated.

        *1: Models with automatic transmission

        *2: Except models with 5L-E engine

    4. Buzzer


      1. The table below shows the warning and reminder functions of the multi buzzer in the combination meter assembly:

        Item

        • Driver Seat Belt Warning Buzzer (Intermittent)

        • Reverse Warning Buzzer

        • Entry and Start System Warning Buzzer 1 (Intermittent)

        • Door Open when Shift Position not in P Warning Buzzer

        • Driver Seat Belt Warning Buzzer (Once)

        • Front Passenger Seat Belt Warning Buzzer (Once)

        • Seat Belt Warning Level 2 Buzzer

        • Seat Belt Warning Level 1 Buzzer

        • Key Reminder Warning Buzzer

        • Brake Force Reduction Warning Buzzer

        • Brake Fluid Low Warning Buzzer

        • Engine Switch Operation while Driving Warning Buzzer

        • Parking Brake Engaged Warning Buzzer

        • Vehicle Sway Warning Buzzer

        • Brake System Temperature Rise Warning/Active Test Buzzer

        • Hill-start Assist Control Buzzer (Level 1) Finish

        • Speed Limit Exceed Warning Buzzer

        • Door Open while Driving Warning Buzzer

        • Entry and Start System Warning Buzzer 2 (Intermittent)

        • Hill-start Assist Control Buzzer (Level 1) Indication

        • Start while Driving Warning Buzzer

        • Hill-start Assist Control Buzzer (Level 2) Reset

        • Reject Warning Buzzer

        • Dynamic Radar Cruise Control Cancelation due to Low Speed Warning Buzzer

        • Lane Departure Alert Buzzer

        • Multi-information Display Warning Buzzer

        • Fuel Sedimenter Warning

        • 4WD Warning Buzzer (Intermittent)

        • 4WD Warning Buzzer (3 Times)

        • Brake System Temperature Warning/CRAWL Cancel Warning

        • Hill-start Assist Control Buzzer (Level 2) Set

        • Check Engine Warning Buzzer 1

        • Check Engine Warning Buzzer 2

        • Light Reminder Buzzer

        • Sliding Roof Open Warning Buzzer

        • Road Sign Assist System Warning Buzzer

        • Entry and Start System Warning Buzzer (Once)

        • DPF Warning Buzzer

        • Immobiliser Certification Reminder Buzzer

        • Turn Signal/Hazard Warning Operation Buzzer

        Tech Tips

        The items displayed differ depending on the vehicle specification.

  2. OPERATION


    1. Eco Driving Indicator Light and Eco Driving Indicator Zone Display


      1. The following table shows the operation of Eco Driving Indicator Light and Eco driving indicator zone display in different driving conditions:

        Models with Optitron Display Type Combination Meter Assembly
        Driving Condition Eco Driving Indicator Light Eco Driving Indicator Zone Display
        While Stopped Turns off B001BIV
        While Eco Driving Turns on B001B6X
        While Non-eco Driving Turns off B001BCW

        When any of the following conditions is met, operation is stopped.


        • Ignition switch is off.

        • Engine is stopped.

        • Shift lever is not in D.

        • Vehicle is being driven at a speed of 130 km/h (81 mph) or higher.

        • Eco mode is not selected.

        Turns off B001BEW
        Models with Analog Display Type Combination Meter Assembly
        Driving Condition Eco Driving Indicator Light Eco Driving Indicator Zone Display
        While Stopped Turns off B001BBX
        While Eco Driving Turns on B001BCT
        While Non-eco Driving Turns off B001B9Z

        When any of the following conditions is met, operation is stopped.


        • Ignition switch is off.

        • Engine is stopped.

        • Shift lever is not in D.

        • Vehicle is being driven at a speed of 130 km/h (81 mph) or higher.

        • Eco mode is not selected.

        Turns off B001BBX
    2. Front Seat Belt Warning Function


      1. When the ignition switch is turned to ON, this system detects the condition of the seat belts based on the signals from the driver and front passenger seat belt buckle switches and the occupant detection sensor.

      2. On models except models for G.C.C. countries and destination packages for Egypt, the buzzer sounds when the vehicle speed exceeds 20 km/h (12.4 mph) to emphasize the fact that the seat belt is unbuckled. After 30 seconds, the sound changes for emphasis. The sound continues for 90 seconds. Once a buzzer begins to sound, it will continue until the seat belt is buckled or the ignition switch is turned off.

      3. On models for G.C.C. countries and destination packages for Egypt, when the seat belt is unbuckled, the buzzer sounds 5 times 1.8 seconds after the ignition switch is turned to ON. The buzzer sounds only 1 time when the vehicle speed exceeds 20 km/h (12.4 mph) to remind the fact that the seat belt is unbuckled. After 30 seconds, the buzzer sounds intermittently to emphasize the fact that the seat belt is unbuckled. After 9.6 seconds, the sound changes for emphasis. The sound continues for 20 seconds. Once a buzzer begins to sound, it will continue until the seat belt is buckled or the ignition switch is turned off.

        Tech Tips

        Upon receiving a request from a user who cannot wear a seat belt for a special reason, the buzzer warning can be canceled using the Global TechStraem (GTS). For details, refer to the Repair Manual.

      4. Occupant Detection Sensor


        • The occupant detection sensor, which is enclosed in the seat cushion of the front passenger seat, is used to detect whether or not the front passenger seat is occupied.

        • This sensor consists of a construction in which 2 electrode sheets sandwich a spacer. When the occupant is seated, the electrode sheets come in contact with each other through the hole provided in the spacer portion, enabling the current to flow.

        • Thus, the sensor detects whether or not an occupant is seated in the front passenger seat.