POWER SEAT CONTROL SYSTEM


  1. FUNCTION OF MAIN COMPONENTS


    1. Front Power Seat

      Component Function
      Front Power Seat Switch Operates the front power seat.
      Lumbar Support Switch*1, *2 Operates the lumbar support.
      Seat Memory Switch*3 Operate the driving position memory function.
      Position Control ECU*3
      • Operates the motors in accordance with the signals from the front power seat switch.

      • Registers and recalls seat positions in accordance with the operation of the seat memory switch.

      Main Body ECU*3 Various signals are transmitted and received via the Controller Area Network (CAN) by way of the main body ECU.
      Multiplex Tilt and Telescopic ECU*3
      • Detects the position information of the tilt and telescopic motors.

      • Receives signals from the position control ECU via the CAN, and memorizes and recalls the steering position.


      • *1: For driver side

      • *2: Models with front passenger side 10-way power seat control system

      • *3: Models with memory function

    2. Rear No. 2 Power Seat with Folding Function

      Component Function
      Fold Seat Switch Operates the rear No. 2 power seat.
      Reclining Switch
      Fold Seat Control ECU Operates the motors in accordance with the signals from the each switch.
  2. OPERATING CONDITION


    1. Memory Function


      1. The operating conditions of the memory function are as follows:

        Function Condition Operation
        Memory

        Either of the following conditions is met while the engine switch is on (IG):


        • Button 1 or 2 is pushed while the "SET" button is pushed.

        • Button 1 or 2 is pushed within 3 seconds after the "SET" button is pushed.


        • Stores the seat position.

        • When the memory setting is completed, the buzzer will sound for 0.5 seconds.

        Recall
        • Engine switch is on (IG).

        • Shift lever is in P.

        • Button 1 or 2 is pushed.

        Recalls the seat position that was memorized in the position control ECU.

        Button 1 or 2 is pushed within 180 seconds after:


        • Engine switch is off.

        • Driver door is opened.

        Button 1 or 2 is pushed within 60 seconds after:


        • Engine switch is off.

        • Driver door is closed.

        Memory Call
        • A key ID is registered to button 1 or 2.

        • Engine switch is off.

        • Driver seat belt is not in use.

        • The inside of the outside door handle is touched or the key unlock button is pushed to unlock, and the driver door is then opened.

        The seat automatically returns to the memorized seat position.
    2. Rear No. 2 Power Seat with Folding Function


      1. The operating conditions for the rear no. 2 power seat with folding function are as follows:

        Function Condition
        Folding

        The folding switch or return switch is pushed and held while any of the following conditions are met:


        • Engine switch is off.

        • Engine switch is on (IG) and shift lever is in P. (Models with automatic transmission)

        • Engine switch is on (IG) and parking brake is unreleased. (Models with manual transmission)

        Reclining Reclining switch is pushed and held.
        Luggage Compartment Expansion

        The folding switch is pushed and held while any of the following conditions are met:


        • Engine switch is off.

        • Engine switch is on (IG) and shift lever is in P. (Models with automatic transmission)

        • Engine switch is on (IG) and parking brake is unreleased. (Models with manual transmission)

  3. FUNCTION


    1. Front Power Seat


      1. The front power seat system controls the driver seat using by the front power seat switch.

      2. The lumbar support function, which offers extra support over a substantial area of the lower back, is used.*1, *2

      3. The memory function controls the driver seat.*3

      4. Each function of the front power seat operates as follows:

        Function Outline
        Manual Control The user can perform slide, reclining, front vertical*1, *2, seat lifter*1, *2and lumbar support*1, *2 adjustments by operating the front power seat switch and lumbar support switch.
        Memory*1, 3 Memory The memory function can memorize 2 different seat positions.
        Recall The recall function can recall 2 different memorized seat positions.
        Memory Call The memory call function, which utilizes the key IDs, is used to memorize and retrieve the optimal driving positions for a person possessing the key.

        • *1: For driver side

        • *2: Models with front passenger side 10-way power seat control system

        • *3: Models with memory function

  4. OPERATION


    1. Rear No. 2 Power Seat with Folding Function


      1. Each function of the rear No. 2 power seat with folding function operates as follows:

        Function Operation
        Folding Folding Operation
        • If the folding switch is pushed and held, operation will continue until the folding operation finishes.

        • Operation will halt if the folding switch is released during the folding operation.

        • If the rear No. 2 seat is in the seating range, the folding operation will stop once the seat back reaches the upright position. To continue the folding operation, the folding switch is pushed and held again.

        • With the folding operation, the left and right rear No. 2 seats can be operated individually.

        Return Operation
        • If the return switch is pushed and held, operation will continue until the return operation finishes.

        • Operation will halt if the return switch is released during the return operation.

        • With the return operation, the left and right rear No. 2 seats can be operated individually.

        Reclining If the reclining switch is pushed and held, the rear No. 2 seat will recline.
        Luggage Compartment Expansion If the folding switch is pushed and held, the seat back will fold forward until it reaches the upright position, thus widening the luggage compartment.
        Buzzer The buzzer sounds during operation of each function to alert the user.
        Overload Detection and Reverse The overload detection and reverse function automatically stops the folding function, sounds the buzzer and operates the seat back in the opposite direction or stops the rear No. 2 seat.
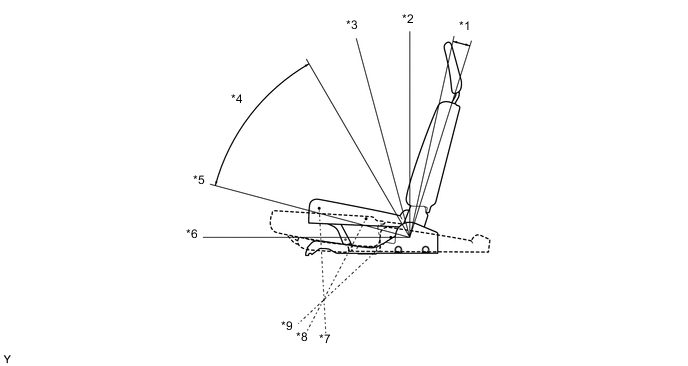
        A01UKJME03
        No. Condition
        *1
        • Seating Range of Seat Back

        • Reclining Function Operating Range

        *2 Upright Position
        *3 Seat Cushion Folding Operation Starting Position
        *4 Reverse Function Operating Range
        *5 Seat Cushion Return Operation Starting Position
        *6 Seat Back Stowing Position
        *7 Seating Position of Seat Cushion
        *8 Rear No. 2 Seat Headrest Folding Operation Starting Position
        *9 Seat Cushion Stowing Position

        Tech Tips

        With the return operation, the rear No. 2 seat headrest will not return automatically. It must be returned to the seating position manually.

      2. Buzzer Function

        The buzzer function operates as follows:

        Item Operation
        Operation Commencement

        Sounds twice


        • On Time: 125 ms

        • Off Time: 250 ms

        Operation Completion

        Sounds twice


        • On Time: 125 ms

        • Off Time: 250 ms

        Operating Conditions Not Met

        Sounds once


        • On Time: 1200 ms

        • Off Time: 100 ms

        Halt during Operation Sounds continuously
        Operation of Jam Protection Function Sounds continuously
        Initial Position Reset

        Sounds 3 times


        • On Time: 125 ms

        • Off Time: 250 ms

        No Initial Position Memorized Sounds continuously
      3. Overload Detection and Reverse Function

        If the folding function is unable to operate due to an obstruction, the overload detection and reverse function will operate as follows:

        Item Operation
        During Folding Operation If an overload is detected in the reclining motor or the cushion motor, the rear No. 2 seat will be reverse-operated beyond the reverse function operating range.
        During Return Operation

        If an overload is detected by the reclining motor or the cushion motor, the rear No. 2 seat will be operated in reverse to the following position:


        • Seat back is moved by 10°.

        • The folding operation finishing position is reached.

        Tech Tips

        Initialization must be performed if the fold seat control ECU is replaced. For details, refer to the corresponding Repair Manual for this model.

  5. FAIL-SAFE


    1. The contents of the fail-safe for the rear No. 2 power seat with folding function are as follows:

      Item Outline
      Input Voltage Drop Operation is halted if a drop is detected in the input voltage.
      Seat Position Malfunction Operation is prevented if an abnormality is detected in the seat position signal.
      Electric Current Passage Time Judgment Operation is halted if the electric current passage time exceeds a predetermined time.
      Motor Revolution Direction Judgment In order to reduce pulse miscounts, operation continues until the motor revolution direction can be estimated.
  6. DIAGNOSIS


    1. The position control ECU has a diagnosis function. It stores a record of any power seat control system failures in its memory in the form of Diagnostic Trouble Codes (DTCs). The DTC can be read by connecting the intelligent tester II to the DLC3.