CAN COMMUNICATION SYSTEM

A01UKXFE01
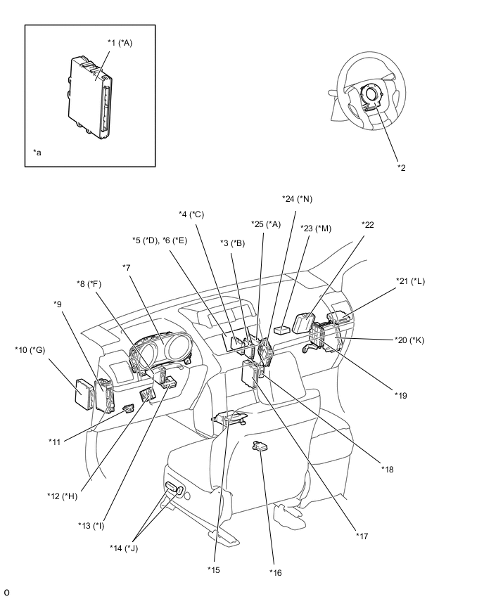
Text in Illustration
*A Models with Entry and Start System *B Models with Dynamic Radar Cruise Control System
*C Models with Network Gateway ECU *D Models with Navigation System
*E Models with Display Audio System *F Models with Pre-crash Safety System
*G Models with Rear Air Suspension System and Adaptive Variable Suspension System (AVS) *H Models with Power Tilt and Power Telescopic System
*I Models with Kinetic Dynamic Suspension System (KDSS) *J Models with Power Seat Control System
*K Models with Multi-terrain Monitor System *L Models with TOYOTA Parking Assist-sensor System
*M Models with Optitron Display Type Combination Meter Assembly *N Models with Terematics Transceiver
*1 Certification ECU *2 Steering Angle Sensor
*3 Driving Support ECU Assembly *4 Network Gateway ECU
*5 Navigation Receiver Assembly *6 Radio and Display Receiver Assembly
*7 Combination Meter Assembly *8 Seat Belt Control ECU
*9 Main Body ECU (Driver Side Junction Block Assembly) *10 Suspension Control ECU
*11 DLC3 *12 Multiplex Tilt and Telescopic ECU
*13 Stabilizer Control ECU *14 Position Control ECU Assembly
*15 Center Airbag Sensor Assembly *16 Yaw Rate Sensor
*17 Air Conditioning Amplifier Assembly *18 Power Steering ECU Assembly
*19 ECM *20 Parking Assist ECU
*21 Clearance Warning ECU Assembly *22 4WD Control ECU
*23 Driving Support Switch Control ECU *24 Terematics Transceiver
*25 Power Management Control ECU - -
*a Refer to the Service Bulletin for the installation of the part. - -
A01UL3PE02
Text in Illustration
*A Models with Pre-crash Safety System *B Models with 1KD-FTV Engine with Automatic Transmission
*C Models with Automatic Headlight Beam Level Control System *D Models with Blind Spot Monitor System
*1 Skid Control ECU *2 Millimeter Wave Radar Sensor
*3 TCM *4 Headlight Swivel ECU Assembly
*5 Blind Spot Monitor Sensor LH *6 Blind Spot Monitor Sensor RH
A01UL02E02
Text in Illustration
*A Models with 1GD-FTV Engine with Urea SCR *B Models for Australia with Parking Assist Monitor System
*1 Nitrogen Oxides Sensor *2 Urea Pump Control Computer
*3 Rear Television Camera Assembly - -