PARKING ASSIST MONITOR SYSTEM


  1. FUNCTION OF MAIN COMPONENTS

    Component Function
    Rear Television Camera Assembly
    • Captures images of the area behind the vehicle and outputs visual signals to the parking assist ECU*1 and the navigation receiver assembly*2 or radio and display receiver assembly*3.

    • The parking assist guide lines that are calculated based on signals from the steering sensor are superimposed on the captured image. Then, the image is sent to the navigation receiver assembly*2 or radio and display receiver assembly*3 as video signals.*4

    • When the back door is open, superimposing of parking assist guide lines is canceled and only the captured image is sent as video signals.*4

    Navigation Receiver Assembly*2 or Radio and Display Receiver Assembly*3 Displays images of the area behind the vehicle sent from the rear television camera assembly using the multi-display. The image is combined with the parking assist guide lines that are calculated based on signals from the steering angle sensor.*5
    Multi-display Receives visual signals composed of the area behind the vehicle with parking assist guide lines overlaid from the navigation receiver assembly*2 or radio and display receiver assembly*3, and displays them on the multi-display.
    Skid Control ECU Transmits received vehicle speed signals to the navigation receiver assembly*2 or radio and display receiver assembly*3.
    Steering Angle Sensor Detects the steering angle and transmits signals to the navigation receiver assembly*2 or radio and display receiver assembly*3.
    Park/Neutral Position Switch Assembly*6 Transmits a signal telling the ECM or TCM*7 that the shift lever is in R.
    Back-up Light Switch Assembly*8 Transmits a signal telling the ECM that the shift lever is in R.
    ECM Sends received shift position signals to the navigation receiver assembly*2 or radio and display receiver assembly*3.
    Clearance Warning ECU Assembly*9 Sends clearance sonar detection information to the navigation receiver assembly*2 or radio and display receiver assembly*3.
    Main Body ECU (Driver Side Junction Block Assembly) Outputs the back door courtesy switch signal to the navigation receiver assembly*2 or radio and display receiver assembly*3.
    Parking Assist ECU Outputs the signal of the rear television camera assembly to the navigation receiver assembly*2 or radio and display receiver assembly*3.
    TCM*7 Sends received shift position signals to the ECM.

    • *1: Models with multi-terrain monitor system

    • *2: Models with navigation system

    • *3: Models with radio and display receiver assembly

    • *4: Models without parallel parking assist mode.

    • *5: Models with parallel parking assist mode.

    • *6: Models with automatic transmission

    • *7: Models with 1KD-FTV engine with automatic transmission

    • *8: Models with manual transmission

    • *9: Models with TOYOTA parking assist-sensor system

  2. OPERATING CONDITION


    1. Parking assist monitor system operates when both of the following conditions are met:


      • The engine switch is on (IG).

      • The shift lever is in R.

  3. FUNCTION


    1. Area Displayed on Screen


      1. Television Camera


        • Objects on the right of the vehicle appear on the right side of the multi-display, and objects on the left of the vehicle appear on the left side of the multi-display.

        • The rear television camera assembly uses a wide-angle lens. The perceived distance from images that appear on the screen differs from the actual distance.

          B001BZME02
          Text in Illustration
          *A Models without Back Door Spare Tire Carrier *B Models with Back Door Spare Tire Carrier
          *a The illustrations shown are examples only. The illustrations may differ from the actual vehicle screens. - -

          Tech Tips

          The area displayed on the screen may vary according to vehicle status or road conditions. The area covered by the rear television camera assembly is limited. The rear television camera assembly does not show objects close to either corner of the bumper or show the area under the bumper or the back door spare tire carrier*.


          • *: Models with back door spare tire carrier

  4. CONSTRUCTION


    1. Television Camera Assembly


      1. The rear television camera assembly consists of a wide-angle lens and a Complementary Metal Oxide Semiconductor (CMOS).

        A01UKRHE02
        Text in Illustration (Models with Parallel Parking Assist Mode:)
        *A Models without Back Door Spare Tire Carrier *B Models with Back Door Spare Tire Carrier
        *1 Rear Television Camera Assembly - -
        A01UL3CE01
        Text in Illustration (Models without Parallel Parking Assist Mode:)
        *A Models without Back Door Spare Tire Carrier *B Models with Back Door Spare Tire Carrier
        *1 Rear Television Camera Assembly - -
    2. Multi-display (Parking Assist Monitor Display)


      1. Perpendicular Parking Mode


        • Perpendicular parking mode consists of A: parking assist guide line display mode, B: course line deletion mode and C: estimated course line display mode. The initial (default) setting for perpendicular parking is estimated course line display mode.

        • Pressing the display mode switch screen button switches among the rear monitor modes. (Models with parallel parking assist mode)

        • When perpendicular parking mode is operating, fixed guide lines appear superimposed on a view of the area behind the vehicle. These guide lines can be used to assist the driver while backing up the vehicle.

          Tech Tips

          The illustrations shown are examples only. The illustrations may differ from the actual vehicle screens.

          A01UKZSE04
          Text in Illustration (Models with Parallel Parking Assist Mode:)
          *A Parking Assist Guide Line Display Mode *B Distance Guide Line Display Mode
          *C Estimated Course Line Display Mode - -
          *1 Display Mode Switch Screen Button - -

          Perpendicular parking mode can be set in the back camera guide line setting screen of the vehicle settings. (Models without parallel parking assist mode)

          A01UKJ2E02
          Text in Illustration (Models without Parallel Parking Assist Mode:)
          *A Parking Assist Guide Line Display Mode *B Distance Guide Line Display Mode
          *C Estimated Course Line Display Mode - -
        • A description of the parking assist guide line display mode is provided in the following diagram:

          A01UKOXE04
          Item Outline
          (1) Distance Guide Line (Red) Indicates a position on the ground approximately 0.5 m (1.6 ft.) behind the rear bumper.
          (2) Vehicle Width Extension Guide Line (Blue) Indicates the estimated vehicle width.
          (3) Parking Assist Guide Line (Blue) Indicates the path the vehicle will follow if the driver turns the steering wheel fully.
          (a) Display Mode Switch Screen Button* Pressing this button changes the display mode.
          (b) Parking Mode Switch Screen Button* Pressing this button turns parallel parking assist mode on.
          (c) Warning Message Display Area Area where warning messages are displayed.

          • *: Models with parallel assist parking assist mode

        • A description of the distance guide line display mode is provided in the following diagram:

          A01UKHPE05
          Item Outline
          (1) Distance Guide Line (Red) Indicates a position on the ground approximately 0.5 m (1.6 ft.) behind the rear bumper.
          (a) Display Mode Switch Screen Button* Pressing this button changes the display mode.
          (b) Parking Mode Switch Screen Button* Pressing this button turns parallel parking assist mode on.
          (c) Warning Message Display Area Area where warning messages are displayed.

          • *: Models with parallel assist parking assist mode

        • A description of the estimated course line display mode is provided in the following diagram.

          A01UL2JE05
          Item Outline
          (1) Distance Guide Line (Yellow) Moves together with estimated course lines in sync with the steering wheel. The center of the line indicates a position on the ground approximately 1.0 m (3.3 ft.) behind the rear bumper.
          (2) Distance Guide Line (Red) Moves together with estimated course lines in sync with the steering wheel. The center of the line indicates a position on the ground approximately 0.5 m (1.6 ft.) behind the rear bumper.
          (3) Distance Guide Line (Blue) Indicates a position on the ground approximately 0.5 m (1.6 ft.) behind the rear bumper.
          (4) Vehicle Width Extension Guide Line (Blue) Indicates the estimated vehicle width.
          (5) Estimated Course Line (Yellow) Moves in sync with the steering wheel to indicate the estimated reverse course of the vehicle.
          (a) Display Mode Switch Screen Button* Pressing this button changes the display mode.
          (b) Parking Mode Switch Screen Button* Pressing this button turns parallel parking assist mode on.
          (c) Warning Message Display Area Area where warning messages are displayed.

          • *: Models with parallel assist parking assist mode

      2. Parallel Parking Assist Mode (Models with Parallel Parking Assist Mode)


        • Parallel parking assist is available with the following 2 display modes: standard mode and narrow mode.

        • Narrow mode is designed for situations in which the parking space is narrower than the standard mode.

        • The default setting of the parallel parking assist is standard mode.

          A01UKIME03
          Text in Illustration
          *a Standard Mode *b Narrow Mode
          *c Space needed for parking *d Display Status
        • Parallel parking assist will display standard mode and narrow mode using the same design.

        • The guide lines displayed for parallel parking assist mode change in accordance with parking maneuvers.

          A01UKTSE04
          Item Outline
          (1) Blue Outline (Blue)
          • Serves as a reference position for the intended parking space.

          • Disappears once the vehicle starts moving backward.

          (2) Black and Yellow Vertical Pole Serves as a reference position for starting parallel parking.
          (3) Curved Blue Line (Blue) Indicates part of the prospective outer path of the vehicle when the steering is turned fully to the right or left side.
          (4) Vehicle Width Extension Guide Line (Blue) Indicates the estimated vehicle width.
          (5) Distance Guide Line (Yellow) Moves together with the estimated guide lines in sync with the steering wheel. The center of the line indicates a position on the ground approx. 1.0 m (3.3 ft.) behind the rear bumper.
          (6) Estimated Course Line (Yellow) Moves in sync with the steering wheel to indicate the estimated reverse course of the vehicle.
          (7) Distance Guide Line (Red) Moves together with the estimated guide lines in sync with the steering wheel. The center of the line indicates a position on the ground approx. 0.5 m (1.6 ft.) behind the rear bumper.
          (a) Mode Screen Button Switch Changes between standard and narrow modes.
          (b) Parking Mode Switch Screen Button Changes between parallel parking assist mode and perpendicular parking mode.
          (c) Warning Message Display Area Indicates the area where warning messages are displayed.
  5. OPERATION


    1. Parking Assist Guide Line Display Mode (Perpendicular Parking) of Parking Assist Monitor System


      1. To use parking assist guide line display mode in perpendicular parking when parking the vehicle in a parking space, perform the following procedure:


        1. Select parking assist guide line display mode (Models without parallel assist parking assist mode)

        2. Move the shift lever to R.

        3. Select perpendicular parking mode. (Models with parallel assist parking assist mode)

        4. Select parking assist guide line display mode. (Models with parallel assist parking assist mode)

        5. An image appears on the display panel as illustrated below:

          A01UL0G
        6. Back the vehicle up and stop at the position in which the parking assist guide line comes in contact with the left side of the intended parking position.

        7. Turn the steering wheel fully to the right and back the vehicle up.

          A01UL3X
        8. Continue backing the vehicle up until the vehicle is parallel to the plotted lines.

        9. Once the vehicle is parallel, aim the steering wheel straight ahead and back the vehicle up to the target stop position.

          A01UKMQ
    2. Estimated Course Line Display Mode (Perpendicular Parking) of Parking Assist Monitor System


      1. To use estimated course line display mode in perpendicular parking when parking the vehicle in a parking space, perform the following procedure:


        1. Select estimated course line display mode. (Models without parallel assist parking assist mode)

        2. Move the shift lever to R.

        3. Select perpendicular parking mode. (Models with parallel assist parking assist mode)

        4. Select estimated course line display mode.

        5. An image appears on the display panel as illustrated below:

          A01UKLK
        6. Turn the steering wheel so that the estimated course lines are within the parking space, and back up carefully.

          A01UKKM
        7. When the rear of the vehicle is within the parking space, turn the steering wheel in order to equalize the left and right intervals between the vehicle width extension lines and the parking space sidelines.

        8. When the vehicle width extension guide lines and the parking space sidelines are parallel, straighten the steering wheel and then carefully back up until the entire vehicle is within the parking space.

          A01ULA4
    3. Parallel Parking Assist Mode of Parking Assist Monitor System (Models with Parallel Parking Assist Mode)


      1. To use parallel parking assist mode to park the vehicle in the parking space, perform the following procedure:


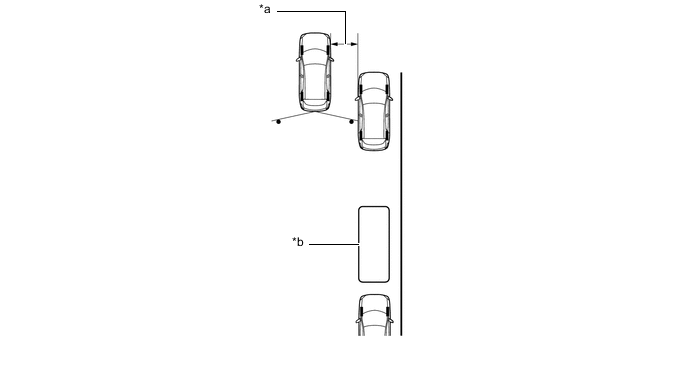
        • Stop the vehicle parallel to the road or the curb, at a side-to-side clearance of approximately 1.0 m (3.3 ft.) from the parked vehicle, approximately one-half car length forward of the parked vehicle.

          A01UKWNE04
          Text in Illustration
          *a Approx. 1.0 m (3.3 ft.) *b Target Parking Position
        • Aim the steering wheel straight ahead and move the shift lever to R.

        • Select parallel parking assist mode.

        • An image is shown on the display panel as illustrated below:

          A01UKZT
        • Drive the vehicle straight back and stop when the black and yellow vertical pole of the target parking position is aligned with the rear end of the parked vehicle.

          A01UL2DE04
          Text in Illustration
          *a Black and Yellow Vertical Pole - -
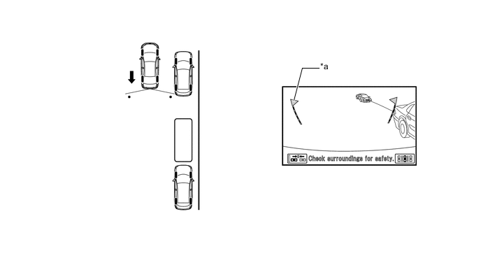
        • When the steering wheel is turned, the blue outline appears. At this time, the blue vertical line opposite to the target parking position disappears when the steering wheel is turned.

          A01UKLCE03
          Text in Illustration
          *a Blue Outline - -
        • Continue turning the steering wheel, and the blue outline moves in the direction of the target parking position, while the outline changes into a shape as illustrated below. Keep turning the steering wheel until the blue outline reaches the target parking position.

          A01UKHAE02
          Text in Illustration
          *a Blue Outline - -
        • However, if the steering wheel is turned too much, the message as shown in the illustration below is displayed and the blue outline changes to red to inform the driver that the assist operation is not possible. Also, when the vehicle is too far away from the shoulder, the same condition occurs even when adjusting the blue outline to a normal position.

          A01UKN9E03
          Text in Illustration
          *a Outline Change from Blue to Red - -
        • The vertical line (blue) and target frame (blue) disappear and the parking guide lines appear on the target parking position.

          A01UL7LE04
          Text in Illustration
          *a Curved Blue Line (Blue) - -
        • Keep the steering wheel in the same position and back up. Stop when the parking guide line reaches the right end of the target parking position.

          A01UKLV
        • With the vehicle at a standstill, fully turn the steering wheel in the opposite direction.

          A01UL3J
        • Using the distance guide line, slowly back the vehicle up until the vehicle is parallel to the road or curb, while paying attention to the vehicles in front and in back. The parking maneuver is completed once the vehicle is parallel.

          A01UL9N
  6. DIAGNOSIS


    1. The parking assist monitor system is equipped with a diagnosis function which can display the diagnosis menus. The method for entering the diagnosis menu screen is the same as the method used for the multi-display. For details, refer to the Repair Manual.