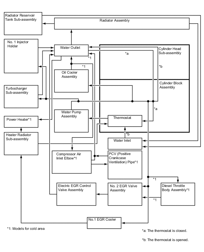
COOLING SYSTEM

A01UKJ3E02