EMISSION CONTROL SYSTEM

B001BAXC02
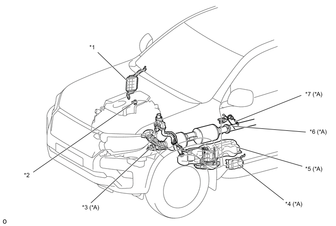
*A Models with UREA SCR System - -
*1 ECM *2 Differential Pressure Sensor
*3 UREA Injector Set *4 UREA Pump Control ECU
*5

UREA Tank Sub-assembly


  • UREA Pump

*6 No. 4 Exhaust Gas Temperature Sensor
*7 NOx Sensor (Nitrogen Oxides Sensor) - -
B001BL7C02
*1 Exhaust Fuel Addition Injector Assembly *2 No. 3 Exhaust Gas Temperature Sensor
*3

Exhaust Manifold Converter Sub-assembly


  • Oxidation Catalyst

  • DPF

*4 No. 2 Exhaust Gas Temperature Sensor
*5 Air Fuel Ratio Sensor *6 Diesel Throttle Body Assembly
*7 Vacuum Switching Valve Assembly *8 No. 2 EGR Valve Assembly
*9 Electric EGR Control Valve Assembly *10 No. 1 EGR Cooler
*11 Exhaust Gas Temperature Sensor - -