METER / GAUGE SYSTEM


  1. FUNCTION


    1. Multi Buzzer


      1. The table below shows the warning and reminder functions of the buzzer in the combination meter assembly.

        Priority Item
        1 READY
        2 Hybrid System Start while Driving Notice
        3 Hybrid System Switch Operation while Driving Warning
        4 Front Seat Belt Warning (Once)
        5 Front Seat Belt Warning (Level 2)
        6 Rear Seat Belt Warning
        7 Front Seat Belt Warning (Level 1)
        8 Unexpected Vehicle Motion Warning
        9 Brake Force Reduction Warning
        10 Engine Oil Pressure Warning
        11 EPS Warning
        12 Entry and Start System Warning (Continuous)
        13 Entry and Start System Warning 1 (Intermittent)
        14 Brake System Temperature Rise Warning
        15 Entry and Start System Warning 2 (Intermittent)
        16 Entry and Start System Warning (Once)
        17 Multi-information Display Warning
        18 Accelerator Depression with N Position
        19 Hybrid System Warning (Intermittent)
        20 Hybrid System Warning (Once)
        21 Towing Prohibition Notification Buzzer
        22 HV Battery Low Warning (SOC: 18 %)
        23 HV Battery Low Warning (SOC: 25 %)
        24 Hybrid Unit Overheat Warning
        25 Radar Cruise Control Cancelation due to Low Speed Warning*
        26 Immobiliser Certification Reminder
        27 Parking Brake Engaged Warning
        28 Door Open while Driving Warning
        29 Shift Reject
        30 EV Mode Operation Reject Warning
        31 Light Reminder
        32 Turn Signal/Hazard Warning Operation

        *: Models with dynamic radar cruise control system

    2. Multi-information Display


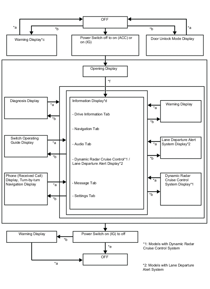
      1. Display Function Flow


        • The multi-information display flow can be switched as shown in the flow chart below:

          Figure 1. Optitron Meter

          A01MRGUC01
          *a Conditions are not met *b Conditions are met
          *c If there are multiple display requests, items will be displayed in sequence. *d Item or display is selected by operating the DISP switch
          *e ODO display is displayed for a certain period of time after the power switch is turned off. *f After power switch on (IG)

          Figure 2. TFT LCD Meter

          A01MR6IC01
          *a Conditions are not met *b Conditions are met
          *c Movable meter ring activated *d TOP switch operated
          *e Item or display is selected by operating the DISP switch *f After power switch on (IG)
          A01MR7WC01
          *a Conditions are not met *b Conditions are met
          *c Movable meter ring activated *d TOP switch operated
          *e ODO display is displayed for a certain period of time after the power switch is turned off *f If there are multiple display requests, items will be displayed in sequence.
          *g Item or display is selected by operating the DISP switch - -
      2. Display Tab Operation


        • The information currently displayed can be switched using the RIGHT/LEFT switch on the steering pad switch assembly.

          A01MR5PC01
          *1 Steering Pad Switch Assembly *2 LEFT Switch
          *3 RIGHT Switch - -
          *a Drive Information *b Navigation Information
          *c Audio Information *d Dynamic Radar Cruise Control System/Lane Departure Alert System Information
          *e Warning Message *f Settings
          *g The illustration shown are examples only. The illustrations may differ from the actual vehicle screen. - -
          B003XLG RIGHT switch operation B003XML LEFT switch operation
      3. Drive Information


        • Drive information shows vehicle information such as drivable range and fuel consumption.

        • The drive information can be switched using the UP/DOWN switch on the steering pad switch assembly.

          A01MR8CC02
          *1 Steering Pad Switch Assembly *2 UP Switch
          *3 DOWN Switch - -
          *a Drive Information *b Energy Monitor
          *c Blank *d The illustration shown are examples only. The illustrations may differ from the actual vehicle screen.
          B003XLG DOWN switch operation B003XML UP switch operation
      4. Setting Function


        • The items displayed on the multi-information display can be customized.

        • The items can be selected on the information setting screen.

          Item Available Setting
          Language
          • The language used on the multi-information display can be selected:


            • English

            • Germany

            • French

            • Spanish

            • Italian

            • Russian

            • Chinese

              Tech Tips

              The selectable languages may differ depending on the model or region.

          Unit
          • The unit displayed on the multi-information display can be selected.


            • miles (MPG)

            • km (L/100 km)

            • km (km/L)

              Tech Tips

              The selectable units may differ depending on the model.

          EV Driving Indicator Light
          • The EV driving indicator light can be switched to ON or OFF.


            • ON

            • OFF

          Drive Information 1 Upper Area
          • 2 items can be selected among the following:


            • Current Fuel Consumption (Bar Display)/Average Fuel Consumption (Mark Display)

            • Total Average Fuel Consumption Between Reset Operations

            • Average Fuel Consumption After Hybrid System Start-up

            • Average Fuel Consumption After Refueling

            • Total Average Vehicle Speed Between Reset Operations

            • Average Vehicle Speed After Hybrid System Start-up

            • Cruising Range After Hybrid System Start-up

            • Total Elapsed Time Between Reset Operations

            • Elapsed Time After Hybrid System Start-up

          Lower Area
          Drive Information 2 Upper Area
          • 2 items can be selected among the following:


            • Current Fuel Consumption (Bar Display) / Average Fuel Consumption (Mark Display)

            • Total Average Fuel Consumption Between Reset Operations

            • Average Fuel Consumption After Hybrid System Start-up

            • Average Fuel Consumption After Refueling

            • Total Average Vehicle Speed Between Reset Operations

            • Average Vehicle Speed After Hybrid System Start-up

            • Cruising Range After Hybrid System Start-up

            • Total Elapsed Time Between Reset Operations

            • Elapsed Time After Hybrid System Start-up

          Lower Area
          TOP Switch Settings*1
          • The item that is displayed when the TOP switch is pressed can be selected among the following:


            • Drive Information

            • Energy Monitor

            • Blank

          Interruption Display
          • The following displays that appear as soon as the set conditions are met can be switched to ON or OFF.


            • Turn-by-turn Navigation Display*3

            • Incoming Telephone Display

            • Dynamic Radar Cruise Control Switch Operation Guide

            • Light Switch Operation Guide

            • Wiper Switch Operation Guide

          Accent Color*1
          • The accent color can be changed:


            • White Heat

            • Titanium Silver

          Needle Color*2
          • The needle color of the tachometer can be changed:


            • Blue

            • Red

            • White

          Vehicle Speed Warning*2
          • The vehicle speed warning can be switched to ON or OFF.


            • ON

            • OFF

          • The vehicle speed warning activation can be set at increments of 1 km/h or 1 mph between 50 km/h and 120 km/h*4, 50 km/h (30 mph) and 160 km/h (100 mph)*5 or 50 km/h (30 mph) and 200 km/h (125 mph)*6.

            Tech Tips

            The maximum value varies according to the countries and regions.

          Rev Indicator*2
          • The rev indicator setting can be switched to ON or OFF.


            • ON

            • OFF

          • The engine speed for rev indicator activation can be set at increments of 100 rpm between 2000 rpm and 6000 rpm.

          Tachometer Peak Hold Function*2
          • The tachometer peak hold function can be switched to ON or OFF.


            • ON (Self-changing)

            • HV meter (Always)

            • Tachometer (Always)

          Initialization The setting items can be initialized.

          *1: Models with optitron meter

          *2: Models with TFT LCD meter

          *3: Models with navigation system

          *4: Destination package for Taiwan

          *5: Destination package for United Kingdom

          *6: Except destination package for Taiwan and United Kingdom

      5. Warning Mode Function


        • When a warning is necessary, the warning display interrupts the display in the multi-information display.

        • The master warning light may illuminate or blink and the buzzer in the combination meter assembly may sound depending on the item displayed on the multi-information display.

        Priority Display Master Warning Light Buzzer
        1 Maintenance Mode - -
        Certification Mode - -
        Adjusting LDA Camera*1 - -
        Adjusting Front Radar Beam*2, *3 - -
        Checking Cruise Control C/D*2 - -
        Checking Cruise Control Brake*2 - -
        BRAKE!*3 - -*4
        Holding in POWER Switch Will Cause an Emergency Hybrid System Stop. Blinks Sounds
        To Restart Car, Shift Lever to "N" and Press POWER Switch. Blinks Sounds
        Hybrid System Has Stopped. Please Put Shift Lever into "P". Blinks Sounds
        Hybrid System Has Stopped. Please Stop Your Car in a Safe Place. Blinks Sounds
        2 Vehicle approaching warning during dynamic radar cruise control*1, *2 - -
        Brake Malfunction Illuminates Sounds
        The Accelerator is Stuck. Please Depress Brake Pedal to Stop Car. Blinks Sounds
        Shift to P position when parked Blinks Sounds
        Hybrid System Failure. Please Refrain From being towed Illuminates Sounds
        3 Door Open (While Driving)*5 Blinks Sounds
        Door Open - -
        Clearance Sonar Obstruction Detection*6 Illuminates -
        4 Auto Power OFF to Conserve Battery - -
        5 N position Blinks Sounds
        Traction battery preservation mode Restart after shifting to P position Blinks Sounds
        6 Check Hybrid System Stop the vehicle in a safe place immediately Illuminates Sounds
        Traction battery Low Charges when not in N position Blinks Sounds
        EPS Failure. Steering Wheel Harder to Turn. Illuminates Sounds
        Voltage Abnormality. Steering Wheel Harder to Turn. Illuminates Sounds
        Check Power Steering System Illuminates Sounds
        Release Parking Brake Blinks Sounds
        Key not detected Blinks Sounds
        7 1st Gear not available due to slippery road surface Illuminates Sounds
        8 Check SRS Airbag System Illuminates Sounds
        Check ABS - Sounds
        Engine Coolant High Temperature Illuminates Sounds
        Clean Radar Sensor*2, *3 Illuminates Sounds
        Cruise Control not available*2 Illuminates Sounds
        LDA not available*1 Illuminates Sounds
        Check Grille Shutter System Illuminates Sounds
        Check Entry & Start System Blinks Sounds
        BSM not available*7 Illuminates Sounds
        Check Cruise Control System*2 Illuminates Sounds
        Check LDA System*1 Illuminates Sounds
        Check PCS System*3 Illuminates Sounds
        Check BSM System*7 Illuminates Sounds
        Engine Oil Pressure Low Illuminates Sounds
        Check Brake System Illuminates Sounds
        POP UP HOOD Activated. Illuminates Sounds
        POP UP HOOD Failure. Illuminates Sounds
        LDA System is Unavailable Below Approx. 50 km/h.*7 - -
        LDA System is Unavailable Below Approx. 32 MPH.*7 - -
        LDA System is Unavailable at this Speed.*7 - -
        9 Hybrid System Stopped, Steering Wheel Harder to Turn. Illuminates Sounds
        Turn Power OFF Blinks Sounds
        Key detected in vehicle Blinks Sounds
        Turn Light Off Blinks Sounds
        Moon Roof opened*8 Blinks Sounds
        Window opened Blinks Sounds
        Window/Moon Roof opened*8 Blinks Sounds
        Depress brake pedal, touch POWER switch with key Blinks Sounds
        Depress brake pedal and push POWER switch to start - Sounds
        The Accelerator is Stuck. Please Check the Accelerator. Blinks Sounds
        10 Steering Lock active Blinks Sounds
        Brake Override System Failure. Illuminates Sounds
        11 Key Battery Low Illuminates Sounds
        Engine Oil Level Low Illuminates Sounds
        Hybrid System Overheat Output Power is limited Illuminates Sounds
        Check Headlight System*9, *10 Illuminates Sounds
        Both Accelerator and Brake Pedals Are Depressed. Blinks -
        12 Hybrid Battery Cooling Warning. Illuminates -
        Low 12-volt Battery See Owner's Manual - -
        Washer Fluid Low - -
        Fuel Low - -
        TRC OFF - -
        Maintenance required*11 Illuminates -
        Turn on the high beam to activate AHB System*8 - -
        Resetting Maintenance Data*11 - -
        Resetting of Maintenance Data Incomplete*11 - Sounds
        Depress brake pedal and push POWER switch to start - -
        VSC System Switched Off. Pre-Crash Brake System Disengaged.*3 - -
        PCS temporarily not available*3 - -
        Operation of Electrical Items Restricted. - -
        EV mode currently not available - Sounds
        EV mode not available Warming up - Sounds
        EV mode currently not available Low battery - Sounds
        EV mode currently not available Excessive speed - Sounds
        EV mode currently not available Excessive acceleration - Sounds
        EV mode deactivated - Sounds
        EV mode deactivated Low battery - Sounds
        EV mode deactivated Excessive speed - Sounds
        EV mode deactivated Excessive acceleration - Sounds
        Theft Sensor OFF - -
        Theft Sensor ON - -

        *1: Models with lane departure alert system

        *2: Models with dynamic radar cruise control system

        *3: Models with pre-crash safety system

        *4: Skid control buzzer operation is activated.

        *5: If the vehicle has reached a speed of 5 km/h (3 mph)

        *6: Models with Lexus parking assist-sensor system

        *7: Models with blind spot monitor system

        *8: Models with sliding roof system

        *9: Models with automatic high beam system

        *10: Models with LED headlights

        *11: Models with maintenance required reminder function