СИСТЕМА КОНТРОЛЯ СЛЕПЫХ ЗОН


  1. ОПИСАНИЕ


    1. Система контроля слепых зон, используя одни и те же датчики системы контроля слепых зон, выполняет 2 функции: функцию контроля слепых зон и функцию уведомления о движении транспорта в пересекающем направлении позади автомобиля*.

      *: Для моделей с системой уведомления о движении транспорта в пересекающем направлении позади автомобиля

    2. Функция контроля слепых зон и функция уведомления о движении транспорта в пересекающем направлении позади автомобиля* включаются и выключаются одновременно с использованием главного выключателя системы контроля слепых зон (выключателя отмены предупреждения в сборе). Включать или выключать их по отдельности нельзя.

      *: Для моделей с системой уведомления о движении транспорта в пересекающем направлении позади автомобиля

    3. В состав системы контроля слепых зон входят 2 датчика системы контроля слепых зон, датчик положения рулевого колеса, левое и правое наружные зеркала заднего вида в сборе, главный выключатель системы контроля слепых зон (выключатель отмены предупреждения в сборе), переключатель света фар в сборе, зуммер системы контроля слепых зон* и щиток приборов в сборе.

      *: Для моделей с системой уведомления о движении транспорта в пересекающем направлении позади автомобиля

    4. Система контроля слепых зон с помощью датчиков обнаруживает автомобили, движущиеся в слепой зоне, и помогает водителю обеспечить безопасность при перестроении на другие полосы.

      A01MR5NC02
      *1 Левый датчик системы контроля слепых зон *2 Правый датчик системы контроля слепых зон
      *3 Левое наружное зеркало заднего вида в сборе *4 Правое наружное зеркало заднего вида в сборе
      *5 Контрольная лампа наружного зеркала заднего вида - -
      A01MR78 Зона обнаружения - -
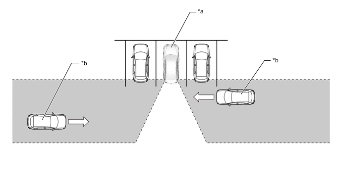
    5. Когда функция уведомления о движении транспорта в пересекающем направлении позади автомобиля обнаруживает автомобиль, движущийся сзади в пересекающем направлении в то время, как управляемый автомобиль движется задним ходом на автостоянке, эта функция предупреждает водителя о ситуации, включая зуммер системы контроля слепых зон и заставляя мигать контрольную лампу наружного зеркала заднего вида, чтобы предоставить водителю информацию для принятия решения.*

      *: Для моделей с системой уведомления о движении транспорта в пересекающем направлении позади автомобиля

      A01MRDFC01
      *a Данный автомобиль *b Отслеживаемый автомобиль
      A01MRET Зона обнаружения - -
  2. МЕРЫ ПРЕДОСТОРОЖНОСТИ


    1. В следующих условиях система контроля слепых зон может не обнаруживать автомобили должным образом:


      1. В плохую погоду, например, при наличии сильного дождя, тумана, снега и т.д.

      2. Если скорости данного автомобиля и автомобиля, попавшего в область обнаружения, сильно различаются.

      3. Когда автомобиль находится в зоне обнаружения в неподвижном состоянии и остается в зоне обнаружения при разгоне.

      4. При движении вверх и вниз по крутым склонам, например, на холмах, по впадине на дороге и т.д.

      5. Если приближается несколько автомобилей, и дистанция между ними мала.

      6. Если полосы движения широкие, и автомобиль в соседней полосе находится слишком далеко от данного автомобиля.

      7. Если автомобиль, попавший в область обнаружения, движется примерно с такой же скоростью, что и данный автомобиль.

      8. Если высоты данного автомобиля и автомобиля, попавшего в область обнаружения, сильно различаются.

      9. При движении по дороге, поверхность которой влажная от дождя, стоячей воды и т.д.

      10. Если задний бампер покрыт льдом, грязью и т.д.

      11. При буксировке чего-либо, например, прицепа, лодки и т.п.

      12. Если сзади автомобиля установлен какой-либо держатель, например, кронштейн для велосипеда и т.п.

      13. Если датчик системы контроля слепых зон был сдвинут из своего установочного положения в результате легкого столкновения или удара бампером.

      14. Сразу же после включения главного выключателя системы контроля слепых зон (выключателя отмены предупреждения).

        Tech Tips

        В данном разделе выражение "данный автомобиль" относится к автомобилю, оборудованному рассматриваемой системой контроля слепых зон.

    2. Система контроля слепых зон не рассчитана на обнаружение автомобилей и объектов следующих типов:


      1. Автомобилей, движущихся в противоположном направлении.

      2. Небольшие мотоциклы, велосипеды, пешеходы и т.д.*

      3. Движущихся позади автомобилей, которые находятся на той же полосе.*

      4. Защитных ограждений, стен, знаков, припаркованных автомобилей и подобных неподвижных объектов.*

      5. Автомобилей, движущихся на расстоянии в 2 полосы от данного автомобиля.*

        *: В зависимости от условий возможно обнаружение автомобиля и/или объекта.

    3. Условия, в которых может повышаться вероятность неправильного обнаружения автомобиля и/или объекта системой контроля слепых зон:


      1. Когда расстояние между данным автомобилем и защитным ограждением, стеной и т.д. мало.

      2. Если полосы движения узкие, и в область обнаружения попадает автомобиль за 2 полосы до данного автомобиля.

      3. Если расстояние между данным автомобилем и автомобилем позади мало.

    4. Датчики системы контроля слепых зон установлены слева и справа внутри заднего бампера автомобиля. Чтобы гарантировать правильную работу системы контроля слепых зон, соблюдайте следующие правила.


      1. Поддерживайте датчик и окружающую его зону на бампере чистыми.

      2. Не подвергайте датчик и окружающую его зону на бампере сильным ударам. Если датчик сместился, даже слегка, система может работать неправильно, и попадающие в область обнаружения автомобили могут не регистрироваться. Если датчик или окружающая его поверхность поверглись сильному удару, поверьте датчик и окружающую поверхность.

      3. Не разбирайте датчик.

      4. Не присоединяйте к датчику и окружающей его зоне на бампере принадлежности и наклейки.

      5. Не модифицируйте датчик и окружающую его зону на бампере.

      6. Запрещается красить задний бампер в какой-либо цвет, не являющийся подлинным цветом Lexus.

      7. Не допускайте сильных ударов датчика и не роняйте его, так как он является прецизионным устройством.

      8. Не используйте повторно датчик, который падал или подвергался сильному удару.

    5. Функция уведомления о движении транспорта в пересекающем направлении позади автомобиля может не обнаруживать автомобили должным образом в следующих условиях:*

      *: Для моделей с системой уведомления о движении транспорта в пересекающем направлении позади автомобиля


      1. В плохую погоду, например, при наличии сильного дождя, тумана, снега и т.д.

      2. В случае приближения автомобиля с высокой скоростью.

      3. При непрерывном приближении нескольких автомобилей.

      4. При парковке на крутом уклоне, например, на холме, во впадине на дороге и т.п.

      5. При невозможности обнаружения автомобилей датчиками из-за наличия препятствий.

      6. При парковке под небольшим углом.

      7. Если задний бампер покрыт льдом, грязью и т.д.

      8. При буксировке чего-либо, например, прицепа, лодки и т.п.

      9. Если датчик системы контроля слепых зон был сдвинут из своего установочного положения в результате легкого столкновения или удара бампером.

      10. Сразу же после включения главного выключателя системы контроля слепых зон (выключателя отмены предупреждения).

        Tech Tips

        В данном разделе выражение "данный автомобиль" относится к автомобилю, оборудованному рассматриваемой системой контроля слепых зон.

    6. Функция уведомления о движении транспорта в пересекающем направлении позади автомобиля не рассчитана на обнаружение автомобилей и объектов следующих типов:*

      *: Для моделей с системой уведомления о движении транспорта в пересекающем направлении позади автомобиля


      1. Автомобилей, приближающихся непосредственно сзади.

      2. Небольшие мотоциклы, велосипеды, пешеходы и т.д.*

      3. Автомобилей, удаляющихся от данного автомобиля.*

      4. Защитных ограждений, стен, знаков, припаркованных автомобилей и подобных неподвижных объектов.*

      5. Автомобилей, которые попадают в зону обнаружения с места стоянки рядом с данным автомобилем.*

        *: В зависимости от условий возможно обнаружение автомобиля и/или объекта.

        Tech Tips

        В данном разделе выражение "данный автомобиль" относится к автомобилю, оборудованному рассматриваемой системой контроля слепых зон.

    7. Условия, в которых повышается вероятность неправильного обнаружения автомобиля и/или объекта функцией уведомления о движении транспорта в пересекающем направлении позади автомобиля:*

      *: Для моделей с системой уведомления о движении транспорта в пересекающем направлении позади автомобиля


      1. При движении управляемого автомобиля задним ходом на место стоянки, обращенное к дороге, функция может обнаруживать автомобили, движущиеся по дороге.

    8. Система контроля слепых зон может ошибочно регистрировать коды DTC C1AC1 и C1AC2 при следующих условиях:


      1. Автомобиль непрерывно движется с включенным главным выключателем системы контроля слепых зон (выключателем отмены предупреждения) при использовании тормозного стенда с беговыми барабанами, например, стенда проверки спидометра, комбинированного стенда для проверки спидометра и тормозов или динамометрического стенда.