СЕНСОРНАЯ СИСТЕМА ПОМОЩИ ПРИ ПАРКОВКЕ LEXUS


  1. НАЗНАЧЕНИЕ ОСНОВНЫХ УСТРОЙСТВ

    Устройство Функция
    ЭБУ предупреждения о недопустимой дистанции в сборе
    • Оценивает приблизительное расстояние между автомобилем и препятствием по сигналам от ультразвуковых датчиков. Передает сигналы в мультиинформационный дисплей или многофункциональный дисплей*.

    • Включает зуммер предупреждения о недопустимой дистанции № 1.

    Ультразвуковой датчик № 1 (6) Определяет расстояние между автомобилем и препятствием.
    Ультразвуковой датчик № 2 (2)
    Зуммер предупреждения о недопустимой дистанции № 1 Подает звуковой сигнал, информируя водителя о дистанции до препятствия.
    Щиток приборов в сборе Контрольная лампа сенсорной системы помощи при парковке LEXUS Включаясь, информирует водителя о выполнении условий для работы системы.
    Мультиинформационный дисплей
    • Показывает положение препятствия и приблизительное расстояние между автомобилем и препятствием.

    • Отображает сообщение о неисправности или обледенении ультразвукового датчика, предупреждая водителя.

    Главная контрольная лампа аварийного состояния Включается в соответствии с данными индикации на мультиинформационном дисплее
    Многофункциональный дисплей в сборе*
    • Отображает положение препятствия и приблизительное расстояние между автомобилем и препятствием.

    • Отображает сообщение о неисправности или обледенении ультразвукового датчика, предупреждая водителя.

    • На экране настройки сенсорной системы помощи при парковке Lexus можно установить громкость звукового сигнала, дистанцию, при которой должен включаться зуммер, а также расстояние, при котором должен переключаться дисплей.

    Радиоприемник в сборе Передает сигнал настройки для сенсорной системы помощи при парковке Lexus в ЭБУ предупреждения о недопустимой дистанции.
    Задний ультразвуковой датчик или выключатель системы ультразвуковой локации в сборе Этот выключатель позволяет разрешить/запретить работу сенсорной системы помощи при парковке Lexus.
    Главный ЭБУ кузова (бортовой ЭБУ сети мультиплексной связи) Передает сигнал рынка сбыта модели (данные, указывающие рынок, для которого был создан автомобиль) в ЭБУ предупреждения о недопустимой дистанции в сборе.
    ЭБУ сетевого шлюза Передает данные между шиной V CAN и вспомогательной шиной 2 CAN.
    Датчик положения рычага переключения передач Передает сигнал положения рычага переключения передач в ЭБУ гибридной системы.
    ЭБУ гибридной системы в сборе. Передает в ЭБУ предупреждения о недопустимой дистанции в сборе сигнал положения рычага переключения передач.
    *: Для моделей с системой навигации или аудиосистемой с дисплеем Lexus
  2. УПРАВЛЕНИЕ В СИСТЕМЕ


    1. Зона обнаружения


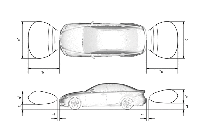
      1. На следующем рисунке показаны зоны обнаружения ультразвуковых датчиков.

      2. Эти зоны обнаружения применимы в тех случаях, когда шест диаметром 60 мм (2,36 дюйма) располагается параллельно или перпендикулярно поверхности земли. Конкретные значения зависят от метода измерения и типа препятствия.

        Figure 1. Угловые зоны

        A01MRCMC01
        *a Приблизительно 850 мм (33,5 дюйма) *b Приблизительно 500 мм (19,7 дюйма)
        *c Приблизительно 600 мм (23,6 дюйма) *d Приблизительно 950 мм (37,4 дюйма)
        *e Приблизительно 450 мм (17,7 дюйма) *f Приблизительно 200 мм (7,87 дюйма)

        Note

        Зона распознаваемых дистанций ультразвукового датчика на виде сбоку (обозначенная *1) представляет собой сечение по линиям A распознаваемых дистанций на виде сверху. Зона *1 не отражает весь диапазон распознаваемых дистанций на виде сбоку.

        Figure 2. Центральные зоны

        A01MR8NC01
        *a Приблизительно 1900 мм (74,8 дюйма) *b Приблизительно 1000 мм (39,4 дюйма)
        *c Приблизительно 1350 мм (53,1 дюйма) *d Примерно 1800 мм (70,9 дюйма)
        *e Приблизительно 600 мм (23,6 дюйма) *f Приблизительно 200 мм (7,87 дюйма)
    2. Условия работы каждого датчика различаются в зависимости от положения его установки, как показано в следующей таблице.

      Установочное положение Условия работы
      Передний угловой
      • Выключатель питания находится в состоянии ON (ВКЛ) (IG).

      • Система активирована.

      • Рычаг переключения передач находится в любом положении, кроме P.

      • Скорость автомобиля приблизительно 10 км/час (6 миль в час) или менее.

      Передний центральный
      • Выключатель питания находится в состоянии ON (ВКЛ) (IG).

      • Система активирована.

      • Рычаг переключения передач установлен в какое-либо положение помимо P или R.

      • Скорость автомобиля приблизительно 10 км/час (6 миль в час) или менее.

      Задний угловой
      • Выключатель питания находится в состоянии ON (ВКЛ) (IG).

      • Система активирована.

      • Рычаг переключения передач в положении R.

      Задний центральный
      • Выключатель питания находится в состоянии ON (ВКЛ) (IG).

      • Система активирована.

      • Рычаг переключения передач в положении R.

  3. ДИАГНОСТИКА


    1. При обнаружении неисправности системы в памяти ЭБУ предупреждения о недопустимой дистанции сохраняются диагностические коды неисправности (DTC). Более подробную информацию см. в Руководстве по ремонту.