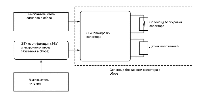
СИСТЕМА БЛОКИРОВКИ СЕЛЕКТОРА

A0111GIE03