ТОПЛИВНАЯ СИСТЕМА


  1. КОНСТРУКЦИЯ


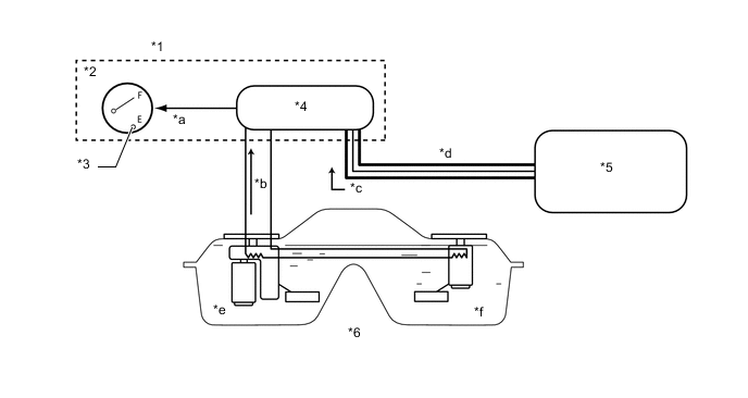
    1. Датчики уровня топлива установлены последовательно в камере A и в камере B и обеспечивают точную информацию об объеме топлива в седлообразном топливном баке. Датчики уровня топлива передают в щиток приборов данные об уровне топлива в каждой камере.

    2. ECM передает в ЭБУ щитка приборов информацию об управлении SFI. ЭБУ щитка приборов рассчитывает оставшийся объем топлива по сигналам 2 датчиков уровня топлива, и ECM приводит в действие указатель уровня топлива.

      A0111EYC01
      *1 Щиток приборов в сборе *2 Топливный расходомер
      *3 Контрольная лампа низкого уровня топлива *4 ЭБУ щитка приборов
      *5 ECM *6 Топливный бак в сборе
      *a Сигнал управления указателем уровня топлива *b Информационный сигнал объема топлива
      *c Информационный сигнал о впрыске топлива *d CAN (шина V)
      *e Камера A *f Камера B