ТОПЛИВНАЯ СИСТЕМА


  1. КОНСТРУКЦИЯ


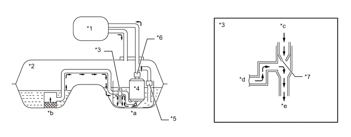
    1. Вследствие такой формы топливного бака при низком уровне топлива последнее остается как в камере A, так и в камере B. В результате топливо перестает откачиваться из камеры B. Чтобы избежать такой ситуации, в бак установлен насос-эжектор, перекачивающий топливо из камеры B в камеру A.

    2. Это достигается за счет такого использования потока топлива через эжектор, при котором разность давлений, создаваемая топливом при прохождении через трубку Вентури, обеспечивает откачивание топлива из камеры B и передачу его в камеру A.

      A0111HOC02
      *1 Engine *2 Топливный бак в сборе
      *3 Насос-эжектор *4 Топливный насос в сборе (низкого давления)
      *5 Регулятор давления топлива в сборе *6 Топливный фильтр в сборе
      *7 Трубка Вентури - -
      *a Камера A *b Камера B
      *c От топливного насоса в сборе (низкого давления) *d Из камеры B
      *e В камеру A - -