ENGINE UNIT


  1. CONSTRUCTION


    1. A crankshaft made of forged steel, which excels in rigidity and wear resistance, is used.

    2. The crankshaft has 4 bearing journals and 5 balance weights.

      A01MQQ7C01
      *1 No. 1 Bearing Journal *2 No. 2 Bearing Journal
      *3 No. 3 Bearing Journal *4 No. 4 Bearing Journal
      *5 Balance Weight - -
      B003SJ8 Engine Front - -
    3. The crankshaft bearings are made of aluminum alloy.

    4. The crankshaft bearings are reduced in width to reduce friction.

    5. Similar to the connecting rod bearings, the lining surface of the crankshaft bearings is micro grooved to achieve an optimal amount of oil clearance. As a result, cold-engine cranking performance is improved and engine vibration is reduced.

    6. The upper crankshaft bearings have an oil groove around the inside circumference.

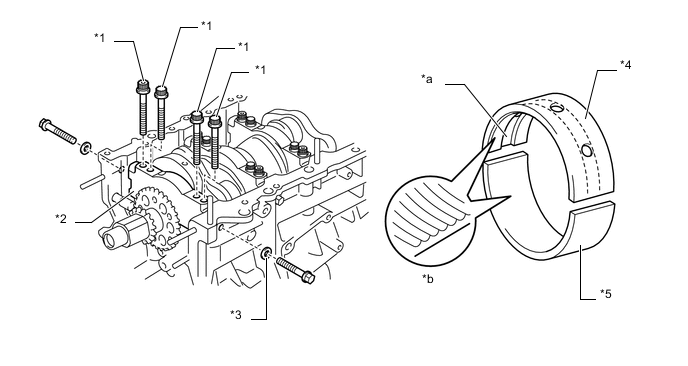
    7. The crankshaft bearing caps are tightened using 4 plastic region tightening bolts (crankshaft bearing cap set bolts) for each journal. In addition, each cap is tightened laterally to improve its reliability.

      A01MR2XC01
      *1 Plastic Region Tightening Bolt (Crankshaft Bearing Cap Set Bolt) *2 Crankshaft Bearing Cap
      *3 Seal Washer *4 Upper Crankshaft Bearing
      *5 Lower Crankshaft Bearing - -
      *a Oil Groove *b Micro-grooved Surface