КОНСТРУКЦИЯ КУЗОВА


  1. ФУНКЦИИ


    1. Конструкция, амортизирующая удар при лобовом столкновении


      1. Применяемая конструкция обеспечивает эффективное поглощение энергии удара, распределяет удар и минимизирует деформацию салона при лобовом столкновении.


        • Усиление панели порога № 1 изготавливается из листовой стали сверхвысокой прочности (класса 980 МПа). Кроме того, усиление панели порога № 1 дополнено укрепляющим усилением. Это позволяет ослабить деформацию кабины из-за продольного наклона автомобиля при непрямом лобовом столкновении.

        • Передний конец порога (наружный удлинитель порога) выступает вперед, принимая на себя ударную нагрузку, поступающую от шин при непрямом лобовом столкновении, и амортизируя удар, что позволяет ослабить деформацию кузова по краю кабины.

        • Нижнее усиление передней стойки кузова и наружное усиление передней стойки кузова имеют конструктивное перекрытие, что обеспечивает разделение сверху и снизу одновременно для усиления части передней стойки кузова, благодаря чему ослабляется деформация кузова по краю кабины (обусловленная ударной нагрузкой, поступающей от шин при непрямом лобовом столкновении).

        • Усиление внутренней панели передней двери изготавливается из высокопрочной листовой стали (класса 590 МПа). Кроме того, продольная стенка усиления внутренней панели передней двери сильнее смещена внутрь, чем центр масс, что позволяет ослабить деформацию двери под действием усилия сжатия при непрямом лобовом столкновении.

        A0120IQC02
        *1 Усиление панели порога № 1 *2 Усиление панели порога № 4
        *3 Наружный удлинитель передней стойки кузова *4 Нижнее усиление передней стойки кузова
        *5 Усиление внутренней панели передней двери - -
        *a Сечение A - A *b Сечение B - B
        *c Сечение C - C - -
        A01MR3J Удар A01MQU0 Путь распространения энергии столкновения
    2. Конструкция, амортизирующая удар при боковом столкновении


      1. Применяемая конструкция обеспечивает эффективное поглощение энергии удара, распределяет удар и минимизирует деформацию салона при боковом столкновении.


        • Все части каркаса кузова изготавливаются из горячештампованной стали (класса 1500 МПа), листовой стали сверхвысокой прочности (класса 980 МПа) и высокопрочной листовой стали (класса 590 МПа), что гарантирует защиту при боковых столкновениях, а также обеспечивает облегчение и упрощение конструкции.

          Tech Tips

          Горячештампованная сталь представляет собой высокоупрочненный материал, который получается путем одновременного обеспечения штамповки и охлаждения горячей стали и последующей ее закалки.


          • Верхнее усиление средней стойки кузова изготавливается из горячештампованной стали (класса 1500 МПа). Кроме того, внутри верхнего усиления средней стойки кузова располагается усиление верхней петли средней стойки кузова из высокопрочной листовой стали (класса 590 МПа).

          • Боковой брус крыши изготавливается из горячештампованной стали (класса 1500 МПа).

          • Центральное усиление панели крыши изготавливается из высокопрочной листовой стали (класса 590 МПа).

            A01200NC01
            *1 Центральное усиление панели крыши *2 Боковой брус крыши
            *3 Наружная панель кузова над ветровым стеклом *4 Внутренняя панель кузова над ветровым стеклом
            *5 Усиление панели приборов в сборе *6 Передний щиток в сборе
            *7 Поперечина переднего пола *8 Боковая поперечина переднего пола
            *9 Поперечина центрального пола *10 Верхнее усиление средней стойки кузова
            *11 Усиление верхней петли средней стойки кузова *12 Наружная панель порога
            *13 Задняя центральная поперечина пола в сборе *14 Разделительную панель салона в сборе
            *15 Верхняя внутренняя рама заднего окна *16 Рама заднего окна
            A01MR3J Удар A01MQU0 Путь распространения энергии столкновения
        • Усиление панели порога № 1 изготавливается из листовой стали сверхвысокой прочности (класса 980 МПа), а наружная панель порога и усиление панели порога № 1, которые находятся внутри усиления панели порога № 1, – из высокопрочной листовой стали (класса 590 МПа). Для сдерживания разрушения порога в поперечном сечении при боковом столкновении были увеличены длины спереди и сзади, благодаря чему уменьшается проникновение средней стойки кузова в салон.

        • Усиление панели порога № 1 дополнено перегородкой. Кроме того, для передачи нагрузки с бокового защитного бруса задней двери с внутренней стороны располагается усиление из твердой смолы (внутренняя задняя защита панели порога), что ослабляет проникновение задней двери при боковом столкновении.

        • Увеличение толщины бокового защитного бруса задней двери позволило уменьшить проникновение задней двери в салон при боковом столкновении.

        A0120GFC03
        *1 Усиление верхней петли средней стойки кузова *2 Верхнее усиление средней стойки кузова
        *3 Наружная панель порога *4 Усиление панели порога № 1
        *5 Боковой брус крыши *6 Боковой защитный брус задней двери
        *7 Внутренняя задняя защита панели порога - -
        *a Сечение A - A *b Сечение B - B
        *c Сечение C - C *d Сечение D - D
        *e Часть бокового бруса крыши *f Часть средней стойки кузова
        *g Часть порога *h Часть заднего порога
        *i Перегородка - -

        • Ударная нагрузка, поступающая от средней стойки кузова при боковом столкновении, передается либо на кронштейн ЭБУ, закрепленный на центральном туннеле панели переднего пола в сборе, либо на его верхнюю часть через усиление поперечины переднего пола в сборе, подушку раздельного переднего сиденья и соединительную тягу. В результате оптимизируется распределение ударной нагрузки, что уменьшает степень деформации кузова при боковом столкновении.

        • На моделях с обычной крыши для уменьшения степени проникновения бокового бруса за счет передачи и распределения нагрузки в сторону, противоположную удару, в верхней части средней стойки располагаются центральное усиление панели крыши (из высокопрочной листовой стали (класса 590 МПа)) и кронштейн усиления панели крыши № 2, что обеспечивает снижение степени деформации кузова при боковом столкновении.

        • Внутри панели двери предусмотрена жесткая подкладка передней двери, которая повышает эффективность передачи ударной нагрузки, что нацелено на уменьшение степени тяжести травм.

        • В панели облицовки передней двери в сборе предусмотрена нижняя облицовочная накладка передней двери, которая ослабляет воздействие ударной нагрузки на пассажиров при боковом столкновении, что нацелено на уменьшение степени тяжести травм.

        • Положение, форма и жесткость плечевой части панели облицовки передней двери в сборе и подлокотника передней двери в сборе оптимизированы для ослабления воздействия ударной нагрузки на водителя и передних пассажиров при боковом столкновении, что нацелено на уменьшение степени тяжести травм.

        A0120I9C01
        *1 Центральное усиление панели крыши *2 Кронштейн усиления панели крыши № 2
        *3 Панель облицовки передней двери в сборе *4 Наружная панель передней двери
        *5 Жесткая подкладка передней двери *6 Нижняя облицовочная накладка передней двери
        *7 Подушка раздельного переднего сиденья *8 Усиление поперечины переднего пола в сборе
        *9 Шатун *10 Центральный туннель панели переднего пола в сборе
        *11 Кронштейн ЭБУ - -
        A01MR3J Удар A01MQU0 Путь распространения энергии столкновения
    3. Ослабление травмы головы пешехода


      1. Кузов, спроектированный из соображений снижения степени тяжести травм пешеходов, уменьшает ущерб, наносимый пешеходам в случае столкновения. Вокруг переднего крыла, панели капота, верхней панели кожуха и переднего бампера используется энергопоглощающая конструкция, которая поглощает энергию удара, действующего на голову и ноги пешехода.

      2. На новых моделях предусмотрен активный капот, позволяющий уменьшить травмы пешехода при столкновении с панелью капота двигателя. Активный капот обеспечивает не только защиту пешехода, но и спортивный внешний вид.


        1. Активный капот


          1. Когда передний бампер сталкивается с каким-либо объектом, энергию удара принимает на себя камера обнаружения пешеходов в сборе в облицовке переднего бампера. Датчики давления (левый/правый датчик системы защиты пешеходов) регистрируют столкновение и передает сигнал столкновения в блок управления системы SRS в сборе.

          2. Блок управления системы SRS в сборе определяет, произошло или нет столкновение, по сигналам от датчиков давления (левого/правого датчика системы защиты пешеходов) и передает сигнал зажигания в подъемник активного капота в сборе, смонтированный под петлей капота.

          3. При получении сигнала зажигания от блока управления системы SRS в сборе подъемник активного капота в сборе выталкивает вверх поршень, заставляя заднюю часть капота быстро подниматься, в результате чего создается зазор между панелью капота и верхней частью двигателя. Это позволяет ослабить удар, действующий на пешехода, например, на его голову.

            A01205LC04
            *1 Панель капота *2 Петля капота
            *3 Камера обнаружения пешеходов в сборе *4 Правый датчик обнаружения пешеходов
            *5 Левый датчик обнаружения пешеходов *6 Подъемник активного капота в сборе
            *7 Центральный блок управления системы SRS - -
            *a Поднятое состояние *b Неподнятое состояние
        2. Панель капота


          1. Внутренняя панель капота имеет конструктивные вертикальные утолщения, которые призваны ослабить удар головы и др. частей пешехода в случае столкновения с ним. Кроме того, высота и наклон утолщений оптимизированы, что позволило обеспечить высокую степень ослабления удара несмотря на тонкую конструкцию капота в сборе.

          2. В конце внутренней панели капота предусмотрены утолщения, которые образуют базовые точки сгибания. В результате конструкция сгибается, легко деформируясь в базовых точках, создаваемых концевым выступом внутренней панели капота, и утолщениях рядом с основанием зацепа замка капота, когда пешеход ударяется о конец капота бедренной частью, что обеспечивает ослабление удара о бедренную часть пешехода.

            A0120BGC05
            *1 Внутренняя панель капота *2 Усиление панели капота
            *3 Панель капота *4 Зацеп замка капота
            *5 Основание зацепа замка капота - -
            *a Сечение A - A *b Линия сгиба
            *c Валик *d Выступ
            *e До столкновения *f После поглощения удара
            A01MR3J Удар - -
        3. Переднее крыло


          1. Верхняя защита переднего крыла имеет легкосгибаемую конструкцию. При ударе головы пешехода и т.п. о капот в сборе верхняя защита переднего крыла изгибается, чтобы снизить силу противодействия, действующую на голову и др. части со стороны капота в сборе, и тем самым ослабить удар пешехода.

            A012002C03
            *1 Верхняя защита переднего крыла *2 Капот
            *3 Панель переднего крыла *4 Панель капота
            *5 Внутренняя панель капота - -
            *a Сечение A - A *b Легкосгибаемая конструкция
        4. Верхняя панель кожуха


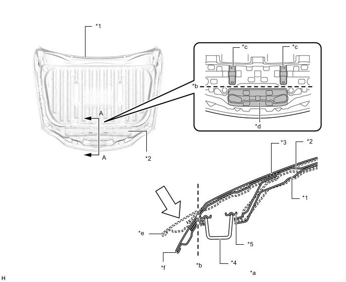
          1. Благодаря тому, что на передней наружной верхней панели кожуха в сборе предусмотрены точки сгиба, а конструкция является легко сминаемой, энергия, поступающая с ожидаемого направления в область головы при столкновении, поглощается более эффективно, при этом удалось добиться сокращения количества зон, которые остаются не полностью смятыми. В результате ослабляется ударное воздействие в область головы и др. области при столкновении с пешеходом.

            A0120KZC03
            *1 Наружная передняя панель в верхней части кожуха - -
            *a Сечение A - A *b После столкновения
            A01MR3J Удар - -
    4. Конструкция, амортизирующая удар при заднем столкновении


      1. Конструкция усиления заднего бампера обеспечивает высокую степень ослабления удара.

        A0120KGC02
        *1 Усиление опоры заднего бампера *2 Усилитель заднего бампера
        *a Сечение A - A *b Валик