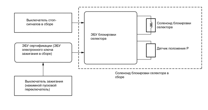
СИСТЕМА БЛОКИРОВКИ СЕЛЕКТОРА

A01MQV6E01