ТОПЛИВНАЯ СИСТЕМА


  1. КОНСТРУКЦИЯ


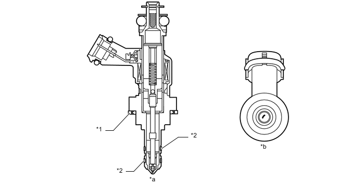
    1. Топливная форсунка в сборе


      1. В системе непосредственного впрыска 4-тактного бензинового двигателя (D-4) применяются топливные форсунки высокого давления с щелевым соплом.

      2. Каждая форсунка, исходя из сигналов ECM, дозирует подачу топлива под высоким давлением. Через щелевое сопло топливо веерной струей впрыскивается непосредственно в камеру сгорания в виде мелкой топливной пыли.

      3. В месте контакта форсунки с головкой блока цилиндров установлен изолятор, а для предотвращения проникновения в форсунку давления сгорания из цилиндра применяется тефлоновое уплотнение вала. Такая конструкция позволяет снизить вибрации и шум, и повысить герметичность.

      4. Наконечник каждого сопла имеет покрытие, препятствующее образованию налета.

      5. Форсунки приводятся в действие EDU с помощью сигналов высокого напряжения с постоянным током в соответствии с командами от ECM. Такое управление позволяет форсункам впрыскивать топливо под высоким давлением в течение короткого времени.

        A0120HEC02
        *1 Изолятор *2 Тефлоновое уплотнение вала
        *a Сечение топливной форсунки *b Распылитель форсунки
    2. Топливная форсунка для холодного запуска (для моделей с топливной форсункой для холодного запуска)


      1. Топливная форсунка для холодного запуска используется для улучшения характеристик холодного запуска двигателя. Она устанавливается в уравнительном бачке впускного коллектора и впрыскивает топливо во время запуска двигателя при низкой температуре охлаждающей жидкости.

        A0120ECC02
        *1 Уравнительный бачок воздухозаборника в сборе *2 Топливная форсунка для холодного запуска в сборе
        *3 Прокладка - -
        *a Поперечное сечение топливной форсунки для холодного запуска в сборе - -