СИСТЕМА ВПУСКА


  1. КОНСТРУКЦИЯ


    1. Для достижения высокой мощности двигателя, высокого крутящего момента и низкой токсичности отработавших газов используется турбонагнетатель.

    2. Используется эффективный турбонагнетатель с двухспиральной конструкцией, предотвращающий взаимное влияние выпусков цилиндров и обеспечивающий высокую мощность двигателя и высокий крутящий момент во всех диапазонах частоты вращения — от низкой до высокой.

    3. В турбонагнетателе используется регулятор давления наддува. Когда автомобиль движется с низкой нагрузкой (нет необходимости в наддуве), регулятор давления наддува открывается, чтобы уменьшить обратное давление и снизить насосные потери на ходе выпуска. Кроме того, регулятор давления наддува открывается во время запуска, чтобы уменьшить время прогрева каталитического нейтрализатора.

    4. Регулятор давления наддува открывается ниже по потоку, чтобы обеспечить подачу газа с высокой температурой непосредственно в трехкомпонентный каталитический нейтрализатор (TWC). В результате улучшаются характеристики прогрева TWC во время запуска, а также снижается токсичность отработавших газов.

      Tech Tips

      При запуске двигателя рядом с регулятором давления наддува, который используется для быстрого прогрева каталитического нейтрализатора, возникает звук, но это не является признаком неисправности турбонагнетателя. По завершении прогрева двигателя звук пропадает.

    5. В турбонагнетателе используется электрический перепускной клапан воздуха, чтобы предотвратить явление помпажа*. Когда дроссельная заслонка закрывается при отпущенной педали акселератора, давление между турбонагнетателем и дроссельной заслонкой увеличивается. Когда перепускной клапан воздуха открывается, это давление подается далее к турбонагнетателю.

      Tech Tips

      *Явление помпажа: Это явление заключается в обратном движении потока воздуха на впуске. В результате при замедлении легко может появляться ненормальный шум.

      A01MQV2C01
      *1 Турбонагнетатель в сборе *2 Перепускной клапан воздуха
      *3 Привод *4 Регулятор давления наддува
      *5 Обмотка *6 Шток
      *7 Клапан *8 Компрессорное колесо
      *9 Колесо турбины - -
      *a Вид A *b Сечение клапана перепуска воздуха
      *c Отработавшие газы (из цилиндров № 2 и № 3) *d Отработавшие газы (из цилиндров № 1 и № 4)
      *e Перепускаемые газы *f Воздух на впуске
  2. ПРИНЦИП РАБОТЫ


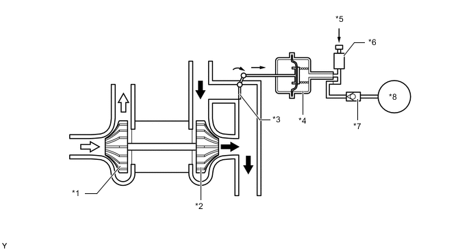
    1. Регулятор давления наддува


      1. Когда двигатель остановлен, регулятор давления наддува открыт.

      2. Когда клапан управления разрежением прекращает подачу разрежения к приводу в соответствии с сигналами от ECM, привод посредством тяги открывает регулятор давления наддува.

        A01MQT9C03
        *1 Компрессорное колесо *2 Колесо турбины
        *3 Регулятор давления наддува *4 Привод
        *5 ECM *6 Клапан управления разрежением в сборе
        *7 Обратный клапан № 2 *8 Вакуумный насос в сборе
        A01MQU0 Отработавшие газы A01MR3J Intake Air
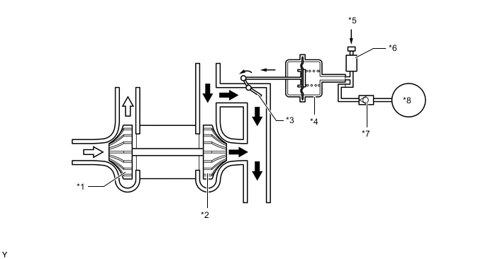
      3. Когда клапан управления разрежением подает разрежение к приводу в соответствии с сигналами от ECM, привод посредством тяги закрывает регулятор давления наддува.

        A01MQP2C03
        *1 Компрессорное колесо *2 Колесо турбины
        *3 Регулятор давления наддува *4 Привод
        *5 ECM *6 Клапан управления разрежением в сборе
        *7 Обратный клапан № 2 *8 Вакуумный насос в сборе
        A01MQU0 Отработавшие газы A01MR3J Intake Air
      4. Степень создаваемого разрежения определяется углом открывания регулятора давления наддува.

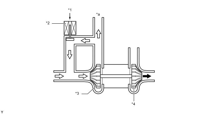
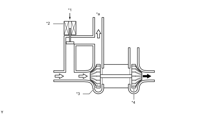
    2. Перепускной клапан воздуха


      1. Клапан перепуска воздуха открывается в соответствии с сигналами от ECM и регулирует давление между турбонагнетателем и дроссельной заслонкой, которое увеличивается, когда дроссельная заслонка, установленная перед турбонагнетателем, закрыта.

        Figure 1. Клапан перепуска воздуха закрыт

        A01MQX8C03
        *1 ECM *2 Перепускной клапан воздуха
        *3 Компрессорное колесо *4 Колесо турбины
        *a К корпусу дроссельной заслонки с электродвигателем в сборе - -
        A01MQU0 Отработавшие газы A01MR3J Intake Air

        Figure 2. Клапан перепуска воздуха открыт

        A01MR07C03
        *1 ECM *2 Перепускной клапан воздуха
        *3 Компрессорное колесо *4 Колесо турбины
        *a К корпусу дроссельной заслонки с электродвигателем в сборе - -
        A01MQU0 Отработавшие газы A01MR3J Intake Air