СИСТЕМА SFI


  1. КОНСТРУКЦИЯ


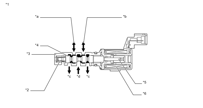
    1. Гидравлический клапан изменения фаз управляет золотниковым клапаном в соответствии с сигналом заданной продолжительности включения, поступающими от ЭБУ. В результате на зубчатое колесо распредвала со стороны опережения или стороны запаздывания действует гидравлическое давление. Когда двигатель останавливается, гидравлический клапан изменения фаз на впуске смещается в положение запаздывания, а на выпуске – в положение опережения.

      A012066C04
      *1 Гидравлический клапан изменения фаз в сборе (на впуске) *2 Пружина
      *3 Втулка *4 Золотниковый клапан
      *5 Плунжер *6 Обмотка
      *a К зубчатому колесу распредвала в сборе (контроллеру VVT-i) (со стороны опережения)* *b К зубчатому колесу распредвала в сборе (контроллеру VVT-i) (со стороны запаздывания)*
      *c Слив *d Давление масла

      *: В гидравлическом клапане изменения фаз на выпуске положения запаздывания и опережения изменены на противоположные.